Submitted:
13 January 2026
Posted:
14 January 2026
You are already at the latest version
Abstract
Keywords:
1. Introduction
1.1. Feedstock for Hydrogen Production
1.2. Hazard and Risk
1.3. Liquid Rocket Engine Cooling
1.4. Engine Performance
1.5. Methane Standard and Launch Vehicle Development Cost
1.6. Advantages of Natural Gas/Methane
- Significantly important feedstock, particularly for grey and blue hydrogen production. Cooperative to the civil industrial system rather than limited to a specific field, with high fuel availability.
- Enable turquoise hydrogen production through methane pyrolysis without carbon dioxide. It is a method that enables the reuse of byproducts in various applications, such as carbon nanotubes and electrolytes. There is good potential to develop a closed-loop life cycle.
- Low cost compared to hydrogen and kerosene.
- It is feasible to adopt an intermediate common tank, as methane and liquid oxygen have similar boiling temperatures at standard atmospheric conditions. Enable a self-pressuring tank, heated methane recirculates back to the tank and can be used as pressurised fluid.
- The methane rocket has a higher density impulse than hydrogen and a higher impulse-to-weight ratio than kerosene.
- A high threshold wall temperature is compatible with a regenerative cooling engine in a high-pressure system. Compatible with partially reusable launch vehicles and expendable launch vehicles.
- Referenceable and manageable standard with relevant specification.
2. Existing Literature Review
3. Guidance System for a Vertical Take-Off Launch Vehicle System
4. Literature Review Methodology
4.1. Methodology
4.2. Contribution
- To provide insight into how fuel injectors for liquid rocket engines are preliminarily designed, analysed, and manufactured.
- Investigating a variety of design aspects that must be considered. For example: mission requirements, fuel properties requirements, fuel flow characteristics, engine cycle type, and engine system specifications.
- Investigating a variety of patents for the fuel injection elements and providing conceptual design and details of working processes. These contents are important for guiding the setup of a numerical study and the conduct of focused experimental research.
- Providing insight into the development state of the art and exploring a variety of working principles for closed-cycle liquid rocket engines. Encourage innovation and the development of new or modified engine cycles to reduce emissions, such as Carbon dioxide.
- Providing specified research questions by identifying the research gaps in the academic field.
5. Launch Vehicle Guidance
5.1. Guidance System for Saturn-V, Space Shuttle and SLS
“Guidance is about the determination of the maneuvering commands to steer the vehicle to fly a trajectory that satisfies the specified terminal/targeting condition as well as other pertinent constraints, and, if required, optimizes a defined performance.”
5.2. Guidance System for Falcon 9
5.3. Guidance System for Atlas/Centaur/Titan/Centaur and Delta
5.4. Guidance System for CZ-3/CZ-8/CZ-5
5.5. Guidance System for Ariane 5/Ariane 6
5.6. Guidance System for PSLV/GSLV
5.7. Explicit Perturbation Guidance Method
5.8. Iterative Guidance Mode
5.9. Powered Explicit Guidance and OPGUID
5.10. Closed Looop Guidance
5.11. Landing/Entry Guidance Method for Reusable Launch Vehicles

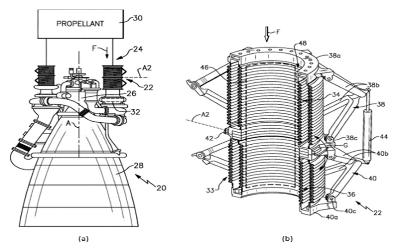
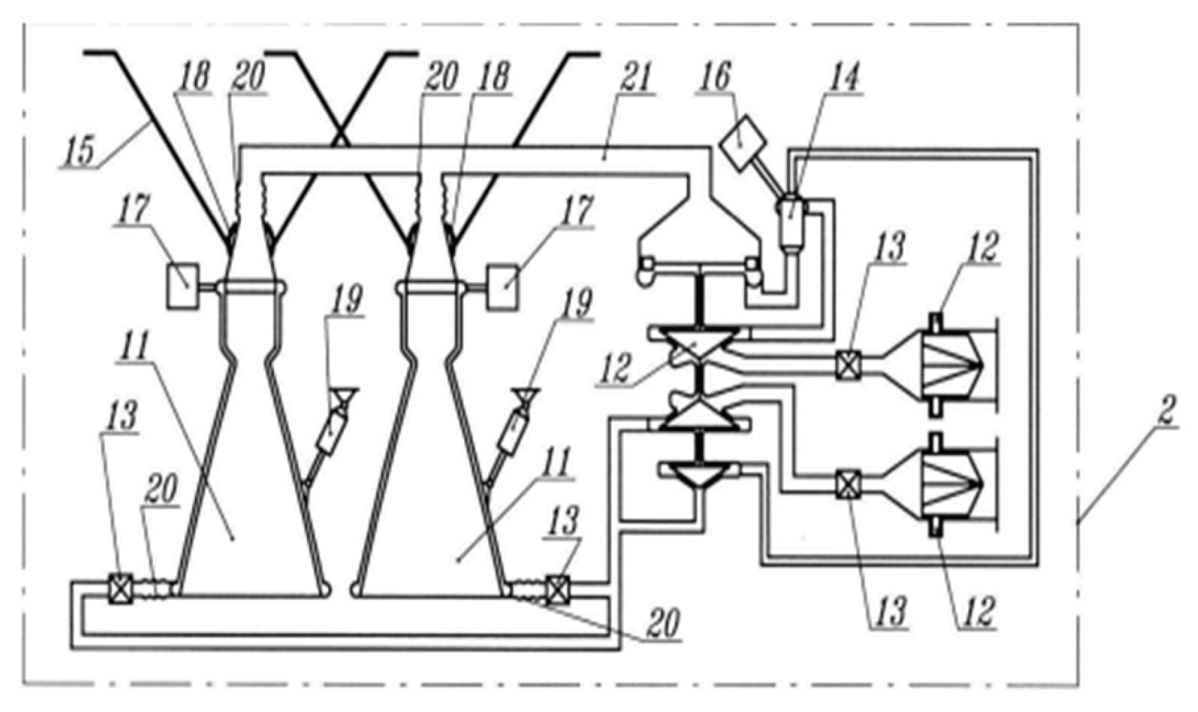
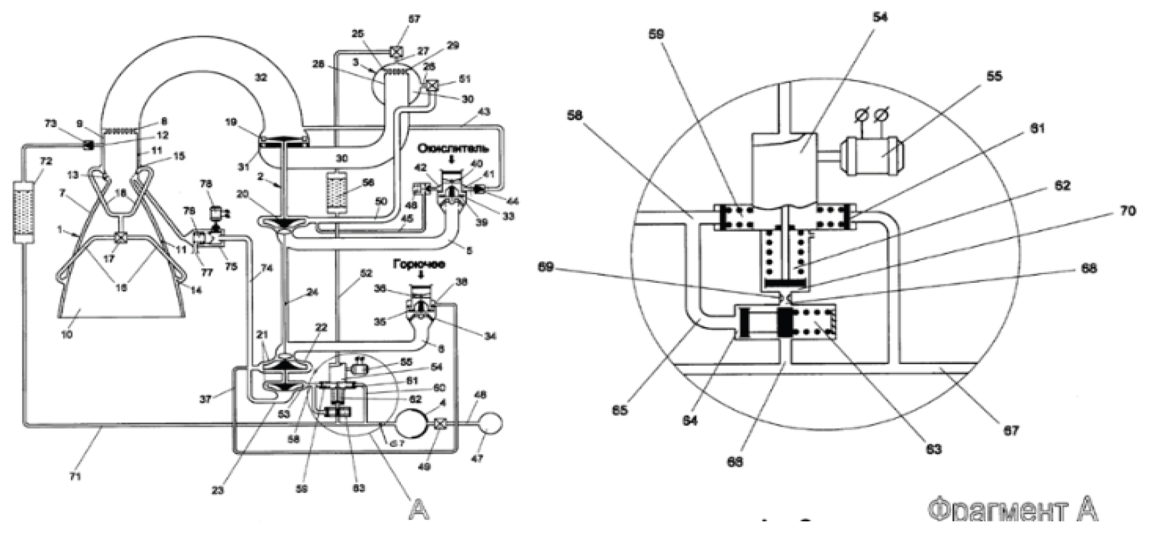
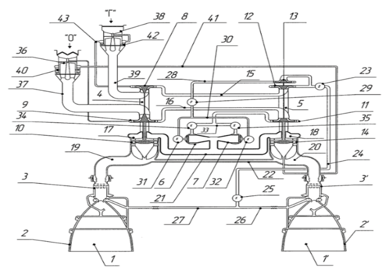
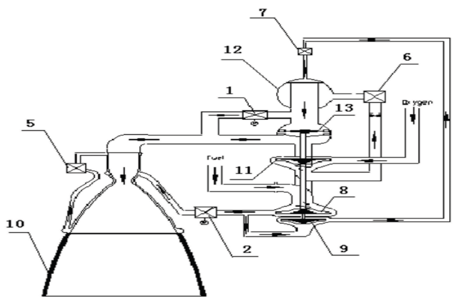
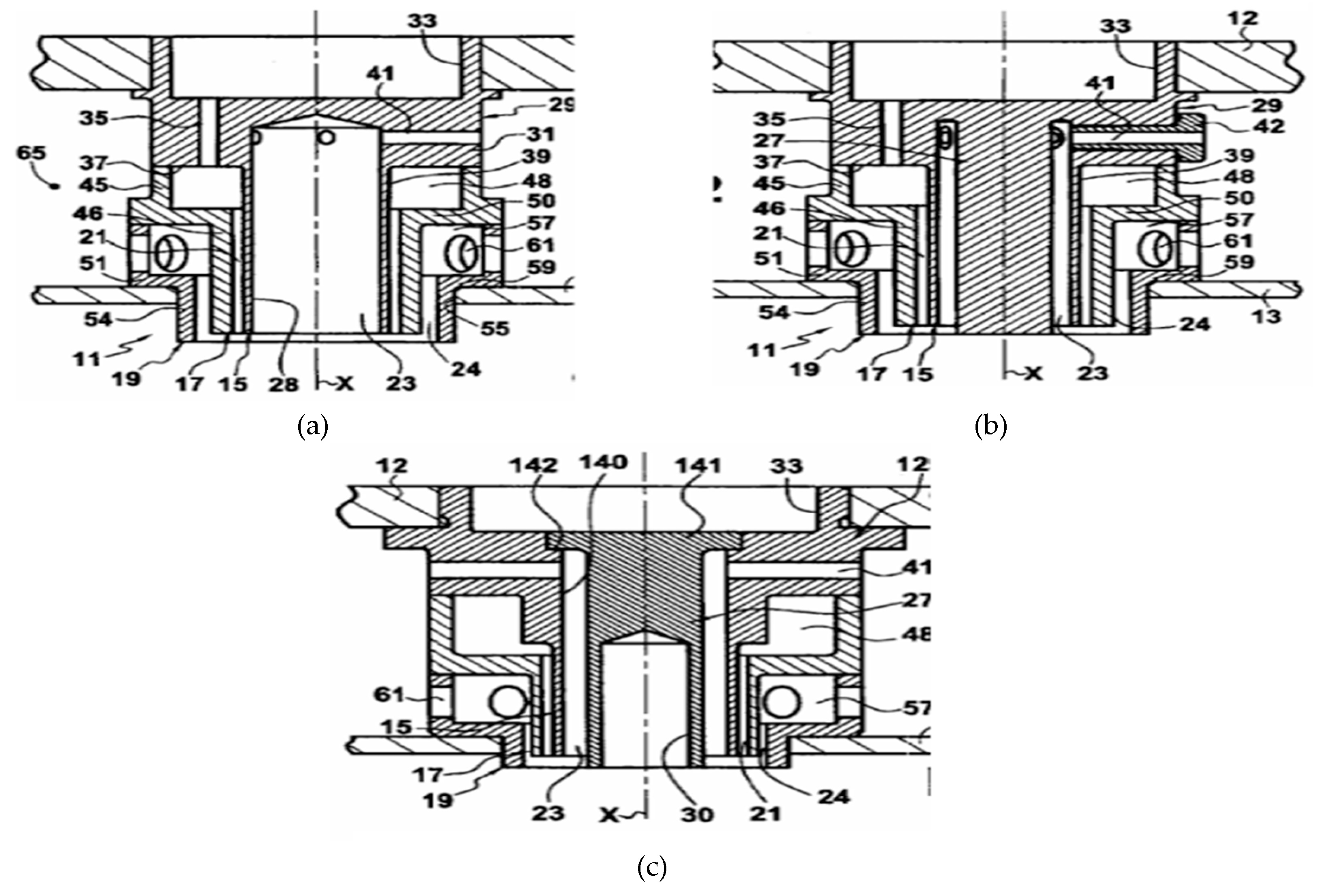
6. Liquid Rocket Engine Gimbaling
6.1. Pump Rear Swing Gimbaling
6.2. Pump Front Swing Gimbaling



6.3. Thrust Throttling Method


6.4. Summary of Injector Design Requirements from the Engine System
- Nominal operation condition
- Upper limit operation condition
- Low limit operation condition
- Engine performance limitation requirement (Reliability tests)
7. Mass Flow Rate Characteristics
7.1 Mixture Ratio Distribution
7.2. Summary of the Effect of Mixture Ratio and Flow Rate Characteristics
- Propellant residence time: the single fuel injection element and the full-scale mixing head design influence propellant residence time within the mixing head cavity. The length of the post-tube also affects the rate at which turbulent flow is fully developed and the time required for propellants to reach their steady state.
- Mass flow rate calibration: Cryogenic propellant in a single-phase state must also be calibrated using a 1D model. Develop a two-phase outflow model, which is also important under startup conditions.
- Inert gas flow requirement: For liquid propellant with spray atomisation, mixing of the fuel and inert gases to form an emulsified mixture can increase disturbance and improve atomisation. Assisting inert gas injection at the low pump outlet pressure during thrust throttling will increase the pressure drop across the injectors, maintaining the combustion stability margin.
- Propellant flow rate distribution: Influence on the heat release in the local injection plane section and the temperature distribution.
7.3. Research on the Effect of Methane/Hydrogen Injection Conditions on the Liquid Rocket Engine Associated with the European Space Launch Vehicle System

7.4. Research on the Effect of Methane/Hydrogen Injection Conditions on the Liquid Rocket Engine Associated with China
7.5. Research on the Effect of Methane/Hydrogen Injection Conditions on the Liquid Rocket Engine Associated with ISRO
7.6. Research on the Effect of Methane/Hydrogen Injection Conditions on the Liquid Rocket Engine Associated with Japan
7.7. Research on the Effect of Methane/Hydrogen Injection Condition on the Liquid Rocket Engine Associated with US
7.8. Summary of the Fuel Injector Design Constraints and the Type of Fuel Injectors
- Fuel/oxidiser inlet temperature: Low-temperature supercritical hydrogen and liquid oxygen are fed into the combustor in the nominal condition for Vulcain 2.2, YF-90, and LE-7 engines. Fuel temperature will influence the combustion stability and combustion efficiency. It directly influences the propellant Reynolds number by substantial changes in density and dynamic viscosity across different phases. The combustion stability regime maps were developed based on an empirical relationship between the momentum flux ratio (equivalence ratio) and the injector outlet Reynolds number. Both research institutions, the Indian Institute of Space Science and Technology and Pennsylvania State University, have shown that the oxygen flow speed and oxygen post diameter influence the combustion stability of gaseous methane/gaseous oxygen. The methane flow outlet annulus area of the coaxial fuel injector has a minor influence, according to the experimental studies in [178] and [201].
- Velocity ratio of oxidiser/fuel: Decreasing the velocity difference between the oxidiser and the fuel alters the mixing parameter and, in turn, the temperature distribution factor. A low scaling relationship between the stoichiometric mixing length and the flame length has been shown in the experimental study. Flow mixing remains important for the cryogenic propellant combination and can be used to predict the flame length. A high velocity ratio produces a shorter flame length than a low velocity ratio.
- Momentum flux ratio: Similar to the velocity ratio, but uses a dimensionless form; a low momentum flux ratio produces a longer stoichiometric length than a high momentum flux ratio.
- Combustor length: A high-pressure combustor and a high propellant velocity ratio result in a short combustor, reducing the pre-burner's overall size. The full-scale experiment results from the DLR institute showed an influence on damping at short-lived burst pressure amplitudes. Combustor geometry also influences combustion stability. Optimised combustor length to increase residence time for combustion efficiency.
- Injector type: The current research focused on the coaxial-derived design. The methane/oxygen combustion test reported in [189] showed that the coaxial injector produced higher combustion efficiency than the impingement fuel injector at the same combustion pressure. Coaxial fuel injectors are the primary choice for Raptor-3,RS-25, YF-90, YF-130, YF-100, Vulcain 2.2,YF-77,LE-9, RD-171, RD-180, and RD-191,CE-20.
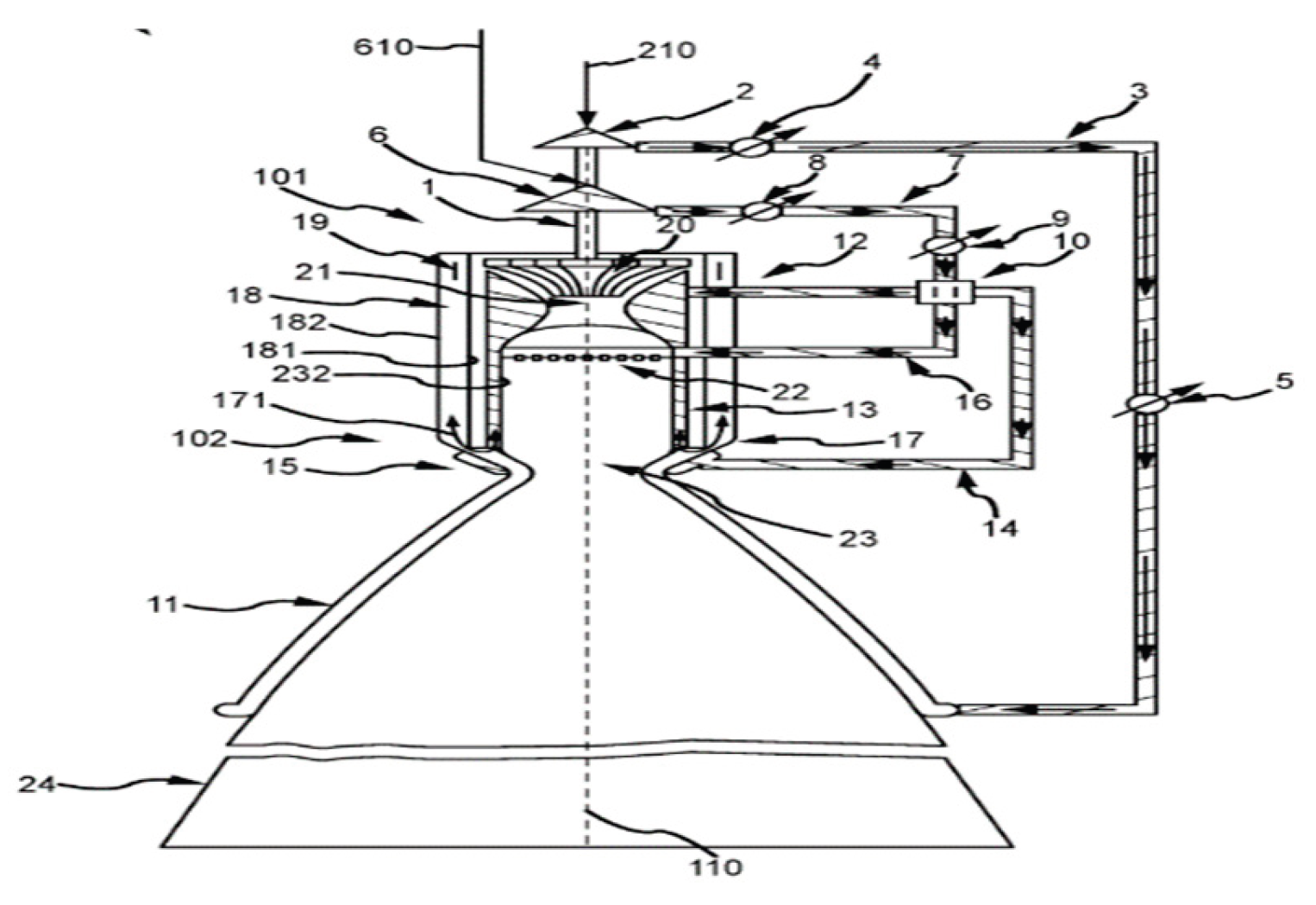
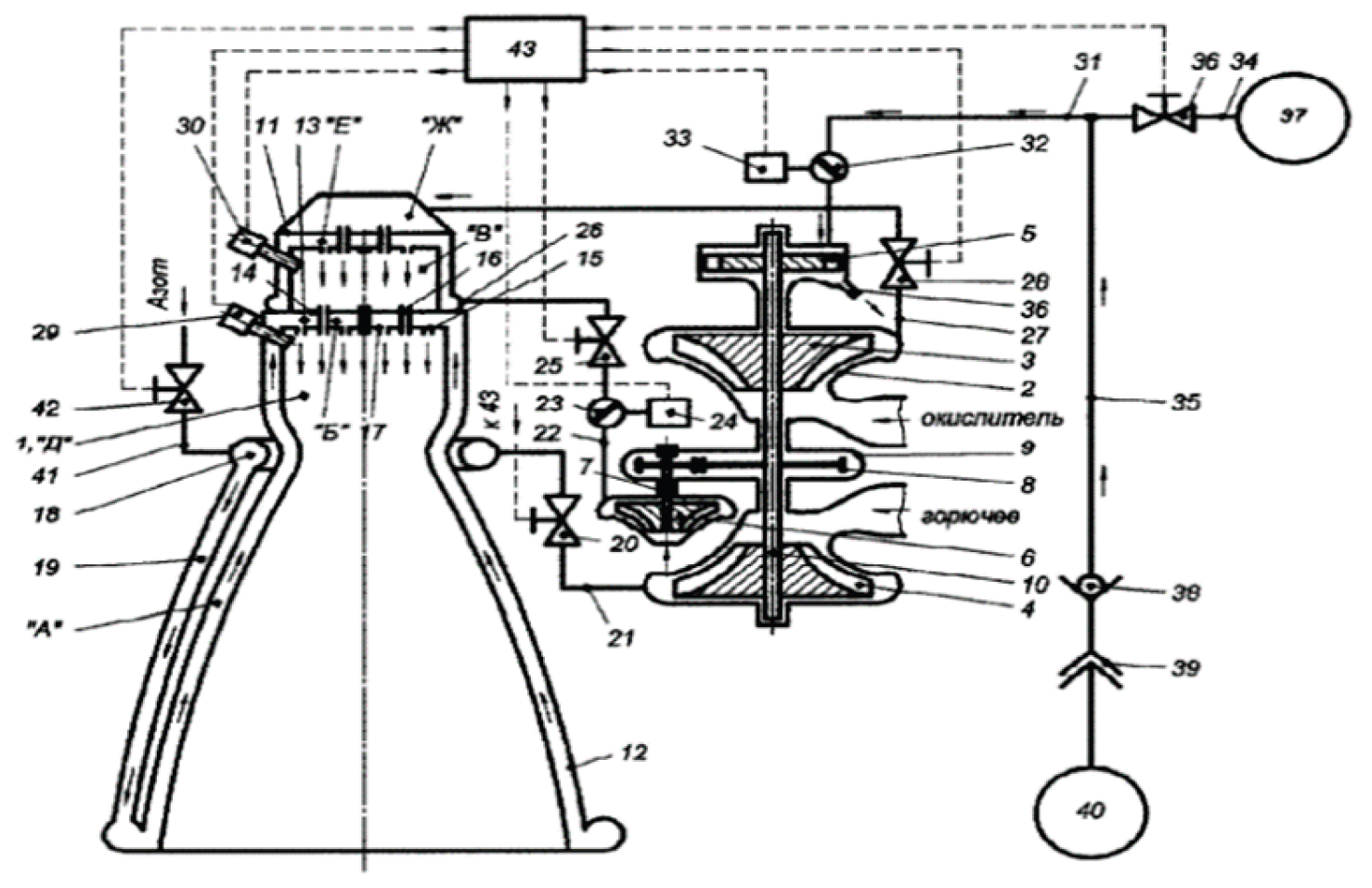
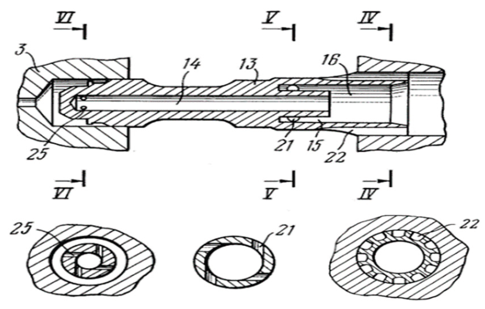
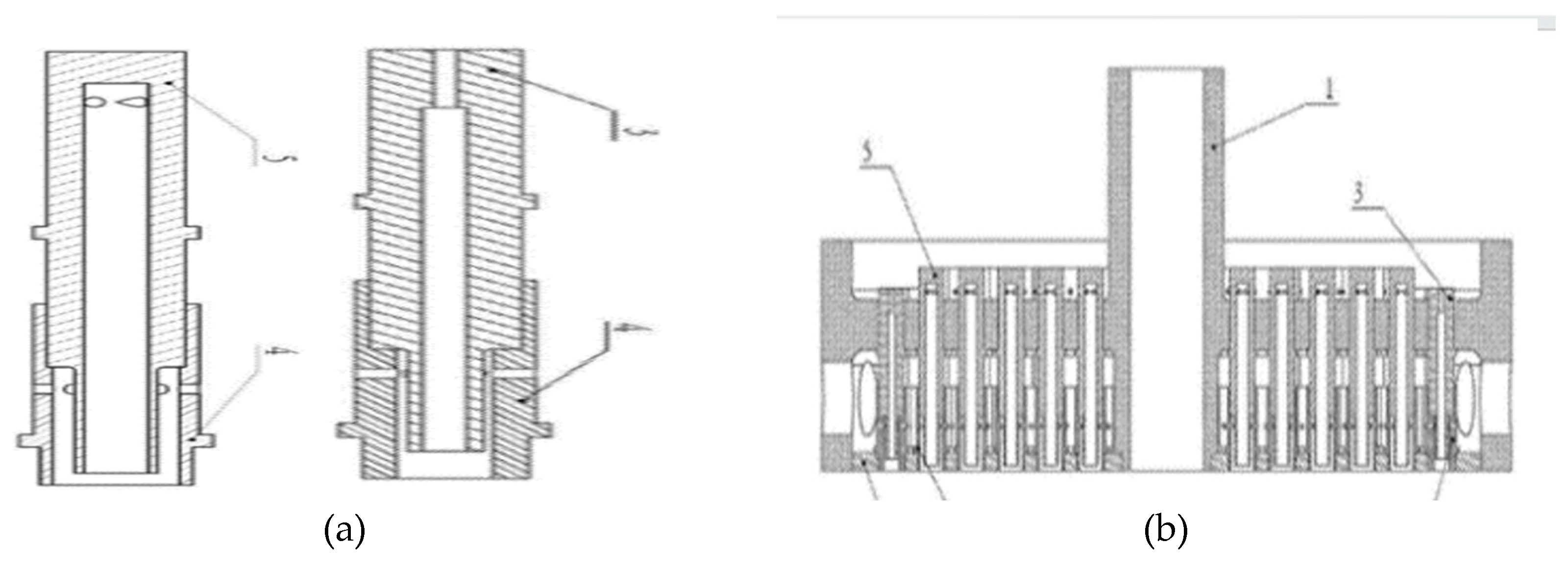
8. Mixing Head Design and Manufacturing Method

8.1. Tricoaxial Injector
8.2. Profiled Coaxial Injector for Triple Propellants Rocket Engine
8.3. Partially Mixing Gas Generator
8.4. Counter Flow Combustion
8.5. Partially Mixing Like Injector Design
8.6. Radial Radial Mixing
8.7 Modified Design for mixing head elements
8.8. Coaxial Pintle Injection Technology

8.9. Cross Impingement Fuel Injection Technology
8.10. Modified Shear Coaxial Swirl Injector
8.11. Mounted Injection Element on Mixing Head
8.12. Combination of Direct Fuel Injector and Open Swirl Injector
8.13. Mixing Head Structure Designed for the Fuel Rich Pre Burner Combustion
8.14. Mixing Head for Main Thrust Chamber
8.15. Mixing Head Designed with Crossfire Conduits
8.16. Transpiration Cooling Injection plane for the Main Thrust Chamber of FFSC Engine
8.17. Pressure Swirl Coaxial Injection Element
8.18. Paralleled Coaxial Mixing Head Design
| Components | Starts | Duration (s) | Pc (MPa) | O/F |
|---|---|---|---|---|
| H2 injector | 9 | 302.8 | 4.95-5.72 | 5.33-7.02 |
| CH4 injector | 29 | 586.5 | 3.74-5.24 | 3.03-3.65 |
| CH4 injector | 84 | 2227.9 | 4.32-5.21 | 2.68-3.19 |
| Nozzle | 91 | 2309.4 | 3.74-5.21 | 2.68-3.11 |
| Nozzle | 8 | 149.1 | 4.9-5.05 | 3.00-3.19 |
| Patent reference | Author/Industry Applicant | Potential field of application /Review on the existing research |
|---|---|---|
| [204] | Huang/Aerojet Rocketdyne | Open-end swirl injector circumferential layout in counter-clockwise and clockwise configurations. Patent research provides information on the preliminary CFD analysis of the external flow. Potential application field: closed-cycle liquid rocket engine. Review of the existing research: The resolution of the CFD turbulent model for eddies has not been mentioned, as the patent research focused on the external mixing field and eddy interactions between injectors. The types and existence of eddies remain undisclosed. |
| [280] | Vasin A.A. et al./NPO Energomash V. P. Glushk | The open-end swirl injector is actually in a triplex configuration, with external tubular conduits for fuel. Potential application field: generic applied to the high-pressure kerosene-staged combustion cycle engine. Review of the existing research: A significant number of non-official research works have been done on the unsteady dynamic characteristics. However, not all research correctly retrieved the geometry specification for CFD simulation and experimental study. Lack of experimental data validation studies and dynamic characteristics, with very limited official published experimental data. |
| [248], [249] |
Jean Luc Le Cras et al./SNECMA | Potential application field: Tricoaxial injection elements have been partially studied for a complete cryogenic liquid rocket engine. Detailed geometry has not been fully disclosed. Review of the existing research: Inadequate research publications related to the whole geometry of tricoaxial injection elements. Full-scale mixing head design and layout have not been introduced. |
| [251] | Vladimir Viktorovich et al. | Potential application field: The patent did not specify the engine cycle, but it has been introduced for full cryogenic use of hydrogen and methane. The design adapted triple triple-propellant engine. The mixing head has a generic application. Review on the existing research: Limited number of research paper except from Gorokhov’s introduction. Improvements in mixing and specific impulse were demonstrated in the lab-scale combustor and have been reported. No further studies have been introduced, and without further experimental demonstration of the injector's compatibility with triple propellants. |
| [253] | Klimov Vladislav Yurevich | Potential application field: Partially mixing head design for the pre burner and adopt for additive manufacturing. Review of existing research: The mixing head design did not include a centre igniter tube; it may use hypergolic fuel ignition or another method. Details are unknown |
| [254] | Klimov Vladislav Yurevich | Potential application field: Mixing head for the pre-burner. In an alternative form of the triplet impingement injection without a special flow path design, the propellant enters the impingement ring from the manifold. Review of the existing research: Non-relevant research work has been found |
| [255] | Klimov Vladislav Yurevich | Potential application field: Mixing head injection elements. Review on the existing research: Non-relevant research work for the combustion performance and injection characteristics. |
| [258] | Klimov Vladislav Yurevich | Potential application field: Pre-burner Review on the existing research: Non-relevant research work for the combustion performance and injection characteristic. |
| [260] | Klimov Vladislav Yurevich | Potential application field: Pre-burner Review on the existing research: Non-relevant research work for the combustion performance and injection characteristic. |
| [261] |
Klimov Vladislav Yurevich | Potential application field: Regenerative cooled pre-burner Review of the existing research: Non-relevant research study |
| [262] | Thomas J.Mueller/Space X | Potential application field: Pintle injector for gas generator cycle engine. Merlin-1D. Review of the existing research: Similar design research on the pintle element has been reported in the literature for low-thrust engines, compared to the thrust requirements for heavy/super-heavy launch vehicles. |
| [264] | Markusic et al./Firefly Aerospace | Potential application field: Propulsion system for the Alpha launch vehicle; tap-off-cycle engine. Review of the existing research: The Method for Cooling effectiveness verification and validation has not been well discussed. Lack of design validation and experimental research to show the mechanism of eddy interaction/existence during combustion. |
| [265] | Weipeng Kong et al. /CASC | Potential application field: Mixing head for a pre-burner in a high-pressure, staged-combustion engine. Review of the existing research: There is an insufficiently disclosed official report for full-scale injector acoustic analysis. Similar research to the single-element shear coaxial injection element used for the BKN test rig (DLR). However, the design and overall concepts still showed a variation. Full-scale injector acoustic analysis is needed. |
| [266] | Ding et al./CASC | Potential application field: Injection elements for the mixing head. Review of the existing research: A Limited study focused on the combustion performance of using a combination fuel injector design. Similar design to LE-9 ‘s injector design. |
| [267] | Pan et al./CASC | Potential application field: Fuel injector design for the pre-burner used in a staged-combustion-cycle engine. Review of the existing research: the open swirl injector is primarily a fuel injector. Fu has studied injector dynamic analysis. Insufficient published study on full-scale acoustic and structure analysis. |
| [268] | Kong et al./CASC | Potential application field: Mixing head design for the pre-burner of a staged-combustion engine. Review of the existing research: No official research has been found. Propellant holes and concept have been introduced with empirical geometry specification. |
| [269] |
Liu et al./CASC | Potential application field: Main thrust chamber of a LOX/H2-staged combustion cycle engine for a 220 tf thrust level. Engine candidate for second stage of CZ-9. Review on the existing research: Already in test and development state. Details of the geometry specification have not been fully introduced. |
|
[270] |
Fang et al./CASC | Potential application field: Integrated ignition tube within the mixing head of the pre-burner. Review of the existing research: The flame anchor position has not been well introduced. Throttling limitation capability also not being well introduced. |
| [271] | Liu et al./CASC | Potential application field: Full-flow staged-combustion cycle engine. Review of the existing research: It has not been disclosed in detail regarding the ongoing research. The porous injector and porous plane for hot exhaust gases and the measurement of cooling effectiveness shall be further investigated. |
| [272] | Maeding et al./Airbus DS GmbH | Potential application field: fuel injection element for gas generator cycle engine. Review of the existing research: A similar downstream fuel injector feature has been studied, with inadequate numerical and test data for full-scale multiple injector elements. |
|
[273] |
Indersie et al./SNECMA | Potential application field: pre-burner of gas generator cycle engine. Review for the existing research: Already used for Vulcain engines. Additive manufacturing and water-flow testing incorporated into development and manufacturing have been well studied. |
| [275] | Andrey Vladimirovich/ NPO Energomash V. P. Glushk | Potential application field: generic application for the pre-burner. kerolox engine. Pressure swirl injection elements. Single-element injection units have been covered in previous research and are discussed in the literature review. No specific details of fuel injection performance have been stated. Only introduced the additive manufacturing technique. |
| [276] | Wright JR/Relative Space,Inc | Potential application: additive manufacturing for a whole liquid rocket engine for Relative Space. Details of the introduction have been disclosed at full scale, but without specific geometry. |
| [277] | Khadri et al./Agnikul COSMOS Private limited | Potential application field: introduce manufacturing methods for single-piece, integrated 3D additive manufacturing. The patent was not focused on the specific details of injector design. |
9. Conclusions
9.1. Research Gaps and Future Work Suggestions
- RD-170 injector: These injectors are developed for high-pressure system engines (gas generator—greater than 50 MPa) and feature an adjustable injection range to meet throttling requirements. High-pressure staged combustion and high-pressure full flow staged combustion engines: injectors are not designed specifically for atomisation from an engine system perspective, even when using a kerosene/liquid oxygen combination. Atomisation is not the priority, aside from checking the flow characteristics. Main thrust chamber injectors and gas generator injectors can be designed with different layouts and injector types.
- Experimental studies show different OH radical emission characteristics across thermodynamic states, including subcritical, transcritical, and supercritical. However, there is an incomplete interconnection between CFD combustion modelling and experiment. Gaseous-Gaseous injection by not coupling with the heat transfer effect, and supercritical and liquid oxygen injection by neglecting the effect of liquid oxygen atomisation. Inconsistent focus on combustion technology with the test facility limitation. Not all CFD modelling data can be directly validated against experimental data. Thus, it is recommended that future research establish a high-pressure test rig to improve understanding of supercritical injection and combustion, and to generate experimental data for numerical simulation.
- Two-phase flow effect: Insufficient projects focusing on liquid methane-liquid oxygen injection or liquid methane-liquid oxygen combustion. For the Raptor 3 engine start-up condition with subcooled methane and subcooled oxygen, there is a lack of study on the effect of the two-phase mixture of liquid methane and gaseous helium on pre-burner combustion stability. The oxygen Reynolds number influences transition in the combustion stability region; few studies have examined the main thrust chamber and the high-pressure preburner. It is recommended that future work focus on high-pressure heat transfer in a converging tube rather than a straight tube. Increase the experimental demonstration of high-speed flow of methane-helium or hydrogen-helium mixtures to reflect actual operating conditions.
- Water/nitrogen spray atomisation: Safety considerations for experiments; substitute working fluids such as nitrogen and water for liquid oxygen modelling. Water has a density similar to that of oxygen at a particular pressure. However, in the fuel injection problem, there is a significant pressure drop across the injector, with the real oxygen density effect completely neglected, as water density remains constant in the experiment. Incomplete self-similarity theory in the fuel spray atomisation research between liquid oxygen and water. It is recommended to develop a relevant self-similarity experiment study in future studies.
- Stochiometric mixing length scaling: The current research on the scaling procedure was developed for a coaxial fuel injector. It is recommended that a scaling method be developed and applied to different types of fuel injectors to demonstrate further that the stoichiometric mixing length correlates with flame length. The importance of cryogenic liquid mixing also needs further study.
- Practical significance of spray atomisation: The startup method of staged-combustion cycle engines utilises hypergolic fuel and does not use an igniter. However, different liquid rocket engines have different start-up techniques; spark ignition is also well adopted for H2/O2 engines. Gaseous hydrogen and gaseous oxygen were mixed and ignited in the igniter tube cavity, producing hot exhaust gases; then, hydrogen and oxygen from the main injection elements are burned in the hypergolic mode. The experimental results from spray atomisation lack practical significance. It is recommended that the experiment be carefully designed to demonstrate the problems associated with spray atomisation and their relationship to high-pressure combustion performance.
- Mixing head design methods: Internal cavity structure design influenced by the inlet pressure, particularly for pre-burners. There is a pressure-swirl injector. The preliminary design of the mixing head depends on the engine system requirements. The current fuel injector research focuses on modelling, and there is a lack of design and reporting on how CFD simulation results align with the specific design requirements. It is recommended that future work develop or report the scaling methodology for a single-element fuel injector research, with detailed information on the research objectives. Single-element injection limited by the Reynolds number, propellant Mach number (different injection temperature), and delta P condition, but Pi criteria can be well scaled. Carry out a preliminary study of the effect of injector geometry on the combustor stability characteristics; it is possible, but limited to the injector outlet area. Thus, numerical simulations and experiments on multi-element fuel injectors should also be considered. The current research used a single-element combustor by changing the fuel injector configuration, and cannot represent the inter-injection element effect. It is crucial to understand multiple injection elements in the near-wall region to fully understand how the actual injector influences combustion temperature in this region. A fluid dynamics and heat transfer coupling simulation is recommended for the mixing head design using a thermal coupling boundary condition.
Author Contributions
Funding
Data Availability Statement
Acknowledgments
Conflicts of Interest
Nomenclatures and Abbreviations
| C(RHW) | Reused portion of the cost to recover and reuse |
| C(RR) | Expended portion of the cost to recover and reuse |
| C(B) | Production cost of the hardware to be reused |
| F | Factor representing the production unit cost |
| n | Factor of the production rate |
| k | Fraction of the production cost of hardware |
| Terminal time (s) | |
| Horizontal velocity component (m/s) | |
| Vertical velocity component (m/s) | |
| Velocity component in z direction (m/s) | |
| Vector of control inputs | |
| gravity components in E | |
| L | Flight range |
| Deviation of the flight range | |
| Oxidiser fuel ratio | |
| η_min | Engine throttling parameter (minimum) |
| Effective area of bellows (m2) | |
| Hydraulic resistance of 1st throttle (1/m4) | |
| Total hydraulic resistance of the lines and valves after flow regulator (1/m4) | |
| kb | Spring constant of bellows (N/m) |
| ks | Spring constant of spring (N/m) |
| xbo | Pre-compression length of bellows at x = 0 (m) |
| xso | Pre-compression length of spring at x = 0 (m) |
| N | Number of ports in 2nd throttle |
| h | Height of port in 2nd throttle (m) |
| θ | |
| Discharge coefficient | |
| Q | flow rate (m3/s) |
| A | |
| Jet contraction coefficient | |
| Contraction coefficient | |
| Gas injection pressure (Pa) | |
| Liquid pressure drop across mixing head (Pa) | |
| Gas pressure drop across mixing head (Pa) | |
| Temperature of the gases (K) | |
| Inlet mass flow rate (kg/s) | |
| Outlet mass flow rate (kg/s) | |
| m | Log coefficient |
| Vh2 | Hydrogen outlet velocity (m/s) |
| Vo2 | Oxygen outlet velocity (m/s) |
| Fuel outlet velocity (m/s) | |
| Oxidiser outlet velocity (m/s) | |
| Pc | Combustion pressure (Pa) |
| Reynolds number | |
| Liquid jet In the axial direction (mm) | |
| Injector diameter (mm) | |
| J | Momentum flux ratio |
| Center of gravity x axis | |
| Pressure fluctuation (Pa) | |
| fuel outlet diameter for oxygen passage (mm) | |
| Pressure drop across the mixing head (Pa) | |
| Outlet diameter of coaxial fuel injector (mm) | |
| Inner diameter of coaxial fuel injector (mm) | |
| Fluid dynamic viscosity | |
| Combustion efficiency | |
| Dynamic transfer function part | |
| A part of swirl injector nozzle filled by liquid | |
| Combination of response function | |
| Complex response function of tangential channels as an inertial element | |
| Complex response function of the vortex chamber | |
| Response function of the closed end of the vortex chamber | |
| Complex response function of the nozzle | |
| Radius of liquid film | |
| Radius of liquid vortex | |
| Strouhal number | |
| Mach number | |
| Eu | Euler number |
| Acoustic pressure amplitude at any time t | |
| Maximum acoustic pressure amplitude | |
| Fuel injector length (mm) | |
| Rn | Geometric parameter |
| 1L | 1st longitudinal acoustic mode |
| 2T | 2nd order tangential acoustic mode |
| f | Wave frequency (Hz) |
| Entrance height of the full scale of the mixing head (mm) | |
| Entrance weight of the full scale of the mixing head (mm) |
| AR | Aspect ratio |
| kerolox | Propellant pair of kerosene and liquid oxygen |
| LCA | Life Cycle Analysis |
| GHG | Green house gas |
| GNC | Guidance Navigation Control |
| MMH | Monomethyl Hydrazine |
| MON-3 | Nitrogen tetroxide |
| PID | proportional integral derivative |
| SRB | Solid rocket booster |
| CZ | Long March |
| FFT | Fast Fourier Transform |
| FGM | Flame generated manifold |
| SLS | Space launch system |
| PSLV | Polar satellite launch vehicle |
| GSLV | Geosynchronous satellite launch vehicle |
| GCH4 | Methane in the gaseous state |
| LCH4 | Methane in the liquid state |
| PEG | Powered explicit guidance |
| OPGUID | Optimal guidance |
| IGM | Iterative guidance method |
| PSO | Particle swarm optimisation |
| DoF | Degree of freedom |
| ZQ | Zhu Que |
| MECO | Main engine cut off |
| ORSC | Oxidiser rich staged combustion |
| CASC | China aerospace science and technology corporation |
| SSME | Space shuttle main engine |
| ECN | Engine combustion network |
| LIF | Laser induced fluorescence |
| OH | Hydroxyl radical |
| GG | Gas generator |
| MCC | Main combustion chamber |
| FPB | Fuel pre burner |
| BKD | DLR research combustor model D |
| PSD | Power spectral density analysis |
| LNG | Liquid natural gas |
| BKN | DLR research combustor model N |
| FRSC | Fuel rich staged combustion |
| FFSC | Full flow staged combustion |
| PLIF | Planar laser induced fluorescence |
| LES | Large eddy simulation |
| PBF | Powder bed fusion |
| GRX-810 | Oxide dispersion strengtheded superalloy |
| VOF | Volume of fluid |
| ROF | Same as the O/F |
References
- Oburoh, A.; Oke, A.; Njuguna, J.; Younas, M. Blue hydrogen in the United Kingdom – A policy & environmental case study. Energy Reviews 2025, vol. 4(no. 2), 100131. [Google Scholar] [CrossRef]
- Bjorck, C.E.; Dobson, P.D.; Pandhal, J. Biotechnological conversion of methane to methanol: evaluation of progress and potential. AIMS Bioeng 2018, vol. 5(no. 1), 1–38. [Google Scholar] [CrossRef]
- Seethamraju, S.; Bandyopadhyay, S. Hydrogen economy: hope or hype? Clean Technol Environ Policy 2023, vol. 25(no. 3), 755–756. https://link.springer.com/article/10.1007/s10098-023-02500-8. [CrossRef]
- Nnabuife, S.G.; Darko, C.K.; Obiako, P.C.; Kuang, B.; Sun, X.; Jenkins, K. A Comparative Analysis of Different Hydrogen Production Methods and Their Environmental Impact. Clean Technologies 2023, vol. 5(no. 4), 1344–1380. [Google Scholar] [CrossRef]
- Takahashi, K. The potential of tuoquoise hydrogen. Mizuho Short industry Focus 2023, vol. 219. [Google Scholar]
- Pelucchi, S.; Maporti, D.; Mocellin, P.; Galli, F. Turquoise hydrogen to reduce emissions of the north American oil upstream sector. Int J Hydrogen Energy 2024, vol. 88, 1048–1059. [Google Scholar] [CrossRef]
- Damnali, S.Z.; Mazloumi, K.; Tekin, B.; Woehrle, T.; Hoffmann, A.; Hoelzle, M. Effect of carbon black properties on dry electrode processing of cathodes for lithium-ion batteries. J Power Sources 2025, vol. 646, 237243. [Google Scholar] [CrossRef]
- Diab, J.; Fulcheri, L.; Hessel, V.; Rohani, V.; Frenklach, M. Why turquoise hydrogen will Be a game changer for the energy transition. Int J Hydrogen Energy 2022, vol. 47(no. 61), 25831–25848. [Google Scholar] [CrossRef]
- Hermesmann, M.; Müller, T.E. Green, Turquoise, Blue, or Grey? Environmentally friendly Hydrogen Production in Transforming Energy Systems. Prog Energy Combust Sci 2022, vol. 90, 100996. [Google Scholar] [CrossRef]
- Sanyal, A.; Malalasekera, W.; Bandulasena, H.; Wijayantha, K.G.U. Review of the production of turquoise hydrogen from methane catalytic decomposition: Optimising reactors for Sustainable Hydrogen production. Int J Hydrogen Energy 2024, vol. 72, 694–715. [Google Scholar] [CrossRef]
- Rohani, H.; Sudiiarova, G.; Lyth, S.M.; Badakhsh, A. Recent Advances in Electrified Methane Pyrolysis Technologies for Turquoise Hydrogen Production. Energies (Basel) 2025, vol. 18(no. 9), 2393. [Google Scholar] [CrossRef]
- Dadsetan, M.; Khan, M.F.; Salakhi, M.; Bobicki, E.R.; Thomson, M.J. CO2-free hydrogen production via microwave-driven methane pyrolysis. Int J Hydrogen Energy 2023, vol. 48(no. 39), 14565–14576. [Google Scholar] [CrossRef]
- Crowl, D.A.; Jo, Y.-D. The hazards and risks of hydrogen. J Loss Prev Process Ind 2007, vol. 20(no. 2), 158–164. [Google Scholar] [CrossRef]
- Green, M.A. Hydrogen Safety Issues Compared to Safety Issues with Methane and Propane. AIP Conference Proceedings 2006, AIP, 319–326. [Google Scholar] [CrossRef]
- Sutton, A.; Sedano, N. Synopsis of LOX/Liquid Methane and Liquid Natural Gas Rocket Propellant Explosion Hazards. In AIAA Propulsion and Energy 2019 Forum; American Institute of Aeronautics and Astronautics: Reston, Virginia, Aug 2019. [Google Scholar] [CrossRef]
- Chin, D.; Hermanson, J.C.; Spadaccini, L.J. Thermal Stability and Heat Transfer Characteristics of Methane and Natural Gas Fuels. J Eng Gas Turbine Power 1995, vol. 117(no. 3), 462–467. [Google Scholar] [CrossRef]
- Driscoll, R.; Moore, T.; Brady, B.B.; Frolik, S.; Morehart, J.H. Carbon Deposit Formation in Supercritical Methane-based, Hydrocarbon Fuels Using a Cooling Channel Surrogate. In AIAA Propulsion and Energy 2019 Forum; American Institute of Aeronautics and Astronautics: Reston, Virginia, Aug 2019. [Google Scholar] [CrossRef]
- Moore, T.A.; Brady, B.B.; Winner, J.D.; Morehart, J.H. The Effect of Temperature on Carbon Deposition from High Pressure Methane/Ethane Mixtures in Stainless Steel Tubes. In ASCEND 2022; American Institute of Aeronautics and Astronautics: Reston, Virginia, Oct 2022. [Google Scholar] [CrossRef]
- Moore, T.A.; Brady, B.B.; Driscoll, R.; Morehart, J. Carbon Deposition from Methane/Propane Mixtures in Surrogate Rocket Engine Cooling Channels. In AIAA Propulsion and Energy 2020 Forum; American Institute of Aeronautics and Astronautics: Reston, Virginia, Aug 2020. [Google Scholar] [CrossRef]
- Brady, B.B.; Moore, T.A.; Driscoll, R.B.; Winner, J.; Morehart, J.H. Carbon Deposition from Methane/Propane/Ethane Mixtures in Surrogate Rocket Engine Cooling Channels. In AIAA Propulsion and Energy 2021 Forum; American Institute of Aeronautics and Astronautics: Reston, Virginia, Aug 2021. [Google Scholar] [CrossRef]
- Haemisch, J.; Suslov, D.; Oschwald, M. Experimental Study of Methane Heat Transfer Deterioration in a Subscale Combustion Chamber. J Propuls Power 2019, vol. 35(no. 4), 819–826. [Google Scholar] [CrossRef]
- Azuma, N. Compatibility of Methane Fuel with LOX/Methane Engine Combustion Chamber Cooling Channels. in 44th AIAA/ASME/SAE/ASEE Joint Propulsion Conference & Exhibit, Jul. 2008; American Institute of Aeronautics and Astronautics: Reston, Virigina. [Google Scholar] [CrossRef]
- Azuma, N.; Ogawa, D.; Iijima, A.; Higashino, K.; Hiraiwa, T.; Oguma, M. Material Compatibility of Bio-Ethanol Fuel with Rocket Engine Combustion Chamber Cooling Channels. in 52nd AIAA/SAE/ASEE Joint Propulsion Conference, Reston, Virginia, Jul. 2016; American Institute of Aeronautics and Astronautics. [Google Scholar] [CrossRef]
- Boris Ivanovich Katorgin, “Method for increasing the specific impulse in a liquid-propellant rocket engine and rocket powder unit for realising the same,” US6415596B1, Jul. 09, 2002.
- Xing, Z.; Chuan-qi, Y.; Rong-pei, J.; Yue, Y.; Hai-yun, S.; Tao, F. Performance of High Energy Synthetic Kerosene GN-1. Journal of Propulsion Technology (推进技术) 2021, vol. 42(no. 7). [Google Scholar]
- MYKHALCHYSHYN, R.V.; BREZGIN, M.S.; LOMSKOI, D.A. Methane, kerosene and hydrogen comparative as a rocket fuel for launch vehicle pneumohydraulic supply system development. Kosmìčna nauka ì tehnologìâ 2018, vol. 24(no. 2), 12–17. [Google Scholar] [CrossRef]
- Wang, W.; Zhang, Z.; Chen, Z.; Xu, Y.; Wang, Y. Research on Measures for launch capacity improvement of launch vehicles in active. Aerospace Shanghai (Chinese & English) 2020, vol. 37(no. 2), 59–64. [Google Scholar]
- PERFORMANCE SPECIFICATION PROPELLANT,METHANE. In US Departments and Agencies of the Department of Defense; 10 Oct 2006.
- Ragab, M.; Cheatwood, F.M. Launch Vehicle Recovery and Reuse. in AIAA SPACE 2015 Conference and Exposition, Reston, Virginia, Aug. 2015; American Institute of Aeronautics and Astronautics. [Google Scholar] [CrossRef]
- European Hydrogen Observatory. Available: https://observatory.clean-hydrogen.europa.eu/ (accessed on 22 October 2025).
- Aerospace Propellant Cost. 2025. Available: https://www.dla.mil/Energy/Business/Standard-Prices/ (accessed on 22 October 2025).
- Kang, Z.; Wang, Z.; Li, Q.; Cheng, P. Review on pressure swirl injector in liquid rocket engine. Acta Astronaut 2018, vol. 145, 174–198. [Google Scholar] [CrossRef]
- Zhao, F.; Zhang, H.; Zhang, H.; Bai, B.; Zhao, L. Review of atomization and mixing characteristics of pintle injectors. Acta Astronaut 2022, vol. 200, 400–419. [Google Scholar] [CrossRef]
- Vijay, G.A.; Moorthi, N.S.V.; Manivannan, A. INTERNAL AND EXTERNAL FLOW CHARACTERISTICS OF SWIRL ATOMIZERS: A REVIEW. Atomization and Sprays 2015, vol. 25(no. 2), 153–188. [Google Scholar] [CrossRef]
- Zhao, D.; Lu, Z.; Zhao, H.; Li, X.Y.; Wang, B.; Liu, P. A review of active control approaches in stabilizing combustion systems in aerospace industry. Progress in Aerospace Sciences 2018, vol. 97, 35–60. [Google Scholar] [CrossRef]
- Gugulothu, S.K. A systematic literature review based on different fuel injection strategies used in scramjet combustors. Heat Transfer—Asian Research 2019, vol. 48(no. 8), 3657–3681. [Google Scholar] [CrossRef]
- Ren, Z.; Wang, B.; Xiang, G.; Zhao, D.; Zheng, L. Supersonic spray combustion subject to scramjets: Progress and challenges. Progress in Aerospace Sciences 2019, vol. 105, 40–59. [Google Scholar] [CrossRef]
- Baiocco, P. Overview of reusable space systems with a look to technology aspects. Acta Astronaut 2021, vol. 189, 10–25. [Google Scholar] [CrossRef]
- Bykerk, T.; Karl, S.; Laureti, M.; Ertl, M.; Ecker, T. Retro-propulsion in rocket systems: Recent advancements and challenges for the prediction of aerodynamic characteristics and thermal loads. Progress in Aerospace Sciences 2024, vol. 151, 101044. [Google Scholar] [CrossRef]
- Pérez-Roca, S. A survey of automatic control methods for liquid-propellant rocket engines. Progress in Aerospace Sciences 2019, vol. 107, 63–84. [Google Scholar] [CrossRef]
- S. C., P. Priyadarshi, and D. P. Ghate, “A survey of launch vehicle recovery techniques,” Progress in Aerospace Sciences, vol. 155, p. 101092, May 2025. [CrossRef]
- Fu, Q. Review on the Dynamic Characteristics of Liquid Rocket Engine Injector. Advances in Astronautics 2025, vol. 8(no. 2), 129–169. https://link.springer.com/article/10.1007/s42423-025-00181-7. [CrossRef]
- 宋征宇, 巩庆海, 王聪, 何勇, and 施国兴, “Review and progress of the autonomous guidance method for Long March launch vehicle ascent flight,” SCIENTIA SINICA Informationis, vol. 51, no. 10, p. 1587, Oct. 2021. [CrossRef]
- Wang, Z. Review on guidance and control of aerospace vehicles: recent progress and prospect. Aerospace Systems 2024, vol. 7(no. 2), 175–192. https://link.springer.com/article/10.1007/s42401-024-00273-6. [CrossRef]
- Song, Z.; Wang, C.; He, Y. Autonomous Guidance Control for Ascent Flight. In Autonomous Trajectory Planning and Guidance Control for Launch Vehicles; Springer Nature, 2023; Volume ch. 2, pp. 33–74. https://link.springer.com/chapter/10.1007/978-981-99-0613-0_2.
- J. Hanson, M. Shrader, and C. Cruzen, “Ascent guidance comparisons,” in Guidance, Navigation, and Control Conference, Reston, Virigina: American Institute of Aeronautics and Astronautics, Aug. 1994. https://arc.aiaa.org/doi/10.2514/6.1994-3568. [CrossRef]
- Lu, P.; Sun, H.; Tsai, B. Closed-Loop Endoatmospheric Ascent Guidance. Journal of Guidance, Control, and Dynamics 2003, vol. 26(no. 2), 283–294. [Google Scholar] [CrossRef]
- Lu, P. What Is Guidance? Journal of Guidance, Control, and Dynamics 2021, vol. 44(no. 7), 1237–1238. [Google Scholar] [CrossRef]
- SCHLEICH, W. The Space Shuttle ascent guidance and control. in Guidance and Control Conference, Reston, Virigina, Aug. 1982; American Institute of Aeronautics and Astronautics. [Google Scholar] [CrossRef]
- Ahmad Naeem, Anzalone Evan J, Craig A.Scott, and Dukeman Gregory A, “Evolution and Impact of Saturn V on Space Launch System from a Guidance, Navigation, and Mission Analysis Perspective,” in International Astronautical Congress , Washington: NTRS, Oct. 2019.
- “Falcon USER’S GUIDE ,” Mar. 2025.
- Blackmore, L. Autonomous Precision Landing of Space Rockets. The Bridge 2016, vol. 4(no. 46), 15–20. [Google Scholar]
- Brusch, R.G. Trajectory optimization for the Atlas/Centaur launch vehicle. J Spacecr Rockets 1977, vol. 14(no. 9), 550–555. [Google Scholar] [CrossRef]
- Delta IV launch Services User’s Guide. Jun 2013.
- Zhang, J.; Jia, S.; Nie, T.; Shi, L.; Bao, J. Launch Vehicle Guidance Technology and its Development Trend. in 2021 33rd Chinese Control and Decision Conference (CCDC), May 2021; IEEE; pp. 5059–5063. [Google Scholar] [CrossRef]
- Lv, X.; Song, Z. Guidance Methods of Long March Launch Vehicles. Journal of Astronautics (宇航学报) (in Chinese). 2017, vol. 38(no. 9). [Google Scholar]
- Song, Z.; Pan, H.; Zhao, Y.; Yao, W.; He, Y.; Wang, C. Reviews and Challenges in Reliability Design of Long March Launcher Control Systems. AIAA Journal 2022, vol. 60(no. 2), 537–550. [Google Scholar] [CrossRef]
- Rongier, I.; Droz, J. Robustness of Ariane 5 GNC Algorithms. In Proceedings of the 4th ESA International Conference, Noordwijk, Oct. 2000; European Space Agency; p. 407. [Google Scholar]
- Ganet-Schoeller, M.; Desmariaux, J.; Combier, C. Structured Control for Future European Launchers. Design and Validation of Aerospace Control Systems 2017, no. 13. [Google Scholar]
- Gupta, S.C.; Suresh, B.N. Development of navigation guidance and control technology for Indian launch vehicles. Sadhana 1988, vol. 12(no. 3), 235–249. [Google Scholar] [CrossRef]
- der Porten Paul, V.; Naeem, A.; Matt, H.; Thomas, F. Powered Explicit Guidance Modifications and Enhancements for Space Launch System Block-1 and Block-1B Vehicles. In AAS GNC (Guidance, Navigation, and Control); NTRS: Breckenridge, Feb 2018. [Google Scholar]
- Frederick W.Boelitz and Mark O.Hilstad, “Predicting and correcting trajectories ,” US8729442B2, May 20, 2014.
- Ivanov, V.P. Terminal Control of Center of Mass Motion and Propellant Consumption in Liquid-Propellant Rocket Carriers. Automation and Remote Control 2023, vol. 84(no. 10), 1039–1046. https://link.springer.com/article/10.1134/S0005117923100041. [CrossRef]
- Rakoczy, J. Fundamentals of launch vehicle flight control. In NASA; 2012. [Google Scholar]
- LUKE, R. Approximation of 6DOF characteristics in 3DOF launch vehicle ascent simulations. in Navigation and Control Conference, Aug. 1991; American Institute of Aeronautics and Astronautics: Reston, Virigina. [Google Scholar] [CrossRef]
- Rao, P.P.; Sutter, B.M.; Hong, P.E. Six-Degree-of-Freedom Trajectory Targeting and Optimization for Titan Launch Vehicles. J Spacecr Rockets 1997, vol. 34(no. 3), 341–346. [Google Scholar] [CrossRef]
- CHANDLER, D.C.; SMITH, I.E. Development of the iterative guidance mode with its application to various vehicles and missions. J Spacecr Rockets 1967, vol. 4(no. 7), 898–903. [Google Scholar] [CrossRef]
- Dukeman, G. Atmospheric Ascent Guidance for Rocket-Powered Launch Vehicles. in AIAA Guidance, Navigation, and Control Conference and Exhibit, Aug. 2002; American Institute of Aeronautics and Astronautics: Reston, Virigina. [Google Scholar] [CrossRef]
- Sinha, S.K.; Shrivastava, S.K. Optimal explicit guidance of multistage launch vehicle along three-dimensional trajectory. Journal of Guidance, Control, and Dynamics 1990, vol. 13(no. 3), 394–403. [Google Scholar] [CrossRef]
- der Porten Paul, V.; Naeem, A.; Matt, H. Closed Loop Guidance Trade Study for Space Launch System Block-1B Vehicle. in Guidance and Control Conference, Feb. 2018; NTRS: Breckenridge. [Google Scholar]
- Lu, P.; Pan, B. Highly Constrained Optimal Launch Ascent Guidance. Journal of Guidance, Control, and Dynamics 2010, vol. 33(no. 2), 404–414. [Google Scholar] [CrossRef]
- MEASE, K.; KREMER, J.-P. Shuttle entry guidance revisited. in Astrodynamics Conference, Aug. 1992; American Institute of Aeronautics and Astronautics: Reston, Virigina. [Google Scholar] [CrossRef]
- Lu, P. Entry Guidance: A Unified Method. Journal of Guidance, Control, and Dynamics 2014, vol. 37(no. 3), 713–728. [Google Scholar] [CrossRef]
- Prince Edorh, Bruno Herisse, and Eric Bourgeois, “Glide back recovery of a winged reusable launch vehicle with wind estimate,” in 9th European Conference For Aeronautics And Space Sciences , EUCASS, 2022.
- Zhou, H.; Wang, X.; Cui, N. Glide guidance for reusable launch vehicles using analytical dynamics. Aerosp Sci Technol 2020, vol. 98, 105678. [Google Scholar] [CrossRef]
- Song, Z.; Wang, C. Powered soft landing guidance method for launchers with non-cluster configured engines. Acta Astronaut 2021, vol. 189, 379–390. [Google Scholar] [CrossRef]
- Wang, J.; Zhang, R.; Li, H. Endoatmospheric powered descent guidance. Acta Astronaut 2024, vol. 224, 112–121. [Google Scholar] [CrossRef]
- Xie, L.; Zhang, H.; Zhou, X.; Tang, G. A Convex Programming Method for Rocket Powered Landing With Angle of Attack Constraint. IEEE Access 2020, vol. 8, 100485–100496. [Google Scholar] [CrossRef]
- Li, Y.; Guan, Y.; Wei, C.; Hu, R. Optimal Control of Ascent Trajectory for Launch Vehicles: A Convex Approach. IEEE Access 2019, vol. 7, 186491–186498. [Google Scholar] [CrossRef]
- Xie, L.; Zhou, X.; Zhang, H.-B.; Tang, G.-J. An improved convex optimization-based guidance for fuel-optimal powered landing. Advances in Space Research 2024, vol. 74(no. 7), 3256–3272. [Google Scholar] [CrossRef]
- Elango, P.; Luo, D.; Kamath, A.G.; Uzun, S.; Kim, T.; Açıkmeşe, B. Continuous-time successive convexification for constrained trajectory optimization. Automatica 2025, vol. 180, 112464. [Google Scholar] [CrossRef]
- Wang, Z.; Wu, Z. Six-DOF trajectory optimization for reusable launch vehicles via Gauss pseudospectral method. Journal of Systems Engineering and Electronics 2016, vol. 27(no. 2), 434–441. [Google Scholar] [CrossRef]
- He, M.; Liu, Y.; Zhang, Z.; Sheng, Y. Rolling active load relief technology for launch vehicle bundled with common booster core in face. J Phys Conf Ser 2024, vol. 2764(no. 1), 012061. [Google Scholar] [CrossRef]
- Polushin V.G, Osokin M.I, Kolosova I.A, Sarafaslanjan Kh.B, and Postnikov I.D, “Chamber Swinging unit of reheat liquid propellant rocket engine ,” RU2159352C2, Nov. 20, 2000.
- Gromyko Boris Mikhajlovich et al., “Gas duct of liquid propellant rocket engine with after burning ,” RU2339831C2, May 20, 2005.
- “Liquid rocket engine chamber rocking assembly with generator gas afterburning ,” RU2703883C1, 2019.
- Boris Ivanovich Katorgin, Vladimir Konstantinovich Chvanov, Felix Jurievich Chelkis, Vadim Llich Semenov, Valentin Georgievich Polushin, and Nina Ivanovna Murlykina, “Liquid propellant rocket engine ,” US6170258B1, Jan. 09, 2001.
- Ivanov Andrej Vladimirovich, Pushkarev Dmitrij Sergeevich, Tvere Oleg Borisovich, and Medvedev Aleksandr Alekseevich, “Liquid propellant rocket propulsion system ,” RU2826196C1, Dec. 07, 2023.
- Li, B.; Liu, Z.; LV, F.; Gao, L.; Zhang, M. Research on key technologies of 130 ton Pump Rear Swing High Pressure Staged Combustion LOX/Kerosene Engine. Manned Spaceflight (载人航天) 2022, vol. 28(no. 4). [Google Scholar]
- Dale Cipra, “Flex joint having liner with articulated joint,” US2018/0355823A1, Dec. 13, 2018.
- Berglund, M.; Wilkins, M. Critical Events of the Inaugural Launch of the Boeing Delta IV Expendable Launch Vehicle. in AIAA Space 2003 Conference & Exposition, Sep. 2003; American Institute of Aeronautics and Astronautics: Reston, Virigina. [Google Scholar] [CrossRef]
- Iannetti, A.; Girard, N.; Ravier, N.; Edeline, E.; Tchou-Kien, D. PROMETHEUS, a low cost LOX/CH4 engine prototype. in 53rd AIAA/SAE/ASEE Joint Propulsion Conference, Reston, Virginia, Jul. 2017; American Institute of Aeronautics and Astronautics. [Google Scholar] [CrossRef]
- Casiano, M.J.; Hulka, J.R.; Yang, V. Liquid-Propellant Rocket Engine Throttling: A Comprehensive Review. J Propuls Power 2010, vol. 26(no. 5), 897–923. [Google Scholar] [CrossRef]
- Katorgin, B.; Chvanov, V.; Yu, F.; Ford, R.; Tanner, L. Atlas with RD-180 now. in 37th Joint Propulsion Conference and Exhibit, Jul. 2001; American Institute of Aeronautics and Astronautics: Reston, Virigina. [Google Scholar] [CrossRef]
- “Space shuttle main engine orientation,” Jun. 1998.
- Rong, Y.; Wang, J.; Qi, F.; Qin, X.; Li, W. Research on Optimal Design of Thrust Regulation Requirements. Missiles and Space Vehicles (导弹与航天运载技术) 2020, no. 4. [Google Scholar] [CrossRef]
- Hulka, J.; Forde, J.; Werling, R.; Anisimov, V.; Kozlov, V.; Kositsin, I. Modification and verification testing of a Russian NK-33 rocket engine for reusable and restartable applications. in 34th AIAA/ASME/SAE/ASEE Joint Propulsion Conference and Exhibit, Reston, Virigina, Jul. 1998; American Institute of Aeronautics and Astronautics. [Google Scholar] [CrossRef]
- Timothy Bulk and Christopher Hayes, “Staged Combustion Liquid Rocket Engine Cycle With The Turbopump Unit And Pre Burner Integrated Into The Structure Of The Combustion Chamber ,” US2022/0205411A1, Jun. 30, 2022.
- Bolotin Nikolaj Borisovich and Varlamov Sergej Evgen’evich, “LIQUID-PROPELLANT ROCKET ENGINE AND THE METHOD OF ITS STARTING,” RU2299345C1, May 20, 2007.
- Boris Ivanovich Katorgin, “Liquid Propellant Rocket Engine With Turbine Gas Afterburning ,” US6226980B1, May 08, 2001.
- Chvanov V.K, “Reheat Liquid Propellant Rocket Engine ,” RU2232915C2, Jul. 20, 2004.
- Zhang, X.; Gao, Y.; Ma, D.; Pu, X.; Chen, H. Staged Startup Technology of High Thrust Staged Combustion LOX/Kerosene Rocket Engine. Missile and Space Vehicles (导弹与航天运载技术) 2020, no. 4. [Google Scholar]
- Chen, Z.; Chen, H.; Zhang, X.; Zhang, H.; Zhang, Z. Fault isolation considering real mechanical coupling effects with application to liquid oxygen/kerosene staged combustion rocket engines. Measurement 2025, vol. 242, 115965. [Google Scholar] [CrossRef]
- McCormick, S.; Garrison, M.; Blasi, R.; Langel, G. EM Actuated Cryogenic Valve for Engine Control. in 42nd AIAA/ASME/SAE/ASEE Joint Propulsion Conference & Exhibit, Jul. 2006; American Institute of Aeronautics and Astronautics: Reston, Virigina. [Google Scholar] [CrossRef]
- Levochkin Petr Sergeevich, Chvanov Vladimir Konstantinovich, Semenov Vadim Il’ich, Pushkarev Dmitrij Sergeevich, and Tjurin Aleksandr Anatol’evich, “Liquid Propellant Engine With Generator Gas Staged Combustion Cycle ,” RU2520771C1, Jun. 27, 2014.
- Petrishchev Vladimir Fedorovich, “DEEPLY THROTTLED LIQUID ROCKET ENGINE,” RU2810868, Dec. 28, 2023.
- Tan, Y.H.; Du, F.; Chen, J.; Zhang, M. Study on deep variable thrust system of LOX/kerosene high pressure staged combustion engine. Journal of Propulsion Technology (推进技术) 2018, vol. 39(no. 6). [Google Scholar]
- 李春红, “一种采用富氧燃气推进实现补燃循环发动 机系统及推力深度调节方法,” CN108953003 A, Jun. 28, 2018.
- Gubanov David Anatolevich and Vostrov Nikita Vladimirovich, “METHOD OF OPERATION OF CLOSED CYCLE LIQUID ROCKET ENGINE WITH AFTERBURNING OF OXIDIZING AND REDUCING GENERATOR GASES WITHOUT COMPLETE GASIFICATION AND LIQUID ROCKET ENGINE,” RU2801019C1, Aug. 01, 2023.
- 龚南妮, “大推力液体火箭发动机及其低功耗半自身起动方法,” CN112628018A, Apr. 09, 2021.
- Barashkov Ivan Sergeevich, Ivanov Yurij Yurevich, Ivanov Mikhail Yurevich, Grigorenko Dmitrij Ivanovich, and Poleva Natalya Eduardovna, “METHOD OF CONTROLLING THE RATIO OF FUEL COMPONENTS OF A LIQUID-PROPELLANT ENGINE,” RU2836201C1, Mar. 11, 2025.
- Grebnev M.Ju, Gromyko B.M, Kartysh V.A, and Khrenov LL, “Flowmeter ,” RU2159377C1, Nov. 20, 2000.
- Jung, T. Static characteristics of a bellows-type flow regulator for the thrust control of a liquid rocket engine. Proc Inst Mech Eng C J Mech Eng Sci 2014, vol. 228(no. 11), 2036–2045. [Google Scholar] [CrossRef]
- Jung, T.; Kwon, S. Design and performance evaluation of a bellows-type mixture ratio stabilizer for a liquid bipropellant rocket engine. Proc Inst Mech Eng C J Mech Eng Sci 2009, vol. 223(no. 3), 723–731. [Google Scholar] [CrossRef]
- Jung, T.; Lee, S.; Kwon, S. Dynamic Characteristics of a Bellows-Type Mixture-Ratio Stabilizer for a Liquid Rocket Engine. J Spacecr Rockets 2010, vol. 47(no. 5), 849–856. [Google Scholar] [CrossRef]
- Shang, X.; Jin, P.; Guo, W.; Xu, J.; Cai, G. Dynamic characteristic comparison between 1D model and 3D flow coupling with moving part model of liquid rocket engine flow regulator. Energy 2025, vol. 326, 136136. [Google Scholar] [CrossRef]
- Fedorov, V.; Chvanov, V.; Chelkis, F.; Ivanov, N.; Lozinskay, I.; Buryak, A. The Chamber Cooling System of RD-170 Engine Family: Design, Parameters, and Hardware Investigation Data. in 42nd AIAA/ASME/SAE/ASEE Joint Propulsion Conference & Exhibit, Jul. 2006; American Institute of Aeronautics and Astronautics: Reston, Virigina. [Google Scholar] [CrossRef]
- Wang, W.B.; Gong, Y.B. 50吨级氢氧火箭发动机的设计与研制. Journal of Propulsion Technology (推进技术) 2021, vol. 42(no. 7), 1458–1465. [Google Scholar]
- Kirner, E.; Thelemann, D.; Wolf, D. Development status of the vulcain thrust chamber. Acta Astronaut 1993, vol. 29(no. 4), 271–282. [Google Scholar] [CrossRef]
- Li, M.; Henry, M.; Zhou, F.; Tombs, M. Two-phase flow experiments with Coriolis Mass Flow Metering using complex signal processing. Flow Measurement and Instrumentation 2019, vol. 69, 101613. [Google Scholar] [CrossRef]
- Palacz, T.; Cieślik, J. Experimental Study on the Mass Flow Rate of the Self-Pressurizing Propellants in the Rocket Injector. Aerospace 2021, vol. 8(no. 11), 317. [Google Scholar] [CrossRef]
- Lubarsky, E.; Bibik, A.; Shcherbik, D.; Zinn, B.; Scarborough, D. Onset of Severe Combustion Instabilities During Transition to Supercritical Liquid Fuel Injection in High Pressure Combustors. in 40th AIAA/ASME/SAE/ASEE Joint Propulsion Conference and Exhibit, Reston, Virigina, Jul. 2004; American Institute of Aeronautics and Astronautics. [Google Scholar] [CrossRef]
- Miser, C.; King, P.; Schauer, F. PDE Flash Vaporization System for Hydrocarbon Fuel Using Thrust Tube Waste Heat. in 41st AIAA/ASME/SAE/ASEE Joint Propulsion Conference & Exhibit, Jul. 2005; American Institute of Aeronautics and Astronautics: Reston, Virigina. [Google Scholar] [CrossRef]
- Fan, X.; Yu, G.; Li, J. Flow Rate Analyses and Calibrations of Kerosene Cracking for Supersonic Combustion. in 41st AIAA/ASME/SAE/ASEE Joint Propulsion Conference & Exhibit, Jul. 2005; American Institute of Aeronautics and Astronautics: Reston, Virigina. [Google Scholar] [CrossRef]
- Gao, W.; Lin, Y.; Hui, X.; Zhang, C.; Xu, Q. Injection characteristics of near critical and supercritical kerosene into quiescent atmospheric environment. Fuel 2019, vol. 235, 775–781. [Google Scholar] [CrossRef]
- Liu, G. Flow characteristics and phase transition of subcritical to supercritical kerosene injections in a convergent nozzle. Fuel 2023, vol. 334, 126518. [Google Scholar] [CrossRef]
- Fang, Z.; Qiao, W.; Mo, C.; Li, J.; Yang, L.; Fu, Q. Experimental study of Cryogenic jet injection using centrifugal nozzles at supercritical pressure. Acta Astronaut 2024, vol. 221, 240–254. [Google Scholar] [CrossRef]
- Wang, X.; Sun, W.; Zhang, J.; Zheng, Y. Prediction on mass flow rate of heated high-density hydrocarbon fuel for sub-/trans-/super-critical jets. IET Conference Proceedings 2024, vol. 2023(no. 43), 58–66. [Google Scholar] [CrossRef]
- Harris, Z.B.; Bittle, J.A.; Agrawal, A.K. Fuel Injector Requirements to Achieve Supercritical Flow at the Exit. J Propuls Power 2024, vol. 40(no. 2), 220–232. [Google Scholar] [CrossRef]
- Belyaev, E.N.; Chvanov, V.K.; Chervakov, V.V. The Outflow of a Two-Phase Gas-Liquid Mixture from the Mixing Head of a Gas Generator when Starting a Liquid-Propellant Rocket Engine. High Temperature 2005, vol. 43(no. 3), 446–451. [Google Scholar] [CrossRef]
- Ma, Y.; Wang, Y.; Sun, J.; Du, F.; Mao, H. Experimental Investigation on the Pressure Drop Characteristics of a Gas Generator During Gas Injection Process. Processes 2025, vol. 13(no. 9), 2868. [Google Scholar] [CrossRef]
- PlEPER, J.L.; DEAN, L.E.; VALENTINE, R.S. Mixture ratio distribution - Its impact on rocket thrust chamber performance. J Spacecr Rockets 1967, vol. 4(no. 6), 786–789. [Google Scholar] [CrossRef]
- Greene, W. SSME 0523 incident - Analysis of temperatures in the fuel preburner. in 37th Joint Propulsion Conference and Exhibit, Reston, Virigina, Jul. 2001; American Institute of Aeronautics and Astronautics. [Google Scholar] [CrossRef]
- FUKUSHIMA, Y.; LMOTO, T. Lessons Learned in the Development of the LE-5 and LE-7. in 30th Joint Propulsion Conference and Exhibit; American Institute of Aeronautics and Astronautics: Reston, Virigina, Jun 1994. [Google Scholar] [CrossRef]
- Cohen, L.; Jassowski, D.; Ito, J. Mixture ratio distribution in a Titan IV rocket engine using laser-induced fluorescence of OH. in 35th Joint Propulsion Conference and Exhibit, Jun. 1999; American Institute of Aeronautics and Astronautics: Reston, Virigina. [Google Scholar] [CrossRef]
- Han, H.; Wang, Y. Study on Influencing Factors of Liquid Rocket Engine Mixture Ratio. Missile and Space Vehicles (导弹与航天运载技术) 2022, no. 33. [Google Scholar]
- THIARD, B. Vulcain gas generator development status. in 26th Joint Propulsion Conference, Reston, Virigina, Jul. 1990; American Institute of Aeronautics and Astronautics. [Google Scholar] [CrossRef]
- DENIS, L.; GEORGES, P. An experimental study of LOX/LH2 coaxial injection elements for the Vulcain gas generator. in 23rd Joint Propulsion Conference, Jun. 1987; American Institute of Aeronautics and Astronautics: Reston, Virigina. [Google Scholar] [CrossRef]
- Caisso, P.; Brossel, P.; Excoffon, T.; Illig, M.; Margat, T. Development status of the Vulcain 2 engine. in 37th Joint Propulsion Conference and Exhibit, Aug. 2001; American Institute of Aeronautics and Astronautics: Salt Lake City. [Google Scholar] [CrossRef]
- Barton, J.; Goulpeau, C.; Jorant, P. The Vulcain Mk2 engine for Ariane 5 evolution. in 31st Joint Propulsion Conference and Exhibit, Reston, Virigina, Jul. 1995; American Institute of Aeronautics and Astronautics. [Google Scholar] [CrossRef]
- Lonchard, J.-M.; Thomas, J.-L.; Fournet, A. Technology Demonstration for Low Cost Gas Generator. in 40th AIAA/ASME/SAE/ASEE Joint Propulsion Conference and Exhibit, Jul. 2004; American Institute of Aeronautics and Astronautics: Reston, Virigina. [Google Scholar] [CrossRef]
- Mayer, W.O.H.; Ivancic, B.; Schik, A.; Hornung, U. Propellant Atomization and Ignition Phenomena in Liquid Oxygen/Gaseous Hydrogen Rocket Combustors. J Propuls Power 2001, vol. 17(no. 4), 794–799. [Google Scholar] [CrossRef]
- Mayer, W.; Telaar, J.; Branam, R.; Schneider, G.; Hussong, J. Characterization of cryogenic injection at supercritical pressure. in 37th Joint Propulsion Conference and Exhibit, Jul. 2001; American Institute of Aeronautics and Astronautics: Reston, Virigina. [Google Scholar] [CrossRef]
- Armbruster, W.; Hardi, J.; Oschwald, M. Impact of shear-coaxial injector hydrodynamics on high-frequency combustion instabilities in a representative cryogenic rocket engine. International Journal of Spray and Combustion Dynamics 2022, vol. 14(no. 1–2), 118–130. [Google Scholar] [CrossRef]
- Armbruster, W.; Hardi, J.S.; Miene, Y.; Suslov, D.; Oschwald, M. Damping device to reduce the risk of injection-coupled combustion instabilities in liquid propellant rocket engines. Acta Astronaut 2020, vol. 169, 170–179. [Google Scholar] [CrossRef]
- Armbruster, W.; Hardi, J.S.; Oschwald, M. Flame-acoustic response measurements in a high-pressure, 42-injector, cryogenic rocket thrust chamber. Proceedings of the Combustion Institute 2021, vol. 38(no. 4), 5963–5970. [Google Scholar] [CrossRef]
- Deeken, J.; Suslov, D.; Schlechtriem, S.; Haidn, O. Impact of injection distribution on cryogenic rocket engine stability. In Progress in Propulsion Physics; EDP Sciences: Les Ulis, France, Mar 2013; pp. 149–166. https://www.eucass-proceedings.eu/articles/eucass/abs/2013/01/eucass4p149/eucass4p149.html.
- Deeken, J.C.; Suslov, D.I.; Oschwald, M.; Schlechtriem, S.; Haidn, O.J. Propellant Atomization for Porous Injectors. J Propuls Power 2019, vol. 35(no. 6), 1116–1126. [Google Scholar] [CrossRef]
- Morii, Y.; Beinke, S.; Hardi, J.; Shimizu, T.; Kawashima, H.; Oschwald, M. Dense core response to forced acoustic fields in oxygen-hydrogen rocket flames. Propulsion and Power Research 2020, vol. 9(no. 3), 197–215. [Google Scholar] [CrossRef]
- Zurbach, S. LOX/Methane Studies for Fuel Rich Preburner. in 39th AIAA/ASME/SAE/ASEE Joint Propulsion Conference and Exhibit, Jul. 2003; American Institute of Aeronautics and Astronautics: Reston, Virigina. [Google Scholar] [CrossRef]
- Singla, G.; Scouflaire, P.; Rolon, C.; Candel, S. Transcritical oxygen/transcritical or supercritical methane combustion. Proceedings of the Combustion Institute 2005, vol. 30(no. 2), 2921–2928. [Google Scholar] [CrossRef]
- Lux, J.; Suslov, D.; Bechle, M.; Oschwald, M.; Haidn, O. Investigation of Sub- and Supercritical LOX/Methane Injection Using Optical Diagnostics. in 42nd AIAA/ASME/SAE/ASEE Joint Propulsion Conference & Exhibit, Jul. 2006; American Institute of Aeronautics and Astronautics: Reston, Virigina. [Google Scholar] [CrossRef]
- Lux, J.; Haidn, O. Flame Stabilization in High-Pressure Liquid Oxygen/Methane Rocket Engine Combustion. J Propuls Power 2009, vol. 25(no. 1), 15–23. [Google Scholar] [CrossRef]
- Lux, J.; Haidn, O. Effect of Recess in High-Pressure Liquid Oxygen/Methane Coaxial Injection and Combustion. J Propuls Power 2009, vol. 25(no. 1), 24–32. [Google Scholar] [CrossRef]
- Degenève, A. Scaling relations for the length of coaxial oxy-flames with and without swirl. Proceedings of the Combustion Institute 2019, vol. 37(no. 4), 4563–4570. [Google Scholar] [CrossRef]
- Jose Felix Zapata Usandivaras, Annafederica Urbano, Michael Bauerheim, and Bénédicte Cuenot, “Large Eddy Simulations and Deep Learning for the investigation of recess variation of a shear-coaxial injector,” in Space Propulsion Conference 2022, Estoril : E, May 2022.
- Boulal, S.; Fdida, N.; Matuszewski, L.; Vingert, L.; Martin-Benito, M. Flame dynamics of a subscale rocket combustor operating with gaseous methane and gaseous, subcritical or transcritical oxygen. Combust Flame 2022, vol. 242, 112179. [Google Scholar] [CrossRef]
- Yang, B.; Cuoco, F.; Oschwald, M. Atomization and Flames in LOX/H2- and LOx/CH4- Spray Combustion. J Propuls Power 2007, vol. 23(no. 4), 763–771. [Google Scholar] [CrossRef]
- Fdida, N.; Mauriot, Y.; Vingert, L.; Ristori, A.; Théron, M. Characterizing primary atomization of cryogenic LOX/Nitrogen and LOX/Helium sprays by visualizations coupled to Phase Doppler Interferometry. Acta Astronaut 2019, vol. 164, 458–465. [Google Scholar] [CrossRef]
- Alexander Bee, Michael Borner, and Justin S.Hardi, “Experimental Investigation of a LOX/Methane Liquid-Centered Swirl Coaxial Injector During Ignition, Startup and Subcritical Operation,” in Aerospace Europe Conference-10th EUCASS, Lausanne : EUCASS-CEAS, 2023.
- M.Theron, “Experimental and numerical investigation of LOX/Methane Cryogenic Combustion at low mixture ratio ,” in 8 TH EUROPEAN CONFERENCE FOR AERONAUTICS AND SPACE SCIENCES (EUCASS), EUCASS, 2019.
- J. Martin, W. Armbruster, R. Stützer, D. Suslov, J. Hardi, and M. Oschwald, “Flame dynamics of an injection element operated with LOX/H 2 , LOX/CNG and LOX/LNG in a sub- and supercritical rocket combustor with large optical access,” International Journal of Spray and Combustion Dynamics, vol. 15, no. 3, pp. 147–165, Sep. 2023. [CrossRef]
- Martin, J.; Armbruster, W.; Börner, M.; Hardi, J.; Nakaya, S.; Oschwald, M. Influence of Injector and Chamber Design on LOX/CH4 Combustion Instabilities. J Propuls Power 2025, 1–16. [Google Scholar] [CrossRef]
- Ding, Z.B.; Pan, G.; Niu, X.D.; Sun, J.G. Key Technologies for High-pressure and High-thrust Staged Combustion Cycle LOX/LH2 Engine Preburner. Missile and Space Vehicles (导弹与航天运载技术) 2020, vol. 375(no. 4). [Google Scholar]
- Ding, Z.B.; Wang, Q.; Wang, T.T.; Yang, J.D.; Sun, J.G.; Gong, J.F. Development for thrust chamber of 220t staged combustion cycle LOX/LH2 engine. Journal of Rocket Propulsion (火箭推进) 2021, vol. 47(no. 4). [Google Scholar]
- Pan, G.; Niu, X.D.; Ding, Z.B.; Sun, J.G. Research on variable flow combustion performance of large flow rate and low mixture ratio hydrogen/oxygen injector. Missiles and Space Vehicles (导弹与航天运载技术) 2020, vol. 376(no. 5). [Google Scholar]
- Wang, J.; Ding, Z.B. Influence of hydrogen injection temperature on LOX/GH2 combustion characteristics. Missiles and Space Vehicles (导弹与航天运载技术) 2021, no. 5. [Google Scholar]
- Zhang, X.; Zhou, Y.; Yan, W. Current State of LOX/Methane Engine Development. Manned Spaceflight (载人航天) 2023, vol. 29(no. 1). [Google Scholar]
- Cai, G.; Jin, P.; Yang, L.; Du, Z.; Xu, K. Experimental and Numerical Investigation of Gas-Gas Injectors for Full Flow Stage Combustion Cycle Engine. in 41st AIAA/ASME/SAE/ASEE Joint Propulsion Conference & Exhibit, Jul. 2005; American Institute of Aeronautics and Astronautics: Reston, Virigina. [Google Scholar] [CrossRef]
- Wang, X.; Cai, G.; Gao, Y.; Jin, P. Large Flow Rate Shear-Coaxial Gas-Gas Injector. in 45th AIAA/ASME/SAE/ASEE Joint Propulsion Conference & Exhibit, Aug. 2009; American Institute of Aeronautics and Astronautics: Reston, Virigina. [Google Scholar] [CrossRef]
- Jin, P.; Li, M.; Cai, G. Experimental study of hydrogen-rich/oxygen-rich gas–gas injectors. Chinese Journal of Aeronautics 2013, vol. 26(no. 5), 1164–1172. [Google Scholar] [CrossRef]
- Cao, P.; Bai, X.; Li, Q.; Cheng, P. Effect of annulus width on combustion characteristics of liquid oxygen/methane swirl coaxial injectors. Combust Flame 2025, vol. 279, 114217. [Google Scholar] [CrossRef]
- Cao, P.; Cheng, P.; Bai, X.; Li, Q.; Cui, C. Effects of recess ratio on combustion characteristics of LOX/methane swirl coaxial injectors. Fuel 2023, vol. 337, 127205. [Google Scholar] [CrossRef]
- Cao, P.; Cheng, P.; Bai, X.; Li, Q.; Li, Z.; Liao, J. Mechanism of liquid oxygen temperature on combustion stability of gas-liquid swirl coaxial injectors. Combust Flame 2025, vol. 275, 114050. [Google Scholar] [CrossRef]
- Wang, K.; Xie, D.; Zhao, D.; Tang, Y.; Shi, B. Mixing and Combustion of Methane-Oxygen Flame in a Coaxial Dual-Shear Jet Nozzle. AIAA Journal 2024, vol. 62(no. 6), 2303–2312. [Google Scholar] [CrossRef]
- Zhu, S.; Huo, Y.; Zhao, Z.; Wei, X.; Liu, B. Research on blending combustion characteristics of coaxial injector of oxygen/methane engine. Acta Astronaut 2024, vol. 215, 593–606. [Google Scholar] [CrossRef]
- Praveen, R.; Jayan, N.; Bijukumar, K.; Jayaprakash, J.; Narayanan, V.; Ayyappan, G. Development of Cryogenic Engine for GSLV MkIII: Technological Challenges. IOP Conf Ser Mater Sci Eng 2017, vol. 171, 012059. [Google Scholar] [CrossRef]
- D. K. E, “Experimental Investigation of the Dynamics of Methane-Oxygen Diffusion Flame Stabilized Over Swirl Coaxial Injector,” Combustion Science and Technology, pp. 1–26, Jan. 2025. [CrossRef]
- Torano, Y.; Arita, M.; Takahashi, H.; Higashino, K.; Ishii, M.; Ikeda, H. Current study status of the advanced technologies for the J-I upgrade launch vehicle - LOX/LNG engine. in 10th AIAA/NAL-NASDA-ISAS International Space Planes and Hypersonic Systems and Technologies Conference, Reston, Virigina, Apr. 2001; American Institute of Aeronautics and Astronautics. [Google Scholar] [CrossRef]
- Fukushima, Y. DEVELOPMENT STATUS OF LE-7A AND LE-5B ENGINES FOR H-IIA FAMILY. Acta Astronaut 2002, vol. 50(no. 5), 275–284. [Google Scholar] [CrossRef]
- Torii, Y.; Sogame, E.; Kamijo, K.; Ito, T.; Suzuki, K. Development status of LE-7. Acta Astronaut 1988, vol. 17(no. 3), 331–340. [Google Scholar] [CrossRef]
- YATSUYANAGI, N.; GOMI, H.; SAKAMOTO, H.; NARASAKI, T. An empirical expression of the characteristic velocity efficiency ofLO2/Hydrogen rocket combustor with coaxial injector. in 21st Joint Propulsion Conference, Jul. 1985; American Institute of Aeronautics and Astronautics: Reston, Virigina. [Google Scholar] [CrossRef]
- TAMURA, H.; ONO, F.; KUMAKAWA, A.; YATSUYANAGI, N. LOX/methane staged combustion rocket combustor investigation. in 23rd Joint Propulsion Conference, Jun. 1987; American Institute of Aeronautics and Astronautics: Reston, Virigina. [Google Scholar] [CrossRef]
- YATSUYANAGI, N. Comprehensive Design Method for LOX/Liquid-Methane Regenerative Cooling Combustor with Coaxial Injector. Trans Jpn Soc Aeronaut Space Sci 2009, vol. 52(no. 177), 180–187. [Google Scholar] [CrossRef]
- Asakawa, H.; Nanri, H.; Masuda, I.; Shinohara, R.; Ishikawa, Y.; Sakaguchi, H. Study on Combustion Characteristics of LOX/LNG (methane) Co-axial Type Injector under High Pressure Condition. in 52nd AIAA/SAE/ASEE Joint Propulsion Conference, Reston, Virginia, Jul. 2016; American Institute of Aeronautics and Astronautics. [Google Scholar] [CrossRef]
- LINDSAY, J.; ELAM, S.; KOBLISH, T.; LEE, P.; MCAULIFFE, D. Internal flow measurements of the SSME fuel preburner injector element using real time neutron radiography. in 26th Joint Propulsion Conference, Jul. 1990; American Institute of Aeronautics and Astronautics: Reston, Virigina. [Google Scholar] [CrossRef]
- Eberhart, C.J.; Lineberry, D.M.; Frederick, R.A.; Kastengren, A.L. Mechanistic Assessment of Swirl Coaxial Injection by Quantitative X-Ray Radiography. J Propuls Power 2014, vol. 30(no. 4), 1070–1079. [Google Scholar] [CrossRef]
- Woodward, R.; Pal, S.; Farhangi, S.; Santoro, R. LOX/GH2 Shear Coaxial Injector Atomization Studies at Large Momentum Flux Ratios. in 42nd AIAA/ASME/SAE/ASEE Joint Propulsion Conference & Exhibit, Jul. 2006; American Institute of Aeronautics and Astronautics: Reston, Virigina. [Google Scholar] [CrossRef]
- Robinson Joel, W. Liquid oxygen/liquid methane component technology development at MSFC. In Space Propulsion 2010; NTRS: San Sebastian, May 2010. [Google Scholar]
- D. DeLong, J. Greason, and K. R. McKee, “Liquid Oxygen/Liquid Methane Rocket Engine Development,” in Aerospace Technology Conference and Exposition , SAE, Sep. 2007. [CrossRef]
- Neill, T.; Judd, D.; Veith, E.; Rousar, D. Practical uses of liquid methane in rocket engine applications. Acta Astronaut 2009, vol. 65(no. 5–6), 696–705. [Google Scholar] [CrossRef]
- Judd, D.; Buccella, S.; Alkema, M.; Hewitt, R.; Veith, E. Effect of Combustion Process on Performance, Stability, and Durability of a LOX/Methane Rocket Engine. in 44th AIAA Aerospace Sciences Meeting and Exhibit, Jan. 2006; American Institute of Aeronautics and Astronautics: Reston, Virigina. [Google Scholar] [CrossRef]
- Bennewitz, J.W.; Schumaker, S.A.; Lietz, C.F.; Kastengren, A.L. Scaling of oxygen-methane reacting coaxial jets using x-ray fluorescence to measure mixture fraction. Proceedings of the Combustion Institute 2021, vol. 38(no. 4), 6365–6374. [Google Scholar] [CrossRef]
- Moore, J.; Kuo, K. Effect of Changing Methane/Oxygen Coaxial Injector Configuration on Diffusion Flame Stability. in 40th AIAA/ASME/SAE/ASEE Joint Propulsion Conference and Exhibit, Jul. 2004; American Institute of Aeronautics and Astronautics: Reston, Virigina. [Google Scholar] [CrossRef]
- Moore, J.D.; Kuo, K.K. Effect of Switching Methane/Oxygen Reactants in a Coaxial Injector on the Stability of Non-Premixed Flames. Combustion Science and Technology 2008, vol. 180(no. 3), 401–417. [Google Scholar] [CrossRef]
- Saffell, R.; Moser, M. GOX/Methane Injector Effects on Combustion Efficiency. in 44th AIAA/ASME/SAE/ASEE Joint Propulsion Conference & Exhibit, Jul. 2008; American Institute of Aeronautics and Astronautics: Reston, Virigina. [Google Scholar] [CrossRef]
- Mulkey, H.; Moser, M.; Hitt, M. GOX/Methane Combustion Efficiency of a Swirl Coaxial Injector. In 45th AIAA/ASME/SAE/ASEE Joint Propulsion Conference & Exhibit; American Institute of Aeronautics and Astronautics: Reston, Virigina, Aug 2009. [Google Scholar] [CrossRef]
- Eberhart, C.; Lineberry, D.; Moser, M. Experimental Cold Flow Characterization of a Swirl Coaxial Injector Element. in 45th AIAA/ASME/SAE/ASEE Joint Propulsion Conference & Exhibit, Aug. 2009; American Institute of Aeronautics and Astronautics: Reston, Virigina. [Google Scholar] [CrossRef]
- Hulka, J.; Jones, G. Performance and Stability Analyses of Rocket Combustion Devices Using Liquid Oxygen/Liquid Methane Propellants. in 46th AIAA/ASME/SAE/ASEE Joint Propulsion Conference & Exhibit, Jul. 2010; American Institute of Aeronautics and Astronautics: Reston, Virigina. [Google Scholar] [CrossRef]
- Ianuzzi, M.L.L.; Eckenrode, L.M.; Curfman, C.S.; Moore, J.D.; Risha, G.A. Effect of Flow Parameters and Injection Flow Area on Non-Premixed Methane/Oxygen Diffusion Flame Stability. Combustion Science and Technology 2022, vol. 194(no. 3), 539–557. [Google Scholar] [CrossRef]
- Hollingshead, J.M.; Ianuzzi, M.L.L.; Risha, A.C.; Moore, J.D.; Risha, G.A. Influence of Annular Flow Area and a 30-Degree Impingement Angle on Methane/Oxygen Diffusion Flame Stability. Methane 2025, vol. 4(no. 3), 16. [Google Scholar] [CrossRef]
- Bazarov, V. Design Of Injectors For Self-Sustaining Of Combustion Chambers Acoustic Stability. in International Symposium on Energy Conversion Fundamentals Held in Istanbul, Istanbul, 2005. [Google Scholar]
- Mosolov, S.V.; Biryukov, V.I. Hydrodynamic stabilization in the combustion chambers of liquid-propellant engines. Russian Engineering Research 2011, vol. 31(no. 12), 1175–1179. https://link.springer.com/article/10.3103/S1068798X11120197. [CrossRef]
- Alan Huang, “Injector with injector elements in circumferential rows that alternate between counter-clockwise and clockwise swirl,” WO2020091738A1, May 07, 2020.
- Cavitt, R.; Frederick, R.; Bazarov, V. Experimental Methodology for Measuring Combustion and Injection-Coupled Responses. in 42nd AIAA/ASME/SAE/ASEE Joint Propulsion Conference & Exhibit, Jul. 2006; American Institute of Aeronautics and Astronautics: Reston, Virigina. [Google Scholar] [CrossRef]
- Cha, E.; Kim, D.; Kim, B.; Yoon, Y.; Bazarov, V. Analysis of Swirl Coaxial Injecor with Backhole as an Acoustic Damper in Liquid Rocket Engines. in 41st AIAA/ASME/SAE/ASEE Joint Propulsion Conference & Exhibit, Jul. 2005; American Institute of Aeronautics and Astronautics: Reston, Virigina. [Google Scholar] [CrossRef]
- DAIKI WATANABE, TADAOKI ONGA, KAZUFUMI IKEDA, HIROYASU MANAKO, TAKASHI TAMURA, and MITSUNORI ISONO, “Combustion stability improvement of LE-9 Engine for booster stage of H3 launch vehicle ,” Mitsubishi Heavy Industries Technical Review , vol. 53, Dec. 2016.
- Rubinskii, V.R.; Khrisanfov, S.P.; Klimov, V.Y.; Kretinin, A.V. Mathematical modeling and experimental investigations of oxygen-methane fuel combustion at coaxial-jet supply into the combustion chamber of liquid-propellant rocket engine. Russian Aeronautics (Iz VUZ) 2010, vol. 53(no. 1), 81–86. https://link.springer.com/article/10.3103/S1068799810010149. [CrossRef]
- Fu, Q.-F.; Yang, L.-J.; Zhang, W.; Cui, K.-D. SPRAY CHARACTERISTICS OF AN OPEN-END SWIRL INJECTOR. Atomization and Sprays 2012, vol. 22(no. 5), 431–445. [Google Scholar] [CrossRef]
- Fu, Q.-F.; Yang, L.; Qu, Y.-Y.; Gu, B. Geometrical Effects on the Fluid Dynamics of an Open-End Swirl Injector. J Propuls Power 2011, vol. 27(no. 5), 929–936. [Google Scholar] [CrossRef]
- Fu, Q.; Yang, L. Dynamic characteristics of the recessed chamber within a gas–liquid coaxial injector. Advances in Mechanical Engineering 2016, vol. 8(no. 4). [Google Scholar] [CrossRef]
- Eberhart, C.J.; Frederick, R.A. Parametric Evaluation of Swirl Injector Dynamics in the High-Frequency Range. J Propuls Power 2017, vol. 33(no. 5), 1218–1229. [Google Scholar] [CrossRef]
- Kumar, R.; Sharma, A.; Vaidyanathan, A.; Tharakan, T.J.; Kumar, S.S. DESIGN AND DYNAMIC RESPONSE OF SWIRL COAXIAL INJECTORS FOR LOX-METHANE ROCKET ENGINE. International Journal of Fluid Mechanics Research 2025, vol. 52(no. 3), 43–63. [Google Scholar] [CrossRef]
- Fang, Z.; Qiao, W.; Mo, C.; Li, J.; Yang, L.; Fu, Q. Experimental study of Cryogenic jet injection using centrifugal nozzles at supercritical pressure. Acta Astronaut 2024, vol. 221, 240–254. [Google Scholar] [CrossRef]
- Wang, S.; Qiao, W.; Zhang, D.; Zhang, B.; Fu, Q. Study on the influence of the combustion chamber baffle on atomization characteristics of gas-centered swirl coaxial injector. Acta Astronaut 2024, vol. 215, 54–68. [Google Scholar] [CrossRef]
- Alexander Polidar, Michael Mair, David Abplanalp, Stefan Brieschenk, Sebastian Leichtfuss, and Chiara Manfletti, “Design of Open-End Liquid-Liquid Bi-swirl Coaxial Injectors for Transcritical Injection in an Oxidizer-Rich Preburner,” in Space Propulsion 2022, May 2022.
- Kalmykov, G.P.; Larionov, A.A.; Sidlerov, D.A.; Yanchilin, L.A. Numerical simulation and investigation of working process features in high-duty combustion chambers. Journal of Engineering Thermophysics 2008, vol. 17(no. 3), 196–217. https://link.springer.com/article/10.1134/S1810232808030053. [CrossRef]
- Cai, G.; Wang, X.; Jin, P.; Du, Z.; Gao, Y. Experimental and Numerical Investigation of Large Mass Flow Rate Gas-Gas Injectors. in 44th AIAA/ASME/SAE/ASEE Joint Propulsion Conference & Exhibit, Jul. 2008; American Institute of Aeronautics and Astronautics: Reston, Virigina. [Google Scholar] [CrossRef]
- Cai, G.; Li, M.; Gao, Y.; Jin, P. Simulation and Experiment Research for a Hydrogen-Rich/Oxygen-Rich Shear Tricoaxial Gas-Gas Injector. in 46th AIAA/ASME/SAE/ASEE Joint Propulsion Conference & Exhibit, Jul. 2010; American Institute of Aeronautics and Astronautics: Reston, Virigina. [Google Scholar] [CrossRef]
- Xu, J.; Jin, P.; Li, R.; Wang, J.; Cai, G. Effect of coaxial injector parameters on LOX/methane engines: A numerical analysis. Acta Astronaut 2020, vol. 171, 225–237. [Google Scholar] [CrossRef]
- Xu, J.; Jin, P.; Li, R.; Wang, J.; Cai, G. Numerical Study on Combustion and Atomization Characteristics of Coaxial Injectors for LOX/Methane Engine. International Journal of Aerospace Engineering 2021, vol. 2021, 1–16. [Google Scholar] [CrossRef]
- Zhang, G.D.; Li, G.X.; Xing, R.P.; Zhang, H.; Tang, G.H. Numerical study of combustion and cooling performance of a gaseous oxygen and gaseous methane rocket combustor with the needle-bolt injector. Appl Therm Eng 2023, vol. 221, 119806. [Google Scholar] [CrossRef]
- Liu, J.; Zhou, W.; Dou, S.; Zhang, M.; Yang, Q.; Xu, X. Two-phase flow characteristics of cryogenic propellant in filling the head cavity of liquid rocket engine. Appl Therm Eng 2024, vol. 246, 122976. [Google Scholar] [CrossRef]
- Liu, J.; Liu, G.; Zhou, W.; He, X.; Yang, Q.; Xu, X. Numerical investigation of liquid oxygen filling process in liquid rocket engine by a multi-dimensional co-simulation method. Energy 2024, vol. 308, 132861. [Google Scholar] [CrossRef]
- Mukambetov, R.Y.; Borovik, I.N. Processes in an Oxygen–Methane Combustion Chamber with Gaseous Fuel. Russian Engineering Research 2024, vol. 44(no. 3), 293–300. https://link.springer.com/article/10.3103/S1068798X24700217. [CrossRef]
- Wang, Y.; Cho, C.H.; Sohn, C.H. Effects of injector spacing and momentum flux ratio on combustion instability in a model chamber with gas-centered swirl coaxial injectors. Aerosp Sci Technol 2024, vol. 154, 109503. [Google Scholar] [CrossRef]
- Urbano, A. Exploration of combustion instability triggering using Large Eddy Simulation of a multiple injector liquid rocket engine. Combust Flame 2016, vol. 169, 129–140. [Google Scholar] [CrossRef]
- Thomas Schmitt, Gabriel Staffelbach, Sébastien Ducruix, Stefan Gröning, Justin Hardi, and Michael Oschwald, “Large-Eddy Simulations of a sub-scale liquid rocket combustor: influence of fuel injection temperature on thermo-acoustic stability,” in 7 TH EUROPEAN CONFERENCE FOR AERONAUTICS AND AEROSPACE SCIENCES (EUCASS), EUCASS, 2017.
- Xiong, J.; Morgan, H.; Krieg, J.; Liu, F.; Sirignano, W.A. Nonlinear Combustion Instability in a Multi-Injector Rocket Engine. AIAA Journal 2020, vol. 58(no. 1), 219–235. [Google Scholar] [CrossRef]
- Liu, Y.; Wang, Z.; Ao, W.; Guan, Y.; Liu, P. Detached eddy simulation of the interaction between acoustics and flame dynamics during the transition before and after longitudinal thermoacoustic instability in a multi-element liquid rocket engine. Physics of Fluids 2024, vol. 36(no. 6). [Google Scholar] [CrossRef]
- Liu, Y.; Wang, Z.; Wu, X.; Guan, Y.; Ren, Z.; Liu, P. Interaction between acoustics and flame dynamics in a multi-element liquid rocket engine: Mode switching via quasi-periodic oscillation. Physics of Fluids 2025, vol. 37(no. 2). [Google Scholar] [CrossRef]
- Sharma, A.; De, A.; Kumar, S.S. Impact of fuel injection temperature dynamics on the stability of liquid oxygen–methane supercritical combustion. Physics of Fluids 2025, vol. 37(no. 2). [Google Scholar] [CrossRef]
- Kumar, R.; Sharma, A.; De, A.; Vaidyanathan, A. Numerical investigation of open- and close-end swirl injector dynamics for LOx-CH4 supercritical combustion. Aerosp Sci Technol 2025, vol. 164, 110360. [Google Scholar] [CrossRef]
- Bhattacharya, A.; Sharma, A.; De, A. Data-driven stability analysis in a multi-element supercritical liquid oxygen–methane combustor. Physics of Fluids 2025, vol. 37(no. 4). [Google Scholar] [CrossRef]
- Maria Grazia De Giorgi and Antonio Ficarella, “REAL FLUID MODELLING OF SUPERCRITICAL REACTING FLOWS IN LIQUID ROCKET ENGINE,” in 3rd European Conference For Aerospace Sciences , EUCASS, Jul. 2009.
- Poschner, M.; Pfitzner, M. Real Gas CFD Simulation of Supercritical H2-LOX in the MASCOTTE Single Injector Combustor Using a Commercial CFD Code. in 46th AIAA Aerospace Sciences Meeting and Exhibit, Jan. 2008; American Institute of Aeronautics and Astronautics: Reston, Virigina. [Google Scholar] [CrossRef]
- Zhukov, V.P. Extended Eddy-Dissipation Model for Modeling Hydrogen Rocket Combustors. Combustion Science and Technology 2020, vol. 192(no. 3), 531–546. [Google Scholar] [CrossRef]
- Zhukov, V.P.; Suslov, D.I. Measurements and modelling of wall heat fluxes in rocket combustion chamber with porous injector head. Aerosp Sci Technol 2016, vol. 48, 67–74. [Google Scholar] [CrossRef]
- Wei, W.; Xie, M.; Jia, M. Large eddy simulation of fluid injection under transcritical and supercritical conditions. Numeri Heat Transf A Appl 2016, vol. 70(no. 8), 870–886. [Google Scholar] [CrossRef]
- Riedmann, H.; Banuti, D.; Ivancic, B.; Knab, O.; Hannemann, K. Modeling of H2/O2 single-element rocket thrust chamber combustion at sub- and supercritical pressures with different computational fluid dynamics tools. In Progress in Propulsion Physics –; EDP Sciences: Les Ulis, France, Feb 2019; Volume 11, pp. 247–272. https://www.eucass-proceedings.eu/articles/eucass/abs/2019/01/eucass2019_247/eucass2019_247.html.
- Hwang, W.-S. Real-Gas-Flamelet-Model-Based Numerical Simulation and Combustion Instability Analysis of a GH2/LOX Rocket Combustor with Multiple Injectors. Energies (Basel) 2021, vol. 14(no. 2), 419. [Google Scholar] [CrossRef]
- Martinez-Sanchis, D.; Sternin, A.; Haidn, O.; Jocher, A. Effects of injection recess in methane turbulent combustion for space propulsion. Physics of Fluids 2024, vol. 36(no. 1). [Google Scholar] [CrossRef]
- F. N. Z. Rahantamialisoa, “Assessment of an Open-Source Pressure-Based Real Fluid Model for Transcritical Jet Flows ,” International Conference on Liquid Atomization and Spray Systems (ICLASS), vol. 1, no. 1, Aug. 2021. [CrossRef]
- Jafari, S.; Gaballa, H.; Habchi, C.; de Hemptinne, J.-C. Towards Understanding the Structure of Subcritical and Transcritical Liquid–Gas Interfaces Using a Tabulated Real Fluid Modeling Approach. Energies (Basel) 2021, vol. 14(no. 18), 5621. [Google Scholar] [CrossRef]
- Jafari, S.; Gaballa, H.; Habchi, C.; De Hemptinne, J.-C.; Mougin, P. Exploring the interaction between phase separation and turbulent fluid dynamics in multi-species supercritical jets using a tabulated real-fluid model. J Supercrit Fluids 2022, vol. 184, 105557. [Google Scholar] [CrossRef]
- Berque, J.; Sion, M.; Thomas, J.-L. Tricoaxial injector technology development. in 35th Joint Propulsion Conference and Exhibit, Reston, Virigina, Jun. 1999; American Institute of Aeronautics and Astronautics. [Google Scholar] [CrossRef]
- Sion Martin, Desclos Pierre, and Raymond Dominique, “Injection system and associated tricoaxial injection elements ,” FR2712030A1, Jan. 26, 1996.
- ZHAM Filipp and KRUZ Karlos, “Injection Element ,” RU2593315C2, Aug. 10, 2016.
- Jean-Luc Le Cras, Jean-Marie Lonchard, Arnaud Fournet, Cyril Verplancke, Olivier Delahaye, and Nicolas Cucco, “Injector for mixing two propellants comprising at least one injection element with a tricoaxial structure,” US9528479B2, Dec. 27, 2016.
- Keller, A.R.; Bendana, F.A.; Phong, V.C.; Spearrin, R.M. Additively-manufactured shear tri-coaxial rocket injector mixing and combustion characteristics. Aerosp Sci Technol 2024, vol. 155, 109680. [Google Scholar] [CrossRef]
- Chernichenko Vladimir Viktorovich, Shepelenko Vitalij Borisovich, and Solzhenikin Pavel Anatol’evich, “Mixing head of liquid propellant rocket engine chamber,” RU2493408C1, Jun. 20, 2013.
- Gorokhov, V.; Lobov, S.; Rubinsky, V.; Chernichenko, V. Coaxial Injection Element with Improved Characteristic for LOX-LH2/LOX-CH4 Rocket Engines. in 41st AIAA/ASME/SAE/ASEE Joint Propulsion Conference & Exhibit, Jul. 2005; American Institute of Aeronautics and Astronautics: Reston, Virigina. [Google Scholar] [CrossRef]
- Klimov Vladislav Yurevich, “MIXING HEAD OF GAS GENERATOR,” RU2680282C1, Jun. 07, 2019.
- Klimov Vladislav Yurevich, “Mixing head of LRE combustion chamber,” RU2787433C1, Jan. 09, 2023.
- Владислав Юрьевич Климов, “Gas Generator,” RU2781730C1, Oct. 17, 2022.
- Klimov Vladislav Yurevich, “Gas Generator,” RU2827277C1, Sep. 23, 2024.
- Klimov Vladislav Yurevich, “LPE COMBUSTION CHAMBER MIXING HEAD,” RU2815983C1, Mar. 25, 2024.
- Klimov Vladislav Yurevich, “Gas Generator,” RU2829 676C1, Nov. 05, 2024.
- Vasin A.A , “Liquid-propellant thrust chamber and its casing,” RU2158841C2, Nov. 10, 2000.
- Klimov Vladislav Yurevich, “Gas Generator,” RU2827277C1, Sep. 23, 2024.
- Klimov Vladislav Yurevich, “Mixing head of LRE combustion chamber,” RU2806 937C1, Nov. 08, 2023.
- Thomas J.Mueller, “Pintle injector tip with active cooling ,” 7503511B2, Mar. 17, 2009.
- Thomas Edward Markusic and Anatoli Alimpievich Borissov, “Liquid rocket engine tap off power source ,” US11008977B1, May 18, 2021.
- Borissov, Anatoli Alimpievich; Markusic, Thomas Edward. Liquid rocket engine cross impinged propellant injection. 2022, 11333104B1. [Google Scholar]
- 孔维鹏, “injector for inhibiting high-frequency unstable combustion,” CN112746910A, May 04, 2021.
- 丁兆波, 孙纪国, 刘倩, 杨进慧, and 许晓勇, “一种组合式燃烧稳定装置,” CN110805506A, Feb. 18, 2020.
- 潘刚, “Pre-combustion chamber injector structure,” CN107939551B, Feb. 09, 2024.
- 孔维鹏, “A high-pressure and high-flow precombustion chamber structure for a secondary combustion cycle engine,” CN119288703A, Jan. 10, 2025.
- 刘倩, “一种四底三腔喷注器,” CN108915899A, Nov. 30, 2018.
- 房喜荣, “一种补燃发动机燃气发生器的点火装置及方法,” CN118997952A, Nov. 22, 2024.
- 刘旭阳, “Full-flow post-combustion thrust chamber injector structure and sweating cooling method,” CN119042040 A, Nov. 29, 2024.
- Chris Udo Maeding, Axel Preuss, and Jan Alting, “Injection apparatus for a rocket engine,” EP3252295A1, May 29, 2017.
- Dominique Jean Etienne Indersie, Julien Bachelet, and Oliver Delahaye, “Rocket motor combustion chamber injection head ,” US2013/0318943 A1, Dec. 05, 2013.
- Soller, S. Design and Testing of Liquid Propellant Injectors for Additive Manufacturing. in European Conference on Aerospace Sciences, Jul. 2017; EUCASS: Milan. [Google Scholar]
- Ivanov Andrej Vladimirovich, “METHOD OFMANUFACTURINGMIXINGHEAD OFCOMBUSTIONCHAMBER OR GAS GENERATOR OF LIQUID-PROPELLANT ENGINE (LPE) AND MIXING HEAD (EMBODIMENTS),” RU2826 040C2, Sep. 03, 2024.
- Bishop WRIGHT JR, “Additively manufactured combustion chambers, manifold structures and hybrid additive processes related thereto,” EP4382245A1, Dec. 07, 2023.
- Syed Peer Mohamed Shah Khadri and Srinath Ravichandran, “Manufacturing of a single piece rocket engine,” US12313024B2, May 27, 2025.
- Simon Hyde and Adam Okninski, “ADDITIVE MANUFACTURING DESIGN OPTIMISED BIPROPELLANT INJECTOR,” in SPACE PROPULSION 2016, Rome, May 2016.
- Gradl, P.R.; Smith, T.M.; Tinker, D.C.; Williams, B.; Kantzos, C. Extreme Temperature Additively Manufactured GRX-810 Alloy Development and Hot-fire Testing for Liquid Rocket Engines. In AIAA SCITECH 2024 Forum; American Institute of Aeronautics and Astronautics: Reston, Virginia, Jan 2024. [Google Scholar] [CrossRef]
- Alexei Pogosovich Adzhian, Vladimir Jurievich Bogushev, Valentina Dmitrievna Kolesnikova, Alexandr Mikhailovich Tjurin, and Boris Ivanovich Katorgin, “Gas generator for liquid propellant rockets,” US6244040B1, Jun. 12, 2001.
- Raptor Engine. Available: https://x.com/SpaceX/status/1819772716339339664 (accessed on 22 October 2025).
- ZhaoBo Ding, Qian Liu, Tian Tai Wang, Jidong Yang, Jiguo Sun, and JieFeng Gong, “Development for thrust chamber of 220t staged combustion cycle LOX/LH2 engine,” Journal of Rocket Propulsion (火箭推进), vol. 47, no. 4, Aug. 2021.



























































































| Parameter | H2 | O2 | He | N2 | ||
|---|---|---|---|---|---|---|
| Flammability limits in air (%) | 4-74.2 | 5-15 | 2.1-9.4 | - | - | - |
| Flammability limits in pure O2(%) | 4.6-93.9 | 5.4-59.2 | 2.4-61.1 | - | - | - |
| Heat of combustion (kJ/g) | 135.4 | 52.8 | 40.3 | - | - | - |
| Liquid heat of combustion (MJ/Liter) | 9.59 | 22.29 | 23.56 | - | - | - |
| Gas heat of combustion (MJ/Liter) | 12.09 | 37.7 | 93.48 | - | - | - |
| @1bar | 70.8 | 422.4 | 585.3 | 1141 | 124.9 | 807 |
| Critical temperature (k) | 32.98 | 190.6 | 368.8 | 154.6 | 5.195 | 126.2 |
| Critical pressure (MPa) | 1.29 | 4.59 | 4.36 | 5.04 | 0.228 | 3.39 |
| 31 | 162.7 | - | 436 | 69.64 | 313 |
| Methods | Effectiveness | Feasibility | Economic | Reliability | Total | Evaluation decision |
|---|---|---|---|---|---|---|
| Nozzle extension | It can increase specific impulse by 3.5s. | Matured manufacturing technology, feasible | Only extend the nozzle, acceptable cost | It can be demonstrated in the high altitude flight test to verify and validate its reliability. | Feasible | |
| Mark(0-5) | 4 | 4 | 4 | 3 | 15 | - |
| Second stage propellant residual mass optimisation | Increase payload mass capability by 30kg | Feasible, it can be done by through numerical simulation, relative less experiment work | Theoretical and numerical simulation based. Saving cost compared to actual test | Reduce propellant residual through optimisation and validate with tested data. | Feasible | |
| Mark(0-5) | 5 | 4 | 4 | 2 | 15 | - |
| Optimisation slide time | Able to increase payload capability | Feasible, rely on the flight trajectory optimisation | No significant influence on the flight simulator but, engine dynamic system need modification | High reliable, it can be validated and verified through flight test | Feasible | |
| Mark(0-5) | 4 | 3 | 3 | 4 | 14 | - |
| Change milling methods for propellant tank | Reduce propellant tank by 7.526kg | Feasible | Partially increase research cost. | Reliable | Feasible | |
| Mark(0-5) | 4 | 5 | 3 | 3 | 15 | - |
| Use composite material for payload fairing | Reduce weight mass by 13% | High technology readiness level | Minor increase test cost but, it will reduce life cycle cost | High reliability can be done through material strength test | Partially implementation | |
| Mark (0-5) | 4 | 5 | 3 | 3 | 15 | - |
| Change existing main structure material | Use light weighted alloys can achieve weight reduction by 8% | Require make assessment on the light weighted material. | Extensive assessment manufacturing process could lead a high cost. Estimated about 2-3 times of the current material cost | High reliability requirement can be achieved through material strength test | Temporarily not recommend to use as primary method | |
| Mark (0-5) | 5 | 1 | 1 | 3 | 10 | - |
| Flight mission (Second stage) | Design value (kg) | Actual value after flight (kg) | Difference (kg) |
|---|---|---|---|
| 1 | 451 | 477 | 26 |
| 2 | 529 | 523 | -6 |
| 3 | 529 | 546 | 17 |
| 4 | 528 | 615 | 87 |
| 5 | 530 | 565 | 35 |
| 6 | 444 | 698 | 254 |
| 7 | 444 | 732 | 288 |
| 8 | 445 | 631 | 186 |
| 9 | 443 | 585 | 142 |
| 10 | 394 | 503 | 109 |
| 11 | 446 | 791 | 345 |
| 12 | 444 | 761 | 317 |
| 13 | 442 | 789 | 347 |
| 14 | 438 | 758 | 320 |
| 15 | 444 | 765 | 321 |
| Average | 463.4 | 649.3 | 186 |
| MIL-PRF-32207 | Natural gas grade | ||
|---|---|---|---|
| Property | A | B | C |
| Purity(CH4),%Vol,min | 98.7 | 99.9 | 99.97 |
| Water,ppmv,max | 1 | 0.5 | 0.5 |
| Oxygen,ppmv,max | 1 | 1 | 1 |
| Nitrogen,ppmv,max | 5000 | 100 | 100 |
| Carbon dioxide,ppmv | 125 | 50 | 50 |
| Other gaseous impurity(ie,Ar,H2,He,Ne) | 5000 | 125 | 125 |
| Ethane (C2H6),ppmV,max | 5000 | 500 | 100 |
| Propane(C3H8), ppmV,max | 3000 | 500 | 100 |
| Other volatile hydrocarbons, ppmV,max | 1 | 1 | 1 |
| Total volatile sulfur,ppmV,max | 1 | 0.1 | 0.1 |
| Non volatile residue and particulates, mg/L, max | 10 | 1 | 1 |
| Rocket fuel/inert gas | Price ($) 2025-2026 | Application |
|---|---|---|
| MMH (Monomethyl hydrazine) | 219.10/LB | Hypergolic propellant |
| Nitrogen tetroxide (MON-3) | 96.53-263.85/LB | Hypergolic propellant |
| Hydrazine | 121.54/LB | Monopropellant |
| RP-1 | 10.62/GL (Giga Litre) | Liquid rocket engine |
| RP-2 | 20.31/GL (Giga litre) | Liquid rocket engine (Extremely low sulphur standard) |
| JP-10 | 33.18/GL (Giga litre) | High energy density fuel. Missiles |
| Hydrogen | 10.66/LB ,46.40/MC | Cryogenic propellant |
| Liquid oxygen | 3.15/GL (Giga Litre) | Oxidiser |
| Helium gas | 1080.33/MC | Purge gas/tank pressurisation |
| Liquid nitrogen | 0.20/LB | Purge gas/tank pressurisation |
| Reference | Review methodology/research limitation |
|---|---|
| [32] | The review methodology was based on spray morphology and macroscopic spray characteristics observed experimentally. The report of water and diesel spray limits the literature review. |
| [33] | The review methodology was based on the external spray mixing characteristic. Primary and secondary atomisation with existing semi-empirical correlations. The review is limited by inadequate information. |
| [34] | The review methodology followed the research conducted on internal and external spray applications. The experiment limits the upper limit of the injection pressure range. |
| [35] | The review methodology was developed from the practical control techniques applied to land gas turbine engines. |
| [36] | Systematic literature review with proposed questions. |
| [37] | The review methodology was based on evaluating the supersonic mixing characteristics and the interactive mechanism between the shock wave and combustion. The literature review is limited by insufficient detail to make a classification of the exoatmospheric re-entry and Endo endoatmospheric flight environment. The experiment and test conditions, such as fuel injection pressure, can be varied to accommodate variations in the scramjet engine design and mission payload requirements. |
| [38] | Space launch vehicle systems have been divided into low-energy and high-energy systems. Low energy system: toss back unwinged, barge landing unwinged, ballistic flight and cruising back winged. High-energy system: winged/lifting body, capsules. |
| [39] | Review developed based on evaluating the aerothermal/aerodynamic flight characteristics of a partially reusable launch vehicle. Most of the research contributed to the European Space Agency's development of reusable launch vehicles. |
| [40] | The review methodology is to address problematic questions related to reusable launch vehicles. |
| [41] | The review methodology is developed based on prior knowledge of the launch vehicle system's energy characteristics. |
| [42] | The review content focused on the theoretical dynamic characteristics and the experimental method used for injector dynamic characterisation. The spray atomisation breakup correlation is unable to predict unsteady, pulsating droplets, and the klystron effect is recommended for further research. The literature review is limited to laboratory-experiment-level research, and it is unclear how representative the experimental scale is of the actual mixing head. |
| Specified Questions | Simplified system | Real time paper selection criteria |
|---|---|---|
| What are the design constraints that influence the conceptual/preliminary fuel injector design related to the propellant mixing and combustion? What is the current state of the art of fuel injection techniques applied to the closed-cycle engines? What are the methods used for fuel injector development in each development stage? | Guidance System | Past and current vertical takeoff and landing vehicle systems for each stage. Relevant to the engine throttling |
| Engine System | Primary focus on the staged combustion cycle Full cryogenic propellants (methane, hydrogen and oxygen) and reported relevant injection conditions. |
|
| Fuel injectors | Research papers specified how their spray atomisation experiment contributed to the design of the fuel injector and to combustion performance. Research papers are likely to be closely related to fuel injector design and concept development. Increase the number of recent patents related to the injector's development. Directly relating to the staged combustion cycle is preferred. Injector development related to the other engine cycle is acceptable. Advanced manufacturing is relevant to the full-scale design of a fuel injector for a liquid rocket engine. |
| Launch vehicle | Ascent phase/Landing phase | Reference |
|---|---|---|
| SLS(Space Launch system) Block | Open loop-first stage ascent phase (Solid rocket included), Closed loop (Modified PEG)-Powered ascent phase for second stage | [61] |
| Falcon-9 (SPACE-X) | Explicit perturbation guidance-Powered ascent phase Powered divergence guidance-Powered landing phase |
[51] |
| Reusuable launch vehicle Eg,New Glenn (Blue Origin) | Predict and correction guidance-First stage return and landing | [62] |
| Atlas, Titan and Delta | Open loop-First powered ascent flight phase for SRB, Closed loop-powered ascent flight phase for core and second stage |
[53] |
| Space Shuttle+Boosters | Open loop-Powered Ascent flight phase (SRB), PEG-Space Shuttle flight phase (Exo atmosphere) | [49] |
| Angara, Soyuz-5,Amur | Explicit perturbation guidance-Powered ascent booster phase. | [63] |
| CZ-8,CZ-5 (Booster) CZ-3 (Booster | Perturbation guidance methods-First stage powered ascent phase, Iterative guidance method-second stage/third stage powered ascent phase |
[55] |
| Ariane 5/Ariane 6 | Open-loop-powered ascent flight phase for the stage of SRB, closed-loop-powered ascent flight phase for the core and second stage | [58] |
| PSLV/ GSLV | Open-loop-powered ascent flight phase for first stage, closed-loop guidance-powered ascent flight phase for second stage and third stage. | [60] |
| Saturn-V | Open-loop-powered ascent phase for the first stage, Iterative guidance method-powered ascent phase second stage | [50] |
| Selected number | Monitor parameter | Sensitive fault mode | Fault diagnostic method | Engine abort method |
| 1 | Gas bottle pressure | Pneumatic device leakage | Redline diagnostic | Terminate launch mission |
| 2 | Pump insulation temperature | Cryogenic oxidiser sealing failure | Redline diagnostic | Terminate launch mission |
| 3 | Turbine outlet temperature | Turbine sealing failure | Redline diagnostic | Terminate launch mission |
| 4 | Oxidiser chill down recirculation temperature | Failure pre chill temperature down to the required condition | Redline diagnostic | Terminate launch mission |
| 5 | Fuel system Purging | Presence of the air moistures within the system | Redline diagnostic | Terminate launch mission |
| 6 | Isolation valve | Failure valve response | Reline diagnostic | Terminate launch mission |
| Health monitor Start up stage | ||||
| Selected number | Monitor parameter | Sensitive fault mode | Fault diagnostic method | Engine abort method |
| 1 | Actuator valves position | Electromechanical control system malfunction | Redline diagnostic | Emergence engine shut down |
| 2 | Oxygen pump rotor displacement | Pump rotor malfunction | Redline diagnostic | Emergence engine shut down |
| 3 | Turbine outlet temperature | Oxidiser pump cavitation, temperature overshoot | Redline diagnostic | Emergence engine shut down |
| 4 | Turbopump rotation speed | Hot end engine components malfunction | Redline diagnostic | Emergence engine shut down |
| Patent Reference | Inventor/industry company | Influence on the fuel injection technology | Relevant research state |
|---|---|---|---|
| [98] | Bulk et al./Special aerospace service | Methane-rich combustion for pre-burner. The pre-burner is designed as an annular combustion cavity. Fuel injector compatibility with the wall and cooling requirements | The engine developed for the staged combustion cycle, and the prototype engine, have not been disclosed. Insufficient research has been conducted on the combustion stability of the pre-burner. The engine system specification has not been discussed. Less understanding of this type of staged combustion cycle engine. |
| [99] | Bolotin Nikolaj Borisovich, Varlamov Sergej Evgen'evich | The mixing head design does not include a centre ignition tube. The outlet temperature distribution from the preburner must be well controlled to prevent damage to the mixing head of the main thrust chamber. Change the inlet velocity requirement and inlet pressure requirement for the main thrust chamber. |
External gases starting plan. Less understanding and research effort on this type of staged combustion cycle engine. Without a significant pressure drop across the pipeline, directly discharging high-pressure, hot gases into the main thrust chamber may increase its design complexity. |
| [100] | Borish Ivanovich Katorgin et al./NPO Energomash” Imeni Akademika V.P. Glushko |
Coaxial swirl injector design for high-pressure injection, with pressure greater than 50MPa for pre-burner and greater than 24MPa for the main thrust chamber. | Single-element injection elements have been selected for many CFD combustion simulations and spray atomization experiments in non-full-scale conditions. |
| [101] | Chvanov V.K et al. /NPO Energomash” Imeni Akademika V.P. Glushko |
Coaxial swirl injector design/combination fuel injection design. | Single-element injection elements have been selected for many CFD combustion simulations and spray atomization experiments in non-full-scale conditions. |
| [105] | Levochkin Petr Sergeevich et al. /NPO Ehnergomash imeni akademika V.P. Glushko |
There is a significant systematic change compared to the pre-burner design, affecting both the total mass flow rate and the pump-out pressure requirements. The modification is similar to the turbopump system in full-flow staged combustion with two independent turbines, but it retains the staged combustion process. | Relevant to the heavy/superheavy launch vehicle propulsion system RD-171M. The one pre-burner configuration, RD-170, has been studied. There is a lack of studies on the staged combustion cycle comprising multiple chambers. The engine cycle concepts for multiple chambers are not well adopted worldwide. |
| [106] | Petrishchev Vladimir Fedorovich | Deep throttle condition reduced to 20%, increasing combustion stability challenges for the pre-burner and the main thrust chamber. | No detailed engine performance specification. Insufficient fuel injector design research related to characterising combustion stability characteristics at low throttling. |
| [108] | Chunhong Li et al./Xian Aerospace Propulsion Institute (CASC) | Reducing the deep-throttle condition to 20% increases the combustion stability challenge for both the pre-burner and the main thrust chamber. | Relevant to the staged combustion engine development from CASC. The throttling scheme is not well studied in the academic field. |
| [109] | Gubanov David Anatolevich, Vostrov Nikita Vladimirovich | Fuel-rich combustion pre-burner and oxidiser-rich combustion pre-burner. | Similar engine cycle to the SSME. However, insufficient engine performance analysis for methane/oxygen. Inadequate research effort in the academic field. |
| [110] | Nanni Gong et al./ Xian Aerospace Propulsion Institute(CASC) | Challenges in combustion stability during the start-up condition at a low fuel flow rate. | Relevant to the full flow staged combustion cycle engine development from CASC. The methods are not well adopted and studied by different research institutions. |
| [111] | Barashkov Ivan Sergeevich et al. /NPO Ehnergomash imeni akademika V.P. Glushko |
Throttling method. The influence on the engine system, the turbopump, and the boost pump power requirements. | Well-suited for Russia-staged combustion-cycle engines. |
| [112] | Grebnev M.Ju. et al. /NPO Ehnergomash imeni akademika V.P. Glushko |
Throttling regulator. Influence on the engine system throttling requirement. | A relevant flow model has been developed based on the water flow test. Insufficient detail on the model development for cryogenic propellant. |
| Combustor | Number of elements | Mass flow per element |
|---|---|---|
| Vulcain (MCC) | 564 | 450g/s |
| Vulcain MK2 GG | 72 | 140g/s |
| Tricoaxial on Vulcain GG | 6 | 1500-2000g/s |
| SSME (MCC) | 660 | 600g/s |
| SSME (FPB) | 128 | 160g/s |
| Parameter | LP1 | LP2 | LP4 | LP5 | LP6 |
|---|---|---|---|---|---|
| Pcc (bar) | 70 | 69.9 | 80.7 | 81.7 | 77.8 |
| ROF | 3.9 | 5.9 | 5.9 | 4.8 | 5.2 |
| 94 | 95 | 95 | 103 | 102 | |
| 111 | 111 | 111 | 113 | 115 | |
| J | 34 | 15 | 14 | 24 | 21 |
| 2.1 | 5.3 | 15.6 | 4.5 | 2.2 |
Disclaimer/Publisher’s Note: The statements, opinions and data contained in all publications are solely those of the individual author(s) and contributor(s) and not of MDPI and/or the editor(s). MDPI and/or the editor(s) disclaim responsibility for any injury to people or property resulting from any ideas, methods, instructions or products referred to in the content. |
© 2026 by the authors. Licensee MDPI, Basel, Switzerland. This article is an open access article distributed under the terms and conditions of the Creative Commons Attribution (CC BY) license.