Preprint
Article

This version is not peer-reviewed.

Influence of Particle Size and Micronization on the Adsorption Efficiency of Aflatoxin B1 by Bentonite in Animal Feed Applications

Submitted:

29 December 2025

Posted:

29 December 2025

You are already at the latest version

Abstract
Aflatoxin B1 is one of the most toxic mycotoxins contaminating animal feed, and bentonite clays are widely used as adsorbents to reduce its bioavailability. The influence of particle size on bentonite adsorption performance, particularly regarding cost-effectiveness of fine fractionation, remains underexplored. This study investigated natural bentonite from the Bijelo Polje deposit (Montenegro) containing ~55% montmorillonite and its size fractions: <0.200 mm (~72% smectite), <0.037 mm (~75% smectite), and <0.005 mm (~91% smectite), obtained by sieving and centrifugation. Fractions were characterized by laser diffraction, chemical composition, cation exchange capacity, and quantitative XRD (Rietveld refinement). In vitro AFB1 adsorption (2–50 mg/L initial concentration, pH 3.0, 0.02% w/v adsorbent) simulated monogastric gastrointestinal conditions. Particle size reduction progressively increased smectite content, CEC (44–70 meq/100 g), and purity, reducing heavy metals to undetectable levels. All purified fractions achieved satisfactory AFB1 binding (>90% at 4 mg/L). The finest <0.005 mm fraction exhibited the highest maximum adsorption capacity (qmax ≈ 240 mg/g) due to superior specific surface area and site accessibility. However, only the <0.005 mm fraction meets EU regulatory requirements (Commission Implementing Regulation (EU) No 1060/2013) for AFB1-binding feed additives (≥70% dioctahedral smectite, low accompanying minerals, >90% binding), as coarser fractions retain excess quartz and calcite. Extensive fractionation, despite higher costs, is essential for regulatory-compliant, high-performance natural bentonite adsorbents.
Keywords: 
;  ;  ;  ;  

1. Introduction

Mycotoxins are a diverse group of toxic secondary metabolites produced by various fungi, predominantly from the genera Aspergillus, Penicillium, and Fusarium. Their biosynthesis is influenced by multiple factors, including fungal species, storage and transportation conditions, humidity, temperature, and nutrient availability. Mycotoxin contamination of food and feed is a global concern, particularly affecting regions with warm and humid climates, though it is also significant in developed countries, especially in the context of climate change, which facilitates the spread of fungi to new geographical areas [1,2].
Among the most notorious and hazardous mycotoxins are aflatoxins, primarily produced by Aspergillus flavus and Aspergillus parasiticus. Aflatoxin B1 (AFB1) is the most toxic, exhibiting potent carcinogenic activity in numerous experimental models [3]. The International Agency for Research on Cancer (IARC) classifies AFB1 as a Group 1 carcinogen, indicating sufficient evidence of its carcinogenicity in humans [2]. Beyond carcinogenicity, aflatoxins induce a range of adverse effects, including hepatotoxicity, mutagenicity, teratogenicity, and immune suppression. In animals exposed to AFB1, growth retardation, reproductive disorders, and organ damage are observed, while in humans, chronic exposure may contribute to liver cancer development, particularly in synergy with hepatitis B infection [3,4].
Due to their stability during technological processing and thermal resistance, aflatoxins persist in the food chain even after processing. Aflatoxin M1 (AFM1), a hydroxylated metabolite of AFB1, is transferred into milk and dairy products when animals consume contaminated feed. This is particularly concerning as milk and dairy products are staples in children’s diets, rendering this population especially vulnerable [2,3]. Many countries, including those in the European Union, have established stringent maximum permissible levels for aflatoxins in food and feed. However, maintaining these limits remains challenging, particularly under conditions of mass production and inadequate storage [5].
Given the widespread occurrence and risks posed by mycotoxins, a multifaceted approach to their mitigation is essential, encompassing prevention during cultivation and storage, effective detection and analytical monitoring methods, and strategies to reduce their bioavailability. Among these strategies, adsorption agents used as feed additives have garnered significant attention. These agents bind mycotoxins in the gastrointestinal tract of animals, thereby reducing their absorption and transfer into milk and meat [6].
Natural clay minerals, particularly bentonites, are among the most extensively studied adsorbents due to their favorable structural and chemical properties. Bentonites are rich in montmorillonite, a layered smectite mineral belonging to the montmorillonite group. This mineral is characterized by a 2:1 layer structure, formed through the condensation of two tetrahedral sheets and one octahedral sheet. In the tetrahedral sheets, isomorphic substitution of tetravalent silicon (Si⁴⁺) by trivalent aluminum (Al³⁺) occurs, while in the octahedral sheet, aluminum may be substituted by divalent magnesium (Mg²⁺). This isomorphous substitution results in an excess of negative charge on the layers, which is compensated by exchangeable cations—primarily alkali and alkaline earth metal cations—located in the interlayer space. The total amount of these cations is expressed in milliequivalents per 100 g of clay and is referred to as the cation exchange capacity (CEC).
These structural features confer upon montmorillonite the ability to swell in the presence of water, a high specific surface area, and significant cation exchange capacity [7,8]. These properties enable the adsorption of a wide range of organic and inorganic contaminants, including aflatoxins, as well as the intercalation of large molecules and molecular ions within the interlayer space. The adsorption mechanism involves a combination of physical and chemical interactions between mycotoxins and the mineral’s surface, primarily at cationic sites, which may lead to the formation of stable complexes [9]. Montmorillonite is further recognized for its pronounced adsorption of polar molecules and its CEC involving both organic and inorganic cations [10].
The efficacy of adsorption depends on several factors, including the mineral composition of bentonite, particle size, surface energy, the presence of accompanying minerals (e.g., quartz, feldspar, calcite), and prior treatments such as physical (e.g., micronization) or chemical (e.g., surface modification) processes [7,11]. Micronization, the reduction of particle size to the micron level, is one of the methods explored to enhance specific surface area and, consequently, adsorption capacity. However, studies indicate that the effects of micronization are not always consistent and depend on the type of bentonite, its mineral purity, and the crystallographic orientation of its layers [9,11].
In addition to bentonites, zeolites, particularly clinoptilolite, are used in adsorption studies. Surface-modified zeolites have demonstrated effective adsorption of multiple mycotoxins, including zearalenone and ochratoxin A, without compromising the nutritional value of feed [12]. Their stability across a wide pH range and chemical inertness make them suitable for use in the feed industry. A notable example of successful commercial application is Minazel Plus, a modified clinoptilolite that has shown significant efficacy in adsorbing mycotoxins under experimental and practical conditions [12,13].
Although the efficacy of bentonite in adsorbing aflatoxins is well-documented, there remains a need for a deeper understanding of how particle size, the presence of accompanying minerals, and sample preparation methods affect adsorption capacity. Furthermore, elucidating the interaction mechanisms between mycotoxins and adsorbent surfaces is crucial for optimizing their application in real-world systems.
In the European Union, bentonite is authorized as a technological feed additive (1m558) specifically for reducing the contamination of feed by aflatoxin B1 in all animal species. The key regulation is Commission Implementing Regulation (EU) No 1060/2013, later extended to all species by Regulation (EU) 2020/156. To be approved for this purpose, a bentonite must contain at least 70 % dioctahedral smectite (typically montmorillonite), determined by XRD. Equally important, it has to bind at least 90 % of aflatoxin B1 in the standardized in vitro test (0.02 % inclusion level, 4 mg/L AFB1, pH 5.0) recommended by EFSA. Although cation exchange capacity is not a formal regulatory limit, EFSA opinions repeatedly point out that materials meeting the authorisation criteria usually show CEC values above 70–80 meq/100 g, reflecting their high smectite content and adsorption performance [14].
In this context, this study aims to investigate the adsorption of aflatoxin B1 onto bentonite samples of varying particle sizes. The focus is on characterizing the mineral composition of the starting material, evaluating the impact of micronization on specific surface area and structural changes, and assessing adsorption capacity as a function of particle size. The findings of this research will contribute to a better understanding of the factors influencing the efficacy of natural clay materials as mycotoxin adsorbents and may serve as a foundation for further technological advancements in adsorption agents for use in animal feed.

2. Experimental

2.1. Materials

Bentonite used in these investigations originates from deposit Bijelo Polje, Bar, Montenegro. The bentonite raw material (RB) contained certain amount of chert, that was mostly removed by simple dry sieving sample below 0.200 mm. The obtained sieved sample is labeled as the initial sample (IB) in further experiments. Further on, sample was sieved below 0.037 mm (37B) using wet procedure. And finally, sample below 0.005 mm (5B) was obtained by centrifuge.
Aflatoxin B1 (5mg) was obtained from Romer Labs, cat. No.: 10000311; purity min 98.6%. AfB1 stock solution (1000μg/ml) was prepared in acetonitrile (Honeywell) and stored in a freezer.

2.2. Methods

The chemical composition of bentonite was determined using atomic absorption spectrophotometry (AAS) using Perkin Elmer Pin AAcle 900T instrument.
The mineralogical composition of the raw, initial, and micronized bentonite was measured by X-ray powder diffraction analysis (XRPD). The XRD patterns were obtained by a Philips PW 1710 automated diffractometer using a Cu tube operated at 40 kV and 30 mA.
The cation exchange capacity (CEC) of the bentonite was determined by methylene blue adsorption [15].
Particle size distribution was determinate by wet diffraction procedure using Malvern Mastersize 3000.
Adsorption experiments for aflatoxin B1 (AfB1) were conducted using a 0.1 M citrate buffer at pH 3.0, with bentonite concentrations set at 0.02% (w/v), equivalent to 2 mg in 10 mL of solution, in Sarstedt 15-mL polypropylene centrifuge tubes. AfB1 stock solution (1000 μg/mL) was spiked into the 10 mL buffer to achieve final concentrations ranging from 2 to 50 ppm, corresponding to spike volumes of 20 to 500 μL. Samples were incubated for 60 minutes in a MaxQ 4450 Thermo Scientific incubator shaker at 200 rpm and 37°C, followed by centrifugation for 5 minutes at 4200 rpm using an Eppendorf 5804 centrifuge. Supernatants were then diluted 10-fold with a 30% acetonitrile solution containing 0.1% formic acid (HCOOH), vortex-mixed using a Unitexer 1 LLG, filtered through 0.22-μm nylon syringe filters (biocomma®), and collected in 2 mL glass vials for analysis via liquid chromatography coupled with electrospray ionization tandem mass spectrometry (LC-ESI-MS/MS) on an Agilent Technologies 6460c system.

3. Results and Discussion

To develop a commercial bentonite-based product for animal feed aimed at mitigating mycotoxin contamination, the adsorption properties of the raw bentonite sample and its sieved fractions (<0.200 mm, <0.037 mm, and <5 mm) were evaluated. Particular attention was given to the finest fraction (<0.005 mm), since the theoretical particle size range responsible for the highest adsorption capacity of bentonite is typically below 0.005 mm, more precisely 0.002–0.003 mm, where the majority of smectite platelets are concentrated. The characterization included granulometric analysis, chemical composition, heavy metal content, mineralogical composition by X-ray diffraction (XRD), and methylene blue adsorption capacity. The results for the RB and the sieved fractions (IB, 37B and 5B) are presented and compared to assess the impact of particle size reduction on the material’s properties and potential for aflatoxin adsorption, while simultaneously seeking the optimal balance between bentonite quality (adsorption performance) and production cost, as the isolation of particles in the 0.002–0.003 mm range significantly increases processing expenses and, consequently, the final product price.
The written technological scheme for obtaining different products based on bentonite ore "Bijelo Polje" -Bar, for adsorption testing is given on Figure 1.

3.1. Granulometric Analysis

To remove chert from the raw bentonite fraction (RB) and obtain the purified bentonite fraction (IB), the sample was subjected to wet sieving through a 0.200 mm mesh sieve. Particle size distribution analysis revealed that 97% of the particles were smaller than 0.063 mm, while approximately 90% were below 0.0037 mm. Subsequently, sieving at 0.0037 mm was performed, and finally, the <0.005 mm class was separated by centrifugation. The granulometric composition of the IB sample and its sieved fractions B37 and B5 was determined using wet laser diffraction, with the results presented in Figure 2.
The results showed that for the B37 sample, 100% of the particles were below 0.037 mm, while for the B5 sample, 80% of the particles were below 0.005 mm. Considering that 0.005 mm particles are extremely fine, it is assumed that agglomeration of particles occurred during sieving, drying, and sample preparation for measurement.
These results indicate that sieving, as a cost-effective and simple method, effectively concentrates fine particles, with the <0.037 mm fraction achieving a satisfactory particle size distribution. The even finer particle size distribution in the <0.005 mm fraction is expected to increase the specific surface area, thereby enhancing the adsorption capacity for aflatoxins, since finer particles provide a greater number of accessible adsorption sites.
Figure 2. Granulometric composition of the IB, 37B and 5B samples using laser diffraction method.
Figure 2. Granulometric composition of the IB, 37B and 5B samples using laser diffraction method.
Preprints 191945 g002
The similarity in values between the <0.200 mm and <0.037 mm fractions suggests that the majority of montmorillonite is already concentrated in the finer size range of the initial sample, with incremental benefits from further sieving. Vekiru et.al (2015) [7] demonstrated that finer particle sizes enhance the surface area available for mycotoxin adsorption, supporting the potential of the <0.037 and <0.005 mm fraction for improved aflatoxin binding.

3.2. Chemical Composition

The chemical composition of the raw, initial and sieved fractions was analyzed to determine the Al₂O₃ content, a key indicator of montmorillonite ((Na,Ca)₀.₃(Al,Mg)₂Si₄O₁₀(OH)₂·nH₂O) concentration, and heavy metal content to assess safety for animal feed applications. The mineralogical analysis, detailed in Section 3.3, indicates the presence of accessory minerals devoid of aluminum (Al). Consequently, the total Al content in the sample is attributed exclusively to bentonite (montmorillonite). This attribution enables the quantification of bentonite content within the sample. The results are presented in Table 1 (chemical composition) and Table 2 (heavy metals).
The Al₂O₃ content, which serves as an indicator of montmorillonite purity, increased progressively with each purification step. In the raw bentonite sample (RB), the Al₂O₃ content was 10.52%, rising to 12.97% in the initial purified fraction (IB) after removal of chert through wet sieving. Further sieving to obtain the <0.037 mm fraction (B37) resulted in an Al₂O₃ content of 13.76%, while the finest <0.005 mm fraction (B5) exhibited the highest value of 16.69%.
Considering the theoretical Al₂O₃ content in pure montmorillonite of 18.57% [16], these values reflect a substantial enrichment in montmorillonite. Removal of chert from the raw sample increased the montmorillonite content by more than 13%. Subsequent sieving below 0.037 mm provided an additional increase of approximately 4%, yielding a total enrichment of about 17% relative to the raw material. The finest fraction (B5) showed the most pronounced improvement, with over 33% higher montmorillonite content compared to the raw sample.
This progressive enrichment is particularly significant in the context of regulatory requirements for the use of bentonite as a feed additive. According to the relevant European directive, bentonite products intended for this application must contain at least 70% montmorillonite. Both the B37 and B5 fractions clearly meet this threshold, while the IB fraction is close to compliance. These results demonstrate that simple, cost-effective physical separation techniques, such as wet sieving and centrifugation, can effectively upgrade lower-grade bentonite to meet stringent quality standards for aflatoxin-binding applications in animal nutrition.
Given the intended use of bentonite as an additive in animal feed to mitigate mycotoxin contamination, the analysis of heavy metal content is critical to ensure the material’s safety, as certain heavy metals can be toxic to livestock even at low concentrations. The list of the detected heavy metals in IB, 37B and 5B is given in Table 2.
Table 2. The content of heavy metals in raw and samples IB, 37B, and 5B.
Table 2. The content of heavy metals in raw and samples IB, 37B, and 5B.
Komp. Pb As Hg
ppm
IB 65 0.95 2.3
37B <5 <0.01 <0.01
5B <5 <0.01 <0.01
The heavy metal content was significantly reduced in the sieved fractions: lead (Pb) was below 5 ppm, and arsenic (As) and mercury (Hg) were below 0.01 ppm in both the <0.037 mm and <0.005 mm fractions, compared to higher (but still low) levels in the initial sample. The reduction in heavy metal content in the sieved fractions enhances their suitability for animal feed, as low contaminant levels minimize health risks. Carraro et al. (2014) [17] reported that finer bentonite fractions often exhibit lower heavy metal contents due to the removal of coarser impurity phases, supporting the safety of the sieved fractions for feed applications.

3.3. Mineralogical Composition

The mineralogical composition of the RB and its sieved fractions was determined using X-ray powder diffraction (XRD), with diffractograms presented in Figure 3. The results are summarized in Table 3.
The RB sample is highly heterogeneous in the raw state, containing only 54.9 wt.% smectite, with quartz (32.2 wt.%) and cristobalite (11.4 wt.%) being the dominant accessory minerals and calcite present in minor amounts (1.5 wt.%). Plagioclases and dolomite are present in trace amount. Such a composition is typical of many volcanogenic Ca/Mg-bentonites in the Balkan region, where alteration of pyroclastic material occurred in a marine or lacustrine environment, preserving significant portions of primary silica phases (cristobalite and quartz) [18,19,20].
Particle-size fractionation proved to be a highly effective purification method. Simple dry sieving to <0.200 mm (sample IB) increased the smectite content to 72.3 wt.%, reducing quartz and cristobalite by approximately 38 % and 42 %, respectively. Further separation of the clay-size fraction (<0.037 mm, sample 37B) using conventional wet sieving provided a modest additional improvement (smectite 75.3 wt.%), indicating that most of the non-clay minerals coarser than ~0.040 mm had already been removed in the first sieving step. In both samples, the presence of plagioclases and dolomite was not detected.
The most significant enrichment was achieved in the ultrafine <0.005 mm fraction (sample 5B), where the smectite content reached 91.2 wt.%. In this fraction, quartz was reduced to 3.9 wt.% and cristobalite to 4.9 wt.%, while calcite was present only in trace amounts. The marked decrease of both quartz and cristobalite with decreasing particle size confirms that these phases occur predominantly as discrete silt- to fine-sand-sized grains or crystalline aggregates, whereas smectite forms sub-micrometer platelets that are easily concentrated in the finest fraction by hydrodynamic separation.
The mineralogical composition of the obtained sample 5B fully complies with the requirements of the Commission Implementing Regulation (EU) No 1060/2013 concerning the authorisation of bentonite as a feed additive for all animal species, which was extended by a regulation in 2021.
The montmorillonite contents estimated from the Al₂O₃ chemical composition showed excellent agreement with those determined by quantitative XRD analysis using the Rietveld refinement method, with differences of only 1–2% across all samples—a discrepancy that is well within acceptable limits for such combined chemical-mineralogical assessments and has negligible impact on the overall interpretations.
The observed trend is consistent with the well-documented density and size difference between smectite (density ~2.2–2.6 g cm⁻³, platelet thickness <0.1–1 μm) and the denser quartz and cristobalite grains (density 2.65 and 2.32 g cm⁻³, respectively, but typically larger crystal size). Consequently, the 5B reaches a purity comparable to or higher than many commercial high-grade calcium bentonites and approaches the quality of the best natural sodium bentonites after only physical processing, without the need for chemical activation or beneficiation by heavy liquids.
These results demonstrate that RB is highly amenable to upgrading by simple and low-cost size-separation techniques, yielding a premium-grade smectite product suitable for animal feed.

3.4. Cation Exchange Capacity (CEC) and Methylene Blue Adsorption

The cation exchange capacity (CEC) through methylene blue adsorption capacity was evaluated to assess the adsorption properties of the raw sample and its sieved fractions. For all samples, CEC was measured using the methylene blue method, and methylene blue adsorption capacity was quantified. The results are presented in Table 4.
The cation exchange capacity (CEC), determined using the methylene blue method, showed a progressive increase with the degree of purification. In the raw bentonite sample (RB), the CEC was 43.76 meq/100 g. After removal of chert to obtain the initial purified fraction (IB), it increased to 55.64 meq/100 g. The <0.037 mm fraction (B37) exhibited a slightly higher value of 56.11 meq/100 g, while the finest <0.005 mm fraction (B5) displayed the highest CEC of 70.30 meq/100 g.
These results clearly demonstrate that the removal of chert significantly enhances the cation exchange capacity of the bentonite. However, the difference between the IB and B37 fractions is negligible. This can be attributed to the fact that the IB sample already contains over 90% of particles in the <0.037 mm class, which is primarily responsible for the cation exchange capacity in both samples. Furthermore, the specific surface area, which plays a crucial role in determining CEC, is very similar between these two fractions due to the high proportion of the <0.037 mm particles.
In contrast, the <0.005 mm fraction (B5) exhibits a substantially higher CEC, which can be explained by its significantly greater montmorillonite content and markedly higher specific surface area resulting from the much finer particle size. These findings underscore the effectiveness of particle size fractionation in improving the functional properties of bentonite, particularly for applications requiring high cation exchange capacity, such as aflatoxin adsorption in animal feed.
Coarser fractions, which may include quartz or other non-clay minerals, show reduced adsorption efficiency due to lower surface area and fewer active binding sites [21]. Grant et al [22] also notes that the effectiveness of clay for mycotoxin binding is influenced by its purity and particle size. Finer fractions, which are richer in smectite, show higher adsorption efficiency, while coarser fractions may contain accessory minerals (e.g., quartz, feldspar) that dilute the adsorptive capacity. While cristobalite is not explicitly mentioned, the principle of non-adsorptive minerals reducing efficiency in coarser fractions applies.

3.5. Mycotoxin Adsorption

As stated in the Introduction, bentonite intended for use as an aflatoxin-binding feed additive (1m558) must meet the purity criteria defined in Commission Implementing Regulation (EU) No 1060/2013, including a minimum dioctahedral smectite content of 70 %, cation exchange capacity typically in the range 70–80 meq/100 g or higher, and specified limits for accompanying minerals.
Based on the physicochemical and mineralogical characterization presented, all investigated samples except the raw bentonite (RB) met this regulatory requirement. Consequently, sample RB was excluded from the subsequent aflatoxin B1 adsorption experiments.
Figure 4 illustrates the efficiency of aflatoxin B1 (AfB1) removal at various initial aflatoxin concentrations. It can be observed that, at lower initial concentrations, all three tested samples effectively—and in most cases completely—remove the aflatoxin. From this perspective, all samples meet the requirement specified by European regulations, which mandate an AfB1-binding capacity exceeding 90% under standardized conditions (at pH 5.0, with an initial AfB1 concentration of 4 mg/L and an adsorbent dosage of 0.02% (w/v)). At higher initial concentrations, samples 5B and 37B continue to maintain a high degree of aflatoxin removal, whereas the efficiency of sample IB begins to decline.
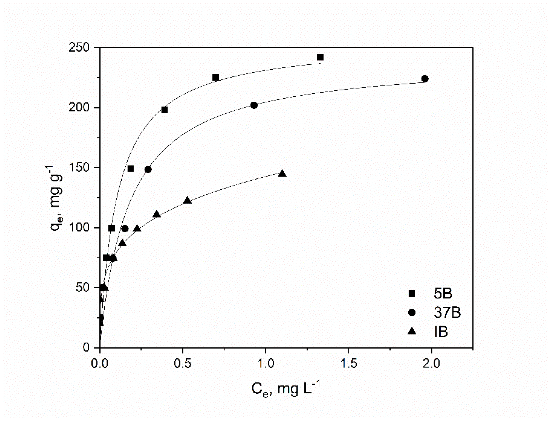
The obtained results were interpreted through the application of adsorption isotherms. The experimental data are presented in Figure 5 and Table 5. Overall, the results align well with expectations based on the structural and compositional characteristics of the investigated bentonite samples.
The highest adsorption capacity for aflatoxin B1 (AfB1) was achieved with sample 5B, followed by sample 37B, and then sample IB. This order of performance can be primarily attributed to differences in particle size distribution and the resulting specific surface area, which directly influence the accessibility of adsorption sites.
Sample IB contains approximately 90% of particles in the >0.037 mm fraction, whereas sample 37B comprises over 80% of particles in the <0.005 mm fraction. Sample 5B, which exhibited the highest adsorption performance, has an even finer particle size distribution, with a predominant fraction below 0.005 mm. Finer particles generally provide a larger external specific surface area and better dispersion in aqueous media, thereby enhancing the availability of active adsorption sites on the montmorillonite surfaces and edges.
Given that all three samples have a relatively high montmorillonite content, the observed differences in adsorption capacity are unlikely to arise primarily from variations in bulk mineralogical composition. Instead, specific surface area and the accessibility of adsorption sites are the dominant factors. The swelling behavior of montmorillonite, enabled by its 2:1 layer structure and high cation exchange capacity, allows interlayer expansion and exposure of internal surfaces [10]. In finer fractions, however, the increased external surface area and reduced diffusion limitations further facilitate efficient interaction with the relatively large and polar AfB1 molecules.
The adsorption isotherms (Figure 5) confirm that sample 5B displays the steepest initial slope and highest plateau, indicating stronger affinity and greater maximum adsorption capacity (qmax). This is consistent with its higher proportion of ultrafine particles, which minimize mass transfer resistances and maximize utilization of both external and interlayer sites. In contrast, the coarser particles in sample IB result in lower effective surface area available for rapid adsorption, leading to reduced overall capacity despite comparable montmorillonite content.
These findings highlight the critical role of particle size reduction in optimizing bentonite-based adsorbents for mycotoxin binding. Mechanical processing to obtain finer fractions can significantly enhance adsorption efficiency without altering the intrinsic chemical properties of the clay mineral. Moreover, all samples particularly 5B and 37B maintained high binding efficiencies across a range of AfB1 concentrations, meeting regulatory requirements for practical application in feed decontamination.
In comparison with chemically modified bentonites, the mechanical particle size reduction approach employed in the present study offers a viable, practical, and more sustainable alternative for enhancing AfB1 adsorption capacity.
Numerous studies have shown that chemical modifications such as intercalation with organic cationic surfactants, incorporation of metal ions (e.g., Cu and Zn), acid activation, thermal treatment, or the use of nano-montmorillonite composites can significantly improve the binding efficiency of bentonites toward AfB1 and other mycotoxins.
For instance, intercalation with hexadecyltrimethylammonium bromide (HTAB) leads to an obvious increase in interlamellar spacing and hydrophobic character of montmorillonite; bentonite modified by acid and HTAB exhibits excellent adsorption capacity for AfB1 and zearalenone (ZEA) in both acidic and alkaline conditions compared with raw montmorillonite. Similarly, nano-montmorillonite modified with stearyl trimethyl ammonium bromide showed 36% higher sorption capacity [23,24].
Incorporation of metal ions also enhances performance: Cu-modified bentonite increased adsorption capacity from 40.98 mg/g to 66.2 mg/g, while Zn-modified bentonite reached 60.17 mg/g [25,26,27].
Acid activation increases the surface area and porosity of the clay mineral, creating more binding sites for mycotoxins [28]. These modifications generally increase interlayer spacing, hydrophobicity, or specific surface area, resulting in higher adsorption capacities—particularly for simultaneous binding of polar (AfB1) and non-polar mycotoxins such as zearalenone or deoxynivalenol.
However, such chemical treatments involve additional processing steps, potential environmental concerns due to chemical waste, higher production costs, and questions regarding long-term stability and regulatory approval for feed applications. In contrast, the mechanical grinding used here to produce ultrafine particles (<0.005 mm predominant in samples 5B and 37B) achieved superior AfB1 adsorption without any chemical alteration. This improvement stems from increased external specific surface area, better dispersion in aqueous media, and reduced diffusion limitations, providing greater access to the inherent adsorption sites on montmorillonite surfaces and edges.
The adsorption capacities observed in the finer fractions align with or surpass those of many unmodified bentonites and approach the performance of some chemically modified variants, while offering clear advantages in simplicity, cost-effectiveness, environmental friendliness, and safety. Mechanical processing preserves the natural mineral composition and cation exchange properties, avoiding risks of interfering with nutrient bioavailability or introducing residues that could affect animal health.
Furthermore, all tested samples—especially the mechanically refined ones—met the stringent European regulatory criteria for AfB1 binding (>90% at standardized conditions), confirming the practical viability of this non-chemical strategy for mycotoxin mitigation in animal feeds. Overall, this approach provides a straightforward, scalable, and sustainable method to optimize natural bentonite resources for effective aflatoxin detoxification.
The adsorption of aflatoxin B1 (AfB1) onto montmorillonite-rich bentonites is primarily driven by chemisorption, involving strong interactions such as coordination bonds and ion-dipole forces between the carbonyl groups (especially the β-dicarbonyl system) of AfB1 and exchangeable interlayer cations (e.g., Ca²⁺, Na⁺), often supplemented by electron donor-acceptor processes or water bridging [29,30,31]. This chemisorptive character is supported by high adsorption enthalpies (>40 kJ/mol), spontaneous exothermic reactions, and minimal desorption across a wide pH range, ensuring stable complexes in the gastrointestinal tract.
By reducing particle size and increasing specific surface area through mechanical processing, new opportunities arise for enhanced chemisorption in addition to improved ion exchange, due to greater accessibility of active sites on surfaces and edges.

4. Conclusions

This study demonstrates that simple physical particle size fractionation (sieving and centrifugation) significantly enhances the quality of bentonite from the Bijelo Polje deposit (Bar, Montenegro) for use as an aflatoxin B1 (AFB1) adsorbent in animal feed.
Progressively reducing particle size from the raw sample (RB) to fractions <0.200 mm (IB), <0.037 mm (37B), and <0.005 mm (5B) resulted in increased smectite content (from 54.9% to 91.2%), cation exchange capacity (CEC from 43.76 to 70.30 meq/100 g), and purity, while reducing impurities and heavy metals to undetectable levels.
The finest fraction (5B) exhibited the highest AFB1 adsorption performance, with the greatest maximum adsorption capacity (qmax) and binding efficiency (>90% at 4 mg/L AFB1 and 0.02% adsorbent under relevant pH conditions), attributed to its higher specific surface area and greater accessibility of active sites on montmorillonite surfaces and edges. Fraction 37B showed good adsorption capacity, though lower than 5B, while IB performed the weakest.
Only the ultrafine fraction 5B (91.2% smectite) fully complies with EU regulatory requirements (Commission Implementing Regulation (EU) No 1060/2013) for bentonite as an AFB1-binding feed additive (≥70% dioctahedral smectite and >90% AFB1 binding), primarily due to its sufficiently low quartz and calcite content (less than 4%). Fraction 37B (75.3% smectite), despite satisfactory adsorption performance, does not meet these criteria owing to higher levels of quartz impurities, limiting its direct use in animal feed but making it suitable for other applications.
Compared to chemical modifications (e.g., organic surfactant intercalation, acid or metal ion activation), mechanical fractionation provides a simpler, cost-effective, environmentally friendly, and safer alternative that preserves the natural mineral properties without risks to nutrient bioavailability.
These findings highlight the critical role of extensive particle size reduction in achieving regulatory-compliant, high-performance natural bentonite adsorbents and support the development of premium clay-based products for mycotoxin mitigation in feed. Future research should include in vivo efficacy testing and industrial-scale optimization.

Funding

This work was supported by the Ministry of Science, Technological Development and Innovation of the Republic of Serbia [grant numbers 451-03-136/2025-03/20023 and 451-03-65/2024-03/200131, 451-03-65/2024-03/200126 and 451-03-65/2024-03/200155].

Acknowledgments

This work was supported by the Ministry of Science, Technological Development and Innovation of the Republic of Serbia. This research contributes to Goals 2 and 12 of the United Nations Sustainable Development Goals (SDGs) as outlined in Agenda 2030, by Ending hunger, achieve food security and improved nutrition and promote sustainable agriculture and Ensuring sustainable consumption and production patterns.

References

  1. Bennett JW, Klich M. Mycotoxins. Clin Microbiol Rev. 2003, 16(3), 497–516.
  2. International Agency for Research on Cancer (IARC). Aflatoxins. In: IARC Monographs on the Evaluation of Carcinogenic Risks to Humans. Vol. 100F. Lyon: IARC; 2012.
  3. Wild, CP; Gong, YY. Mycotoxins and human disease: a largely ignored global health issue. Carcinogenesis 2010, 31(1), 71–82. [Google Scholar] [CrossRef] [PubMed]
  4. Williams, JH; Phillips, TD; Jolly, PE; Stiles, JK; Jolly, CM; Aggarwal, D. Human aflatoxicosis in developing countries: a review of toxicology, exposure, potential health consequences, and interventions. Am J Clin Nutr. 2004, 80(5), 1106–1122. [Google Scholar] [CrossRef]
  5. European Commission. Commission Regulation (EC) No 1881/2006 of 19 December 2006 setting maximum levels for certain contaminants in foodstuffs. Off J Eur Union. 2006, L364, 5–24. [Google Scholar]
  6. Huwig, A; Freimund, S; Käppeli, O; Dutler, H. Mycotoxin detoxication of animal feed by different adsorbents. Toxicol Lett. 2001, 122(2), 179–188. [Google Scholar] [CrossRef]
  7. Vekiru, E; Fruhauf, S; Rodrigues, I; Ottner, F; Krska, R; Schatzmayr, G; et al. In vitro binding assessment and in vivo efficacy of several adsorbents against aflatoxin B1. World Mycotoxin J 2015, 8(4), 477–488. [Google Scholar] [CrossRef]
  8. Krekeler, MP; Guggenheim, S. Defining smectite clay from a structural perspective: a review. Clays Clay Miner. 2005, 53(5), 553–563. [Google Scholar]
  9. Döll, S; Dänicke, S. The efficacy of modified bentonites and clinoptilolite to prevent aflatoxin B1-induced adverse effects in the performance of broilers. Anim Feed Sci Technol. 2004, 113(1-4), 1–10. [Google Scholar]
  10. van Olphen H. Clay Colloid Chemistry. New York, NY: Interscience Publishers, John Wiley & Sons; 1963.
  11. Jaynes, WF; Zartman, RE. Aflatoxin toxicity reduction in feed by enhanced binding to surface-modified clay additives. Toxins (Basel) 2011, 3(8), 551–565. [Google Scholar] [CrossRef]
  12. Tomasevic-Canovic, M; Milonjic, S; Milosevic, M; Rajic, N; Vukojevic, M. Adsorption of mycotoxins zearalenone and ochratoxin A on natural zeolitic tuff modified with cetylpyridinium chloride. Colloids Surf B Biointerfaces 2003, 30(3), 157–162. [Google Scholar]
  13. Krstović, S; Škrinjar, M; Živančev, J; Jajić, I; Antić, Lj; Baltić, T. Efikasnost Minazela Plus u adsorpciji mikotoksina. Arh Vet Med. 2009, 2(1), 65–74. [Google Scholar]
  14. Commission Implementing Regulation (EU) No 1060/2013 of 29 October 2013 concerning the authorisation of bentonite as a feed additive for all animal species. Off J Eur Union. 2013. Available online: https://eur-lex.europa.eu/eli/reg_impl/2013/1060/oj.
  15. Kahr, G; Madsen, FT. Determination of the cation exchange capacity and the surface area of bentonite, illite and kaolinite by methylene blue adsorption. Appl Clay Sci. 1995, 9(5), 327–336. [Google Scholar] [CrossRef]
  16. Webmineral. Montmorillonite Data. Available online: https://webmineral.com/data/Montmorillonite.shtml (accessed on 22 December 2025).
  17. Carraro, A; De Giacomo, A; Giannossi, ML; Medici, L; Muscarella, M; Palazzo, L; et al. Clay minerals as adsorbents of aflatoxin M1 from contaminated milk and effects on milk quality. Appl Clay Sci. 2014, 88-89, 92–99. [Google Scholar] [CrossRef]
  18. Yalçin, H; Gümüşer, G. Mineralogical and geochemical characteristics of late Cretaceous bentonite deposits of the Kelkit Valley Region, northern Turkey. Clay Minerals 2000, 35(5), 807–825. [Google Scholar] [CrossRef]
  19. Damian, G; Damian, F; Szakács, Z; Iepure, G; Aştefanei, D. Mineralogical and Physico-Chemical Characterization of the Oraşu-Nou (Romania) Bentonite Resources. Minerals 2021, 11(9), 938. [Google Scholar] [CrossRef]
  20. Ivanova, R; Dimitrova, D; Sergeeva, I; Tzvetanova, Y. Geochemistry of bentonite clays from the Eastern Rhodopes (SE Bulgaria): preliminary results. Rev Bulg Geol Soc. 2020, 81(3), 78–80. [Google Scholar] [CrossRef]
  21. Jaynes, WF; Zartman, RE; Hudnall, WH. Aflatoxin B1 adsorption by clays from water and corn meal. Appl Clay Sci. 2007, 36(1-3), 197–205. [Google Scholar] [CrossRef]
  22. Grant, PG; Phillips, TD. Isothermal adsorption of aflatoxin B1 on HSCAS clay. J Agric Food Chem. 1998, 46(2), 599–605. [Google Scholar] [CrossRef]
  23. Mao, J; Lv, G; Zhou, R. Effect of acid-treated and hexadecyltrimethylammonium bromide-modified montmorillonites on adsorption performance of mycotoxins. Environ Sci Pollut Res. 2020, 27, 4284–4293. [Google Scholar] [CrossRef]
  24. Zhang, W; Zhang, L; Jiang, X; Liu, X; Li, Y; Zhang, Y. Enhanced adsorption removal of aflatoxin B1, zearalenone and deoxynivalenol from dairy cow rumen fluid by modified nano-montmorillonite and evaluation of its mechanism. Anim Feed Sci Technol. 2020, 259, 114366. [Google Scholar] [CrossRef]
  25. Nones, J; Solhaug, A; Eriksen, GS; Macuvele, DLP; Poli, A; Soares, C; et al. Bentonite modified with zinc enhances aflatoxin B1 adsorption and increase survival of fibroblasts (3T3) and epithelial colorectal adenocarcinoma cells (Caco-2). J Hazard Mater. 2017, 337, 80–89. [Google Scholar] [CrossRef]
  26. Daković, A; Kragović, M; Rottinghaus, GE; Ledoux, DR; Butkeraitis, P; Vojislavljević, DZ; et al. Preparation and characterization of zinc-exchanged montmorillonite and its effectiveness as aflatoxin B1 adsorbent. Mater Chem Phys. 2012, 137(1), 213–220. [Google Scholar] [CrossRef]
  27. Dakovic, A; Tomasevic-Canovic, M; Dondur, V; Rottinghaus, GE; Medakovic, V; Zaric, S. Adsorption of mycotoxins by organozeolites. Colloids Surf B Biointerfaces 2005, 46, 20–25. [Google Scholar] [CrossRef] [PubMed]
  28. Feizy, J; Rahimi, A; Tabari, DG; et al. Optimization of modified bentonite mycotoxin binders for enhanced adsorption efficiency under simulated gastric and intestinal conditions. Sci Rep. 2025, 15, 27513. [Google Scholar] [CrossRef]
  29. Phillips, T.D.; et al. Selective chemisorption and detoxification of aflatoxins by phyllosilicate clay. Natural Toxins 1995, 3(4), 204–213. [Google Scholar] [CrossRef] [PubMed]
  30. Grant, P.G.; Phillips, T.D. Isothermal adsorption of aflatoxin B1 on HSCAS clay. Journal of Agricultural and Food Chemistry 1998, 46(2), 599–605. [Google Scholar] [CrossRef] [PubMed]
  31. Desheng, Q. Adsorption of aflatoxin B1 on montmorillonite. Poultry Science 2005, 84(6), 959–961. [Google Scholar] [CrossRef]
Figure 1. Written technological scheme for obtaining different products based on bentonite ore "Bijelo Polje" -Bar, for adsorption testing.
Figure 1. Written technological scheme for obtaining different products based on bentonite ore "Bijelo Polje" -Bar, for adsorption testing.
Preprints 191945 g001
Figure 3. XRD patterns of (a) RB, (b) IB, (c), 37B and (d) 5B samples.
Figure 3. XRD patterns of (a) RB, (b) IB, (c), 37B and (d) 5B samples.
Preprints 191945 g003
Figure 4. Efficiency of aflatoxin B1 (AfB1) removal at various initial aflatoxin concentrations.
Figure 4. Efficiency of aflatoxin B1 (AfB1) removal at various initial aflatoxin concentrations.
Preprints 191945 g004
Figure 5. Adsorption isotherms for adsorption of AfB1 on bentonite.
Figure 5. Adsorption isotherms for adsorption of AfB1 on bentonite.
Preprints 191945 g005
Table 1. The aluminum content in raw and samples IB, 37B, and 5B.
Table 1. The aluminum content in raw and samples IB, 37B, and 5B.
RB IB 37B 5B
Al2O3, % 10.52 12.97 13.76 16.69
Montmorillonite, % 56.65 69.84 74.10 89.88
Table 3. Quantitative mineralogical composition obtained by Rietveld method.
Table 3. Quantitative mineralogical composition obtained by Rietveld method.
Sample Smectite Quartz Cristobalite Calcite
%
RB 54.9 32.2 11.4 1.5
IB 72.3 19.9 6.6 1.2
37B 75.3 18.7 5.2 0.8
5B 91.2 3.9 4.9 Trace
Table 4. Cation Exchange Capacity (CEC) and Methylene Blue Adsorption Capacity.
Table 4. Cation Exchange Capacity (CEC) and Methylene Blue Adsorption Capacity.
Sample CEC (MB)
meq/100 g
MB Adsorption
(mg/g)
RB 43.76 140
IB 55.64 178
37B 56.11 179.5
5B 70.30 225
Disclaimer/Publisher’s Note: The statements, opinions and data contained in all publications are solely those of the individual author(s) and contributor(s) and not of MDPI and/or the editor(s). MDPI and/or the editor(s) disclaim responsibility for any injury to people or property resulting from any ideas, methods, instructions or products referred to in the content.
Copyright: This open access article is published under a Creative Commons CC BY 4.0 license, which permit the free download, distribution, and reuse, provided that the author and preprint are cited in any reuse.
Prerpints.org logo

Preprints.org is a free preprint server supported by MDPI in Basel, Switzerland.

Subscribe

Disclaimer

Terms of Use

Privacy Policy

Privacy Settings

© 2026 MDPI (Basel, Switzerland) unless otherwise stated