Submitted:
13 March 2023
Posted:
14 March 2023
Read the latest preprint version here
Abstract
Keywords:
1. Introduction
2. Tools, contrivances and methods of fabrication of the polygonal masonry
2.1. Clay model shape transfer on a stone billet by means of a 3D-pantograph


Photo 1. Cusco (V. M. Soroka, 2021).
Photo 2. Cusco (V. M. Soroka, 2021).
Photo 3. Cusco (S. N. Kozintsev, photo.sirano.info).2.2. Pantograph application for fabrication of the polygonal masonry blocks by casting
Photo 4. Cusco (V. M. Soroka, 2021).
Photo 5. Cusco (V. M. Soroka, 2021).
Photo 6. Ollantaytambo (C. Jansen, M. Düerkop, 2016, www.travel-badger.com).2.3. Usage of replicas
2.3.1. Replica-pancake
Photo 7. Ollantaytambo (B. Everett, www.facebook.com/barry.everett.3).2.3.2. Replica of replica
Photo 8. Ollantaytambo (C. Boudou, 2013).
Photo 9. Ollantaytambo (B. Foerster, 2009, hiddenincatours.com).2.4. The main problem
2.5. What else was the clay model of the object needed for?
- to have a small model of the object consisting of many parts of a complicated shape connected to each other in a complicated way;
- to turn each block in hands;
- to evaluate proportions more precisely;
- to correct the blocks if something is disliked in their shape or fitting;
- to assemble/disassemble the model wall to check the fundamental possibility of assembling the object containing locking elements;
- to assemble/disassemble the model wall to analyze the operations for moving, mounting, and installing heavy stone blocks;
- to see in advance how the object will look after the end of construction.
Photo 10. Temple of Ten Niches, Ollantaytambo (P. Adams, 2012, manboyinthepromisedlanddotcom.wordpress.com).
Photo 11. Temple of Ten Niches, Ollantaytambo (A. Fuchs, 2008, sy-akka.de/ wordpress). Pay attention to the symmetrical arrangement of the blocks in the masonry.2.6. What are the advantages of the pantograph over a replica?
Photo 12. Ollantaytambo (B. Everett, www.facebook.com/barry.everett.3).2.7. Reverse approach: clay model creation by a stone billet, formation of the interface surface and its transfer on the stone billet
Photo 13. Ollantaytambo (I. Otkalo, 2015, peru-info.me).2.8. Several more advantages of the pantograph
2.9. Method combining elements of the replica, clay model and pantograph methods
Photo 14. Wall of Six Monoliths, Ollantaytambo (P. Špindler, 2008, commons.wikimedia. org). Most likely, the Wall is built using the method combining elements of the methods of replica, clay model, and 3D-pantograph. The small stones under the megaliths indicate that the Wall seems to have been once reassembled, and possibly moved.
Photo 15. Ollantaytambo (E. Berzin, 2020, allenatore.livejournal.com).2.10. “Planetary” pantograph for use in construction
Photo 16. The polygonal Face Towers of the Angkor temple complex, Cambodia (D. Wilmot, 2005, www.flickr.com/photos/david_wilmot). According to the proposed technology, the reduced clay model of a Face Tower consisted of a number of parts forming a polygonal masonry. For each part of the clay model, an enlarged stone copy was produced using the 3D-pantograph. The Face Tower was assembled from the enlarged stone copies of these parts. The Face Towers have symmetry, which may also speak in favor of using a 3D-pantograph for their fabrication.2.10. Topography translator based on the double parallelogram mechanism
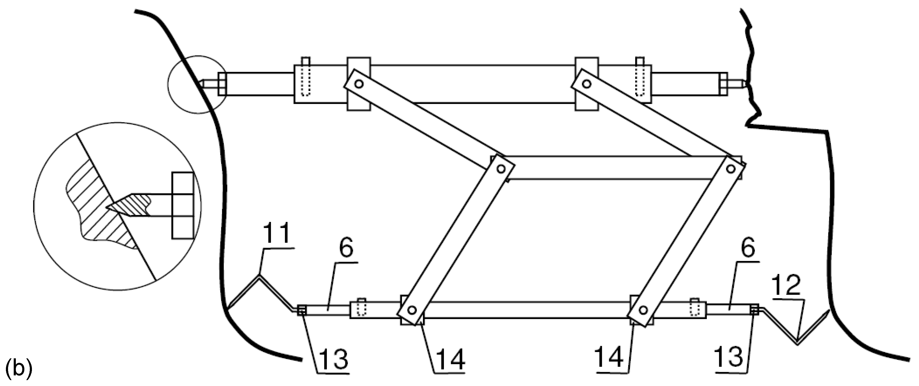
2.11.1. Topography translator design
2.11.2. Order of operation with the topography translator
2.10.3. The stone block processing sequence in the polygonal masonry by the translator
2.10.4. Specifics of the topography translator application
4. Discussion
Acknowledgments
References
- “Polygonal masonry”, Wikipedia.
- “List of earthquakes in Peru”, Wikipedia.
- C. Cuadra, “Dynamic characteristics of Inca’s stone masonry”, ch. 15, pp. 421-460 in book “Masonry construction in active seismic regions” (series in civil and structural engineering), edited by R. Rupakhety, D. Gautam, 466 pp., Woodhead Publishing, 2021.
- M. A. Rodríguez-Pascua, C. Benavente Escobar, L. Rosell Guevara, C. Grützner, L. Audin, R. Walker, B. García, E. Aguirre, “Did earthquakes strike Machu Picchu?”, Journal of Seismology, vol. 24, pp. 883-895, 2020. [CrossRef]
- K-G. Hinzen, A. Montabert, “Rectangular blocks vs polygonal walls in archaeoseismology”, Annals of Geophysics, vol. 60, no. 4. pp. S0443-0460, 2017. [CrossRef]
- J.-P. Protzen, “Inca quarrying and stonecutting”, Journal of the Society of Architectural Historians, vol. 44, no. 2, pp. 161-182, 1985.
- E. Laroze, A. Garric, “La technique du sciage des joints dans la maçonnerie ptolémaïque en grès”, Bulletin de l'Institut Français d'Archéologie Orientale (BIFAO), vol. 113, pp. 239-282, 2013 (in French).
- “Polygonal wall” in Delphi, Greece, Wikipedia.
- B. Clifford, W. McGee, M. Muhonen, “Recovering cannibalism in architecture with a return to cyclopean masonry”, Nexus Network Journal, vol. 20, pp. 583-604, 2018. [CrossRef]
- O. J. Outwater, “Building the fortress of Ollantaytambo”, Archaeology, vol. 12, no. 1, pp. 26-32, 1959.
- J.-P. Protzen, “Inca architecture and construction at Ollantaytambo”, Oxford University Press, 303 pp., New York, Oxford, 1993.
- V. R. Lee, “The building of Sacsahuaman”, Journal of Andean Archaeology (Ñawpa Pacha), vol. 24, iss. 1, pp. 49-60, 1986.
- E. M. Shilin, “Polygonal masonry in Peru in South America – a particular view of an architect”, Projects-of-brick-houses.rf (in Russian).
- Alexander, “Polygonal masonry: cottage technologies”, YouTube, 2015 (in Russian).
- Alexander, “Polygonal masonry: cottage technologies II”, YouTube, 2016 (in Russian).
- Unraveling History, “How was the polygonal masonry made?”, YouTube, 2019 (in Russian).
- Alexander Tamanskiy, “Inca megaliths, polygonal masonry and lie of historians”, YouTube, 2021 (in Russian).
- “Pantograph”, Wikipedia.
- GRESAR, “Traces of somebody else's technologies”, parts 1-10, YouTube, 2019-2021 (in Russian).
- “Terrace (earthworks)”, Wikipedia.
- A. Tamanskiy, “Other history of the Roman Empire”, 400 pp., 2nd edition, 2020 (in Russian).
- Alexander Tamanskiy, “When did cities emerge?”, YouTube, 2021 (in Russian).
- Alexander Tamanskiy, “Roman roads of pre-Columbian America”, YouTube, 2021 (in Russian).
- I. I. Artobolevsky, “Mechanisms in modern engineering design: A handbook for engineers, designers and inventors”, vol. 1, Mir, Moscow, 1976.
- M. Rogińska-Niesłuchowska, “The pantograph and its geometric transformations – a former popular tool for copying and scaling”, The Journal of Polish Society for Geometry and Engineering Graphics, vol. 29, pp. 59-65, 2016.
- Michael Keropian, “3D Pantograph enlarging”, parts 1-7, YouTube, 2018.
- Michael Keropian, “Enlarging and reducing sculpture, 3D pantograph”, Michael Keropian Sculpture.
- “Pulley”, Wikipedia.
- “Block and tackle”, Wikipedia.
- “Winch”, Wikipedia.
- “Crane (machine)”, Wikipedia.
- SGD Sacred Geometry Decoded, “How the ancients could move & place megaliths with primitive tech”, YouTube, 2022.
- SGD Sacred Geometry Decoded, “Coral Castle explained & the mystery making methodology explained”, YouTube, 2022.
- SGD Sacred Geometry Decoded, “How to precisely steer a megalith with primitive technology”, YouTube, 2022.
- SGD Sacred Geometry Decoded, “Ancient cranes are modern cranes gears plus compound pulleys”, YouTube, 2020.
- D. Schilling, “Spiezer сhronik”, p. 755, Manuscript, 806 pp., 15th century (Burgerbibliothek, Mss. Hist. Helv. I16, Bern, in German).
- G. I. Gorchakov, Y. M. Bazhenov, “Building materials”, 688 pp., Stroyizdat, Moscow, 1986 (in Russian).
- J. Davidovits, F. Davidovits, “The pyramids. An enigma solved”, 427pp., 2nd edition, Geopolymer Institute, Saint-Quentin, 2001.
- Tamanskiy International, “When did Ancient or Classical Egypt end?”, YouTube, 2022 (in Russian).
- Tamanskiy International, “Incomprehensible technologies and construction speed of the granite embankments in St. Petersburg”, YouTube, 2022 (in Russian).
- Tamanskiy International, “Unique and never repeated granite technologies of St. Petersburg”, YouTube, 2022 (in Russian).
- Tamanskiy International, “The secret of artificial granite of St. Petersburg is almost unraveled”, YouTube, 2022 (in Russian).
- “Coefficient of thermal expansion”, Wikipedia.
- R. V. Lapshin, “How did an unknown sculptor achieve perfect enough symmetry of the face of the Egyptian pharaoh Ramses II?” (under preparation).
- D. Ogburn, B. Sillar, J. C. Sierra, “Evaluating effects of chemical weathering and surface contamination on the in situ provenance analysis of building stones in the Cuzco region of Peru with portable XRF”, Journal of Archaeological Science, vol. 40, pp. 1823-1837, 2013. [CrossRef]
- SNT chairman, “Who did really build Kronstadt?”, YouTube, 2019 (in Russian).
- “Angkor”, Wikipedia.
- J.-P. Protzen, “The fortress of Saqsa Waman: was it ever finished?”, Journal of Andean Archaeology (Ñawpa Pacha), vol. 25, iss. 1, pp. 155-175, 1987. [CrossRef]
- “Climate of Peru”, Wikipedia.
- “Non-contact profilometers”, Wikipedia.
- “Christoph Scheiner”, Wikipedia.
- C. Scheiner, “Pantographice seu ars delineandi res quaslibet per parallelogrammum lineare seu cavum, mechanicum, mobile”, 108 pp., Typographia Ludouici Grignani, Rome, 1631 (in Latin).
- “Andrey K. Nartov”, Wikipedia.
- “Turning machine for medal copying”, State Hermitage Museum, St Petersburg.
- V. V. Danilevskiy, “Nartov and his “Clear insight into machines””, edited by A. S. Britkin, 271 pp., Mashgiz, Moscow, Leningrad, 1958 (in Russian).
- “James Watt”, Wikipedia.
- “Reducing sculpture copying machine”, Science Museum, London.
- J. P. Muirhead, “The life of James Watt, with selections from his correspondence”, pp. 454-466, 2nd revised edition, 572 pp., John Murray, London, 1859.
- “Machine for reproducing sculpture”, Science Museum, London.
- “John I. Hawkins”, Wikipedia.
- T. Gauthier, “Photosculpture”, Le Monde illustré, pp. 396-398, December 17, 1864 (in French). 17 December.
- Alexander Tamanskiy, “Who and when did build the Egyptian pyramids?”, YouTube, 2020 (in Russian).
- Alexander Tamanskiy, “How were the Egyptian pyramids built?”, YouTube, 2021 (in Russian).
- Alexander Tamanskiy, “Who did build the American pyramids?”, YouTube, 2021 (in Russian).
- Alexander Tamanskiy, “American silver in Roman coins”, YouTube, 2021 (in Russian).
- “Global silver trade from the 16th to 19th centuries”, Wikipedia.
- P. Bakewell, “Miners of the Red Mountain: Indian labor in Potosí, 1545-1650”, 213 pp., University of New Mexico Press, Albuquerque, 1984.
- J. J. TePaske, “A new world of gold and silver”, edited by K. W. Brown, 340 pp., Brill, Leiden, Boston, 2010.
- Tamanskiy International, “Pagan Catholicism of the Latin America”, YouTube, 2022 (in Russian).
- N. A. Morozov, “Christ – The history of human culture in the light of natural science”, vol. 4, 816 pp., State Publishing House, Moscow – Petrograd, 1928 (in Russian).
- N. A. Morozov, “Asian Christs – The history of human culture in the light of natural science”, vol. 9, 580 pp., Kraft+, Moscow, 2003 (in Russian).
- G. V. Nosovsky, A. T. Fomenko, “New Chronology of Egypt – Astronomical dating of Ancient Egypt monuments, Studies 2000-2002”, 560 pp., AST, Moscow, 2007 (in Russian).
- “Monroe Doctrine”, Wikipedia.
- “Spanish Empire”, Wikipedia.
- “Fortification and siegecraft”, The Encyclopædia Britannica. A dictionary of arts, sciences, literature and general information, vol. X, p. 686, fig. 15, 11th edition, University Press, New York, 1910.
- L. K. Makovskaya, “Hand firearms of the Russian Army from the end of the 14th to the 18th century”, 219 pp., Voenizdat, Moscow, 1992 (in Russian).
- “Unfinished obelisk”, Wikipedia.
- “Baalbek Stones”, Wikipedia.
- C. Dunn, “Lost technologies of ancient Egypt: advanced engineering in the temples of the pharaohs”, 400 pp., Bear & Company, 2010.
- “Coordinate-measuring machine”, Wikipedia.





Disclaimer/Publisher’s Note: The statements, opinions and data contained in all publications are solely those of the individual author(s) and contributor(s) and not of MDPI and/or the editor(s). MDPI and/or the editor(s) disclaim responsibility for any injury to people or property resulting from any ideas, methods, instructions or products referred to in the content. |
© 2023 by the authors. Licensee MDPI, Basel, Switzerland. This article is an open access article distributed under the terms and conditions of the Creative Commons Attribution (CC BY) license (http://creativecommons.org/licenses/by/4.0/).







