Submitted:
17 June 2025
Posted:
17 June 2025
You are already at the latest version
Abstract
Keywords:
1. Introduction
2. Computational Framework Development
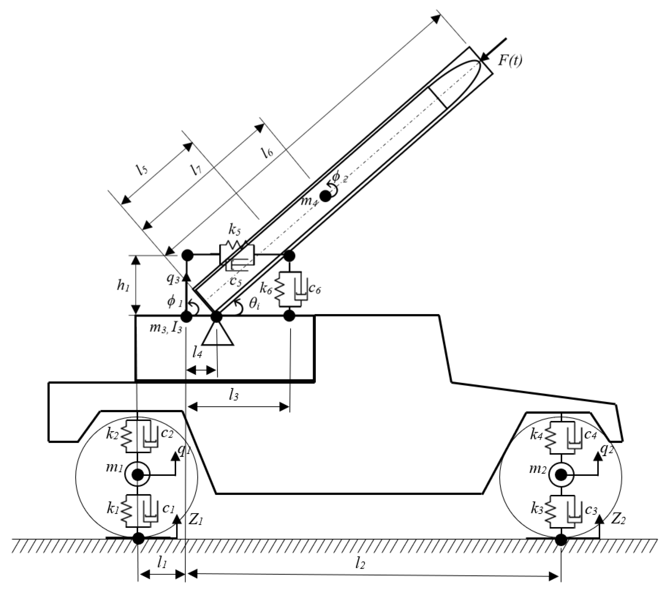
2.1. Dynamic Model
2.2. Mathematical Model
2.3. Numerical Simulation Input Parameters and Boundary Conditions
3. Results
3.1. Linear and Angular Displacements
3.2. Linear Velocities and Accelerations
3.2. Angular Velocities and Accelerations
4. Conclusions
- A nonlinear computational framework was developed in order to simulate the dynamic response of the air defense system mounted onto High Mobility Multipurpose Wheeled Vehicle (HMMWV);
- It was determined that the propulsion-generated thrust impulse force of has the greatest impact on the missile launch system when fired at a 30° pitch angle. The linear acceleration of the system’s mass in the vertical direction initiated at 0 s, with oscillations stabilizing at 1.34 s, reaching a maximum acceleration of 2.567 m/s²;
- The vertical linear acceleration exhibited the longest oscillation duration of 1.34 s at the 30° launch angle;
- At a 60° launch angle, the angular acceleration , began at 0 s and ended at 0.89 s, with peak value 4.08 rad/s². This angular acceleration at 60° was 12% higher than at 30°, and 7% higher than at 45°;
- Given that the air defense system mounted onto HMMWV carries four AIM-120 AMRAAM missiles, it was recognized that the second missile could only be launched after the dynamic impulse induced by the first missile diminishes. Specifically, for a 30° launch angle, the second missile can be fired not sooner than 1.34 s after the first, when the system’s dynamic oscillations return to equilibrium. For launch angles of 45° and 60°, these intervals are 1.25 s and 1.17 s, respectively. This identification of peak dynamic loads and missile launch system critical stabilization period after the missile launch indicates that the proposed computational framework holds significant potential to enhance performance of missile defense systems as well as to provide cost-effective military personnel training solutions in simulation environments thus adapting to next-generation weapon systems;
- Further research is highly recommended to explore adaptive control strategies – active and passive means – means to provide real-time feedback enhancing system performance and improving launch accuracy under the harsh operational conditions.
Author Contributions
Funding
Institutional Review Board Statement
Informed Consent Statement
Data Availability Statement
Conflicts of Interest
Abbreviations
| ODE | Second-order system of ordinary differential equation |
| HMMWV | High mobility multipurpose wheeled vehicle |
| KTU | Kaunas University of Technology |
| MFU | Mobile Firing Unit |
| MLRS | Multiple Launch Rocket System |
| SBAMD | Surface Based Air and Missile Defense |
| IAMD | Integrated Air and Missile Defense |
| TBMD | Theatre Ballistic Missile Defense |
| ALTBMD | Active Layered Theatre Ballistic Missile Defense |
| DOF | Degrees-of-freedom |
References
- Qu, P.; Sun, Z.; Li, Q.; Zhang, J.; Liu, P.; Zhou, D. Dynamic Simulation of Multiple Launch Rocket System Marching Fire Based on the Fuzzy Adaptive Sliding Mode Control. Machines 2023, 11, 427. [CrossRef]
- Wu, L.; Zhou, R.; Bao, J.; Yang, G.; Sun, F.; Xu, F.; Jin, J.; Zhang, Q.; Jiang, W.; Zhang, X. Vehicle Stability Analysis under Extreme Operating Conditions Based on LQR Control. Sensors 2022, 22, 9791. [CrossRef]
- Eisa, H.; Ahmed, M.Y.M.; Khalil, M.; Saleh, S. Dynamic behavior of a wheeled rocket launcher using transfer matrix method of multibody system. J. Phys.: Conf. Ser. 2024, 2811, 012034.
- Fedaravičius, A.; Jonevičius, V.; Survila, A.; Pincevičius, A. Dynamics study of the carrier HMMWV M1151. J. Vibroeng. 2013, 15, 1619–1627.
- Fedaravičius, A.; Jasas, K.; Gaidys, R.; Pilkauskas, K. Dynamics of the Missile Launch from the Very Short-Range Mobile Firing Unit. Shock Vib. 2023, 2023, 3082704. [CrossRef]
- Krzysztofik, I.; Koruba, Z. Adaptive control of anti-aircraft missile launcher mounted on a mobile base. Theor. Appl. Mech. Lett. 2012, 2, 043008. [CrossRef]
- Zhou, Q. B.; Rui, X. T.; Wang, G. P.; Zhang, J. S. An efficient and modular modeling for launch dynamics of tubed rockets on a moving launcher. Defence Technol. 2021, 17, 1575–1586. [CrossRef]
- Liu, Z.; Wang, G.; Rui, X.; Wu, G.; Tang, J.; Gu, L. Modeling and simulation framework for missile launch dynamics in a rigid-flexible multibody system with slider-guide clearance. Nonlinear Dyn. 2024, 112, 21701–21728. [CrossRef]
- Li, B.; Rui, X.; Tian, W.; Cui, G. Neural-network-predictor-based control for an uncertain multiple launch rocket system with actuator delay. Mech. Syst. Signal Process. 2020, 140, 106489. [CrossRef]
- Fedaravičius, A.; Jasas, K.; Sližys, E.; Survila, A. Modeling of the missile launch dynamic processes in short-range air defence system. Mechanika 2022, 28, 32–37. [CrossRef]
- Dziopa, Z.; Koruba, Z. The impact of launcher turret vibrations control on the rocket launch. Bull. Pol. Acad. Sci: Tech. Sci. 2015, 63, 717–728. [CrossRef]
- Zhang, D.; Xiao, J. A dynamic model for rocket launcher with coupled rigid and flexible motion. Appl. Math. Mech. (Eng. Ed.) 2005, 26, 609–617.
- Fedaravičius, A.; Račkauskas, S.; Survila, A.; Šamelis, A. External ballistics simplified model of the RT-400 rocket aerial target. Problems of Mechatronics Armament, Aviation, Safety Eng. 2018, 9, 9–22.
- Rahnejat, H.; Johns-Rahnejat, P.M.; Dolatabadi, N.; Rahmani, R. Multi-body dynamics in vehicle engineering. Proc. Inst. Mech. Eng., Part K: J. Multi-body Dyn. 2023, 237, 398–427. [CrossRef]
- Sinha, P.K.; Chakraborty, D. Numerical study of hot launch of missile inside a tube. Proc. Inst. Mech. Eng. Part G: J. Aerosp. Eng. 2014, 228, 2604–2611. [CrossRef]
- Droppa, P.; Štiavnický, M. Vibrations simulation of wheeled vehicles. Problems of Mechatronics, Armament, Aviation, Safety Eng. 2012, 2 (8), 17–28.
- Van Vo, B.; Macko, M.; Thai Nguyen, D.; Duy Nguyen, P.; Thanh Nguyen, H.; Trong Bui, T. Dynamic simulation analysis and optimization of firing rate of rocket launchers on wheeled vehicles. Adv. Mil. Technol. 2021, 16, 159–175.
- Karakas, E. S.; Gordaninejad, F.; Evrensel, C. A.; Yeo, M.-S.; Liu, Y. Study of a quarter model HMMWV suspension system using a magnetorheological fluid damper. Problems of Mechatronics, Armament, Aviation, Safety Eng. 2012, 2 (8), 17–28.
- Abdelkareem, M. A. A.; Makrahy, M. M.; Abd El Tawwab, A. M.; El-Razaz, A. S. A.; Ali, M. K. A.; Moheyeldein, M. M. An Analytical Study of the Performance Indices of Articulated Truck Semi-Trailer during Three Different Cases to Improve the Driver Comfort. Proc. Inst. Mech. Eng. Part K: J. Multi-body Dyn. 2018, 232(1), 84–102. [CrossRef]
- Koruba, Z.; Dziopa, Z.; Krzysztofik, I. Dynamics of a controlled anti-aircraft missile launcher mounted on a moveable base. J. of Theor. Appl. Mech. 2010, 48, 279–295.
- Dziopa, Z. J.; Nyckowski, M. Modelling and testing the dynamic properties of a launcher with unguided missiles. Problems of Mechatronics, Armament, Aviation, Safety Eng. 2022, 13 (4), 51–66. [CrossRef]
- Surblys, V.; Sokolovskij, E. Lengvųjų automobilių pasyvių ir pusiau aktyvių pakabų tyrimas. Mokslas – Lietuvos ateitis / Sci. Future Lithuania. 2018, 10, 1–5.
- Liu, D. N.; Hou, Z. X.; Gao, X. Z. Nonlinear dynamics modelling and free-launch simulation of a flying vehicle. Proc. Inst. Mech. Eng., Part K: J. Multi-body Dyn. 2018, 232, 218–231.
- Fedaravičius, A.; Račkauskas, S.; Survila, A.; Patašienė, L. Design of the testing system for solid propellant rocket motor thrust measurements using mathematical modelling techniques. J. Meas. Eng. 2015, 3, 124–131.
- Fedaravičius, A.; Kilikevičius, S.; Survila, A.; Račkauskas, S. Short range rocket-target: research, development and implementation. Aircraft Eng. Aerosp. Technol. 2019, 91, 1027–1032. [CrossRef]
- Fedaravičius, A.; Račkauskas, S.; Sližys, E.; Survila, A. Investigation of solid rocket motor strength characteristics by employing composite materials. Mechanika 2014, 20, 247–253. [CrossRef]
- Briese, L.E.; Acquatella, P.; Schnepper, K. Multidisciplinary modeling and simulation framework for launch vehicle system dynamics and control. Acta Astronaut. 2020, 170, 652–664. [CrossRef]
- Neto, A.; de Oliveira, C.F. Analysis of parameters affecting the dynamic stability of a rocket launcher. J. Phys.: Conf. Ser. 2020, 1428, 012018.
- Vujic, D.; Djurkovic, V.; Milenkovic, N.; Trajkovic, S. Dynamic Analysis of Rockets Launcher. Tehnički Vjesnik 2021, 28, 530–539. [CrossRef]
- Wu, G.; Rui, X.; Wang, G.; Jiang, M.; Wang, X. Modelling and simulation of driving dynamics of wheeled launch system under random road surface excitation. Acta Mech. Sin. 2024, 40, 523310.
- Li, B.; Rui, X.; Wang, G.; Zhang, J.; Zhou, Q. On modeling and dynamics of a multiple launch rocket system. Proc. Inst. Mech. Eng. Part G: J. Aerosp. Eng. 2021, 235, 1664–1686. [CrossRef]










| Description | Symbol | Units | Description | Symbol | Units |
|---|---|---|---|---|---|
| Rear unsprung mass of the HMMWV suspension and associated elements | kg | Distance from missile launchers’ revolution joint to its center of mass | m | ||
| Front unsprung mass of the HMMWV suspension and associated elements | kg | Total length of the HMMWV | m | ||
| HMMWV body sprung mass | kg | Vertical distance from missile launchers’ horizontal suspension mount attachment point to launchers’ center of mass | m | ||
| Missile launcher mass | kg | Mass linear displacement | m | ||
| Rear wheel tire stiffness coefficient | N/m | Mass linear displacement | m | ||
| Rear suspension stiffness coefficient | N/m | Mass linear displacement | m | ||
| Front wheel tire stiffness coefficient | N/m | Mass linear displacement | m/s | ||
| Front suspension stiffness coefficient | N/m | Mass linear displacement velocity | m/s | ||
| Missile launchers’ mount horizontal stiffness coefficient | N/m | Mass linear displacement velocity | m/s | ||
| Missile launchers’ mount vertical stiffness coefficient | N/m | Mass linear displacement acceleration | m/s2 | ||
| Rear wheel tire damping coefficient | Ns/m | Mass linear displacement acceleration | m/s2 | ||
| Rear suspension damping coefficient | Ns/m | Mass linear displacement acceleration | m/s2 | ||
| Front wheel tire damping coefficient | Ns/m | Mass angular displacement | rad | ||
| Front suspension damping coefficient | Ns/m | Mass angular displacement | rad | ||
| Missile launchers’ mount horizontal damping coefficient | Ns/m | Mass angular velocity | rad/s | ||
| Missile launchers’ mount vertical damping coefficient | Ns/m | Mass angular velocity | rad/s | ||
| Horizontal distance from rear suspension to vehicles’ center of mass | m | Mass angular acceleration | rad/s2 | ||
| Horizontal distance from front suspension to vehicles’ center of mass | m | Mass angular acceleration | rad/s2 | ||
| Horizontal distance from missile launchers’ vertical suspension mount point to vehicles’ center of mass | m | HMMWV moment of inertia | kg · m2 | ||
| Horizontal distance from missile launchers’ revolution joint attachment to vehicles’ center of mass | m | Missile launchers’ moment of inertia about hinge point | kg · m2 | ||
| Distance from revolution joint attachment to missile launchers’ vertical suspension mount point | m | Missile launchers’ pitch angle | |||
| Missile launchers’ length | m | Missile launch first phase excitation force | N |
| Name of the parameter | Symbol | Value | Units |
| Excitation force | 16 800 | N | |
| Pitch angle | 30 | ||
| 45 | |||
| 60 | |||
| Mass | 350 | kg | |
| 300 | kg | ||
| 2200 | kg | ||
| 890 | kg | ||
| Moment of inertia | 6660 | kg · m2 | |
| 5787 | kg · m2 | ||
| Stiffness coefficient | 463 800 | N/m | |
| 163 800 | N/m | ||
| 463 800 | N/m | ||
| 163 800 | N/m | ||
| 2 000 000 | N/m | ||
| 2 000 000 | N/m | ||
| Damping coefficient | 205 000 | Ns/m | |
| 27 160 | Ns/m | ||
| 205 000 | Ns/m | ||
| 27 160 | Ns/m | ||
| 200 000 | Ns/m | ||
| 200 000 | Ns/m | ||
| Dimensions | 4.93 | m | |
| 0.157 | m | ||
| 3.143 | m | ||
| 0.314 | m | ||
| 0.157 | m | ||
| 2.08 | m | ||
| 3.70 | m | ||
| 2.55 | m | ||
| 0.314 | m |
| Symbol | Launcher pitch angle θi | |||||
| 30˚ | 45˚ | 60˚ | ||||
| Oscillations initiation [s] |
Oscillations end [s] |
Oscillations initiation [s] |
Oscillations end [s] |
Oscillations initiation [s] |
Oscillations end [s] |
|
|
q1 q2 q3 |
0.040 | 0.550 | 0.050 | 0.370 | 0.060 | 0.200 |
| 0.010 | 1.120 | 0.020 | 0.620 | 0.020 | 0.410 | |
| 0.030 | 0.990 | 0.030 | 0.880 | 0.030 | 0.810 | |
| φ1 | 0.010 | 1.350 | 0.010 | 1.250 | 0.010 | 1.170 |
| φ2 | 0.020 | 0.680 | 0.020 | 0.340 | 0.030 | 0.280 |
| Symbol | Launcher pitch angle θi | Units | ||
| 30˚ | 45˚ | 60˚ | ||
|
q1 q2 q3 |
0.0009 | 0.0004 | 0.0002 | m |
| 0.0118 | 0.0079 | 0.0041 | ||
| 0.0009 | 0.0008 | 0.0006 | ||
| 0.01702 | 0.01511 | 0.01244 | rad | |
| 0.00590 | 0.00327 | 0.00163 | ||
| Symbol | Launcher pitch angle θi | |||||
| 30˚ | 45˚ | 60˚ | ||||
| Oscillations initiation [s] |
Oscillations end [s] |
Oscillations initiation [s] |
Oscillations end [s] |
Oscillations initiation [s] |
Oscillations end [s] |
|
| 0.010 | 1.160 | 0.010 | 0.690 | 0.010 | 0.410 | |
| 0.020 | 0.720 | 0.020 | 0.630 | 0.020 | 0.580 | |
| 0.010 | 0.900 | 0.010 | 0.890 | 0.010 | 0.870 | |
| 0.000 | 1.340 | 0.000 | 1.010 | 0.000 | 0.770 | |
| 0.000 | 0.890 | 0.000 | 0.880 | 0.000 | 0.860 | |
| 0.000 | 1.240 | 0.000 | 1.190 | 0.000 | 1.160 | |
| Symbol | Launcher pitch angle θi | Units | ||
| 30˚ | 45˚ | 60˚ | ||
| 0.0906 | 0.0606 | 0.0343 | m/s | |
| 0.0008 | 0.0009 | 0.0009 | ||
| 0.0175 | 0.0192 | 0.0200 | ||
| 2.5666 | 2.1201 | 1.5893 | m/s2 | |
| 0.0174 | 0.0193 | 0.0199 | ||
| 1.2956 | 1.2528 | 1.1279 | ||
| Symbol | Launcher pitch angle θi | |||||
| 30˚ | 45˚ | 60˚ | ||||
| Oscillations initiation [s] |
Oscillations end [s] |
Oscillations initiation [s] |
Oscillations end [s] |
Oscillations initiation [s] |
Oscillations end [s] |
|
| 0.010 | 0.590 | 0.010 | 0.380 | 0.010 | 0.390 | |
| 0.010 | 1.070 | 0.010 | 0.520 | 0.010 | 0.630 | |
| 0.000 | 1.070 | 0.000 | 0.510 | 0.000 | 0.630 | |
| 0.000 | 1.310 | 0.000 | 0.990 | 0.000 | 0.890 | |
| Symbol | Launcher pitch angle θi | Units | ||
| 30˚ | 45˚ | 60˚ | ||
| 0.00359 | 0.00275 | 0.00232 | rad/s | |
| 0.06632 | 0.05658 | 0.04902 | ||
| 0.06600 | 0.05652 | 0.04878 | rad/s2 | |
| 3.63792 | 3.82916 | 4.08081 | ||
Disclaimer/Publisher’s Note: The statements, opinions and data contained in all publications are solely those of the individual author(s) and contributor(s) and not of MDPI and/or the editor(s). MDPI and/or the editor(s) disclaim responsibility for any injury to people or property resulting from any ideas, methods, instructions or products referred to in the content. |
© 2025 by the authors. Licensee MDPI, Basel, Switzerland. This article is an open access article distributed under the terms and conditions of the Creative Commons Attribution (CC BY) license (https://creativecommons.org/licenses/by/4.0/).