Submitted:
15 March 2025
Posted:
17 March 2025
You are already at the latest version
Abstract
Keywords:
1. Introduction
2. Chemical and Physical Properties
3. General Uses
4. Medical and Pharmaceutical Applications
4.1. Antimicrobial Agents
4.2. Anticancer Agents
4.3. Corrosion Retardant for Biodegradable Implants
4.4. Remineralization-Promoting Tooth Varnish
4.5. Pharmaceutical Dosage Forms
5. Drug Delivery System
5.1. Taste Masking Agent
5.2. Coating Materials for Controlled-release Dosage Forms
5.3. Medicated Chewing Gum
5.4. Transdermal Drug Delivery System
5.5. Micro- and Nanoparticles
5.6. Targeted Drug Delivery Systems
5.6.1. Targeted delivery for anticancer drugs
5.6.2. Targeted delivery of 5-ASA, an anti-inflammatory drug

5.6.3. Targeted delivery of periodontitis medication
6. Challenges of Gum Rosin as Pharmaceutical Excipient for Frug Delivery System
6.1. Allergenic Activity and Occupational Exposure
6.2. Other Challenging Characteristics
7. Strategies to Optimize the Application of Gum Rosin
8. Conclusion
Author Contributions
Funding
Conflicts of Interest
References
- Zhou, W.; Wang, Y.; Ni, C.; Yu, L. Preparation and Evaluation of Natural Rosin-Based Zinc Resins for Marine Antifouling. Prog Org Coat 2021, 157, 106270. [CrossRef]
- Cai, W.; Tai, H.-C. String Theories: Chemical Secrets of Italian Violins and Chinese Guqins. AsiaChem Magazine 2020, 1. [CrossRef]
- Kugler, S.; Ossowicz, P.; Malarczyk-Matusiak, K.; Wierzbicka, E. Advances in Rosin-Based Chemicals: The Latest Recipes, Applications and Future Trends. Molecules 2019, 24, 1651. [CrossRef]
- Morkhade, D.M.; Nande, V.S.; Barabde, U. V; Joshi, S.B. Study of Biodegradation and Biocompatibility of PEGylated Rosin Derivatives. J Bioact Compat Polym 2017, 32, 628–640. [CrossRef]
- Mitchell, G.R.; Mahendra, V.; Sousa, D. Biopolymers Based on Rosin. Curr Res Biopolymers 2018, 2018.
- Mardiah, M.; Samadhi, T.W.; Wulandari, W.; Aqsha, A.; Situmorang, Y.A.; Indarto, A. Recent Progress on Catalytic of Rosin Esterification Using Different Agents of Reactant. AgriEngineering 2023, 5, 2155–2169. [CrossRef]
- Kanlaya, P.; Sumrit, W.; Amorn, P. Synthesis and Characterization of Water Soluble Rosin-Polyethylene Glycol 1500 Derivative. International Journal of Chemical Engineering and Applications 2016, 7, 277–281. [CrossRef]
- Singh, A.K.; Srivastava, J.K.; Chandel, A.K.; Sharma, L.; Mallick, N.; Singh, S.P. Biomedical Applications of Microbially Engineered Polyhydroxyalkanoates: An Insight into Recent Advances, Bottlenecks, and Solutions. Appl Microbiol Biotechnol 2019, 103, 2007–2032. [CrossRef]
- Joshi, S.; Singh, V. Gelatin–Rosin Gum Complex Nanoparticles: Preparation, Characterization and Colon Targeted Delivery of 5-Fluorouracil. Chemical Papers 2020, 74, 4241–4252. [CrossRef]
- Yadav, B.K.; Gidwani, B.; Vyas, A. Rosin: Recent Advances and Potential Applications in Novel Drug Delivery System. J Bioact Compat Polym 2016, 31, 111–126. [CrossRef]
- Yadav, B.K.; Gidwani, B.; Vyas, A. Rosin: Recent Advances and Potential Applications in Novel Drug Delivery System. J Bioact Compat Polym 2016, 31, 111–126. [CrossRef]
- Mahendra, V. Rosin Product Review. Applied Mechanics and Materials 2019, 890, 77–91. [CrossRef]
- Pratapwar, A.S.; Sakarkar, D.M. Applications of Rosin Derivatives in the Development of Novel Drug Delivery System (NDDS): A Contemporary View. Journal of Quality Assurance and Pharma Analysis 2015, 1, 100–109.
- Yamaguchi, T.; Nasu, D.; Masani, K. Effect of Grip-Enhancing Agents on Sliding Friction between a Fingertip and a Baseball. Commun Mater 2022, 3, 92. [CrossRef]
- Xie, W.; Yan, Q.; Fu, H. Study on Novel Rosin-based Polyurethane Reactive Hot Melt Adhesive. Polym Adv Technol 2021, 32, 4415–4423. [CrossRef]
- Biswas, M.; Kundu, S.; Debnath, S. Tall Oil Rosin: A Substitute for Gum Rosin in Development of Offset Printing Ink. NIP & Digital Fabrication Conference 2018, 34, 44–48. [CrossRef]
- Leite, L.S.F.; Bilatto, S.; Paschoalin, R.T.; Soares, A.C.; Moreira, F.K.V.; Oliveira, O.N.; Mattoso, L.H.C.; Bras, J. Eco-Friendly Gelatin Films with Rosin-Grafted Cellulose Nanocrystals for Antimicrobial Packaging. Int J Biol Macromol 2020, 165, 2974–2983. [CrossRef]
- Li, F.; Abdalkarim, S.Y.H.; Yu, H.-Y.; Zhu, J.; Zhou, Y.; Guan, Y. Bifunctional Reinforcement of Green Biopolymer Packaging Nanocomposites with Natural Cellulose Nanocrystal–Rosin Hybrids. ACS Appl Bio Mater 2020, 3, 1944–1954. [CrossRef]
- Moustafa, H.; El Kissi, N.; Abou-Kandil, A.I.; Abdel-Aziz, M.S.; Dufresne, A. PLA/PBAT Bionanocomposites with Antimicrobial Natural Rosin for Green Packaging. ACS Appl Mater Interfaces 2017, 9, 20132–20141. [CrossRef]
- Zhang, F.; Wang, L.; An, X.; Liu, H.; Nie, S.; Cao, H.; Xu, Q.; Lu, B. Improving Sizing Performance of Middle Layer of Liquid Packaging Board Containing High-Yield Pulp. Cellulose 2020, 27, 4707–4719. [CrossRef]
- Bezzekhami, M.A.; Belalia, M.; Hamed, D.; Bououdina, M.; Berfai, B.B.; Harrane, A. Nanoarchitectonics of Starch Nanoparticles Rosin Catalyzed by Algerian Natural Montmorillonite (Maghnite-H+) for Enhanced Antimicrobial Activity. J Inorg Organomet Polym Mater 2023, 33, 193–206. [CrossRef]
- Li, Q.; Huang, X.; Liu, H.; Shang, S.; Song, Z.; Song, J. Preparation and Properties of Room Temperature Vulcanized Silicone Rubber Based on Rosin-Grafted Polydimethylsiloxane. RSC Adv 2018, 8, 14684–14693. [CrossRef]
- Rosu, L.; Mustata, F.; Rosu, D.; Varganici, C.-D.; Rosca, I.; Rusu, T. Bio-Based Coatings from Epoxy Resins Crosslinked with a Rosin Acid Derivative for Wood Thermal and Anti–Fungal Protection. Prog Org Coat 2021, 151, 106008. [CrossRef]
- Younes, M.; Aquilina, G.; Degen, G.; Engel, K.; Fowler, P.; Frutos Fernandez, M.J.; Fürst, P.; Gürtler, R.; Husøy, T.; Manco, M.; et al. Follow-up of the Re-evaluation of Glycerol Esters of Wood Rosins (E 445) as a Food Additive. EFSA Journal 2023, 21. [CrossRef]
- Sapbamrer, R.; Naksata, M.; Hongsibsong, S.; Chittrakul, J.; Chaiut, W. Efficiency of Gum Rosin-Coated Personal Protective Clothing to Protect against Chlorpyrifos Exposure in Applicators. Int J Environ Res Public Health 2022, 19, 2594. [CrossRef]
- Naksata, M.; Watcharapasorn, A.; Hongsibsong, S.; Sapbamrer, R. Development of Personal Protective Clothing for Reducing Exposure to Insecticides in Pesticide Applicators. Int J Environ Res Public Health 2020, 17, 3303. [CrossRef]
- Phun, L.; Snead, D.; Hurd, P.; Jing, F. Industrial Applications of Pine-Chemical-Based Materials. In Sustainable Polymers from Biomass; Wiley, 2017; pp. 151–179.
- Gu, S.; Liu, M.; Xu, R.; Han, X.; Lou, Y.; Kong, Y.; Gao, Y.; Shang, S.; Song, Z.; Song, J.; et al. Ecofriendly Controlled-Release Insecticide Carrier: PH-/Temperature-Responsive Rosin-Derived Hydrogels for Avermectin Delivery against Mythimna Separata (Walker). Langmuir 2024, 40, 10992–11010. [CrossRef]
- Vainio-Kaila, T.; Hänninen, T.; Kyyhkynen, A.; Ohlmeyer, M.; Siitonen, A.; Rautkari, L. Effect of Volatile Organic Compounds from Pinus Sylvestris and Picea Abies on Staphylococcus Aureus, Escherichia Coli, Streptococcus Pneumoniae and Salmonella Enterica Serovar Typhimurium. Holzforschung 2017, 71, 905–912. [CrossRef]
- Badr, M.M.; Awadallah-F, A.; Azzam, A.M.; Mady, A.H. Influence of Gamma Irradiation on Rosin Properties and Its Antimicrobial Activity. Sci Rep 2023, 13, 4500. [CrossRef]
- Sipponen, A.; Peltola, R.; Jokinen, J.J.; Laitinen, K.; Lohi, J.; Rautio, M.; Männistö, M.; Sipponen, P.; Lounatmaa, K. Effects of Norway Spruce (Picea Abies) Resin on Cell Wall and Cell Membrane of Staphylococcus Aureus. Ultrastruct Pathol 2009, 33, 128–135. [CrossRef]
- Majeed, Z.; Mushtaq, M.; Ajab, Z.; Guan, Q.; Mahnashi, M.H.; Alqahtani, Y.S.; Ahmad, B. Rosin Maleic Anhydride Adduct Antibacterial Activity against Methicillin-Resistant Staphylococcus Aureus. Polímeros 2020, 30, e2020022. [CrossRef]
- Kanerva, M.; Matrenichev, V.; Layek, R.; Takala, T.M.; Laurikainen, P.; Sarlin, E.; Elert, A.M.; Yudin, V.; Seitsonen, J.; Ruokolainen, J.; et al. Comparison of Rosin and Propolis Antimicrobials in Cellulose Acetate Fibers against Staphylococcus Aureus. Bioresources 2020, 15, 3756–3773. [CrossRef]
- Chang, R.; Lata, R.; Rohindra, D. Study of Mechanical, Enzymatic Degradation and Antimicrobial Properties of Poly(Butylene Succinate)/Pine-Resin Blends. Polymer Bulletin 2020, 77, 3621–3635. [CrossRef]
- Bezzekhami, M.A.; Belalia, M.; Hamed, D.; Bououdina, M.; Berfai, B.B.; Harrane, A. Nanoarchitectonics of Starch Nanoparticles Rosin Catalyzed by Algerian Natural Montmorillonite (Maghnite-H+) for Enhanced Antimicrobial Activity. J Inorg Organomet Polym Mater 2023, 33, 193–206. [CrossRef]
- Nirmala, R.; Woo-il, B.; Navamathavan, R.; Kalpana, D.; Lee, Y.S.; Kim, H.Y. Influence of Antimicrobial Additives on the Formation of Rosin Nanofibers via Electrospinning. Colloids Surf B Biointerfaces 2013, 104, 262–267. [CrossRef]
- Kanerva, M.; Puolakka, A.; Takala, T.M.; Elert, A.M.; Mylläri, V.; Jönkkäri, I.; Sarlin, E.; Seitsonen, J.; Ruokolainen, J.; Saris, P.; et al. Antibacterial Polymer Fibres by Rosin Compounding and Melt-Spinning. Mater Today Commun 2019, 20, 100527. [CrossRef]
- Kanerva, M.; Puolakka, A.; Takala, T.M.; Elert, A.M.; Mylläri, V.; Jönkkäri, I.; Sarlin, E.; Seitsonen, J.; Ruokolainen, J.; Saris, P.; et al. Antibacterial Polymer Fibres by Rosin Compounding and Melt-Spinning. Mater Today Commun 2019, 20, 100527. [CrossRef]
- Li, Z.; Cheng, J.; Yang, X.; Liu, H.; Xu, X.; Ma, L.; Shang, S.; Song, Z. Construction of Antimicrobial and Biocompatible Cotton Textile Based on Quaternary Ammonium Salt from Rosin Acid. Int J Biol Macromol 2020, 150, 1–8. [CrossRef]
- Wang, J.; Chen, Y.P.; Yao, K.; Wilbon, P.A.; Zhang, W.; Ren, L.; Zhou, J.; Nagarkatti, M.; Wang, C.; Chu, F.; et al. Robust Antimicrobial Compounds and Polymers Derived from Natural Resin Acids. Chem. Commun. 2012, 48, 916–918. [CrossRef]
- Jindal, R.; Sharma, R.; Maiti, M.; Kaur, A.; Sharma, P.; Mishra, V.; Jana, A.K. Synthesis and Characterization of Novel Reduced Gum Rosin-Acrylamide Copolymer-Based Nanogel and Their Investigation for Antibacterial Activity. Polymer Bulletin 2017, 74, 2995–3014. [CrossRef]
- Fei, B.L.; Tu, S.; Wei, Z.; Wang, P.; Qiao, C.; Chen, Z.F. Optically Pure Chiral Copper(II) Complexes of Rosin Derivative as Attractive Anticancer Agents with Potential Anti-Metastatic and Anti-Angiogenic Activities. Eur J Med Chem 2019, 176, 175–186. [CrossRef]
- El-Hallouty, M.S.; Soliman, A.F.A.; Nassrallah, A.; Salamatullah, A.; Alkaltham, S.M.; Kamal, Y.K.; Hanafy, A.E.; Gaballa, S.H.; Aboul-Soud, A.M.M. Crude Methanol Extract of Rosin Gum Exhibits Specific Cytotoxicity against Human Breast Cancer Cells via Apoptosis Induction. Anticancer Agents Med Chem 2020, 20, 1028–1036.
- Gumelar, M.D.; Putri, N.A.; Anggaravidya, M.; Anawati, A. Corrosion Behavior of Biodegradable Material AZ31 Coated with Beeswax-Colophony Resin. AIP Conf Proc 2018, 1964, 20035. [CrossRef]
- Abou Neel, E.A.; Aljabo, A.; Strange, A.; Ibrahim, S.; Coathup, M.; Young, A.M.; Bozec, L.; Mudera, V. Demineralization-Remineralization Dynamics in Teeth and Bone. Int J Nanomedicine 2016, 11, 4743–4763. [CrossRef]
- TULUMBACI, F.; GUNGORMUS, M. In Vitro Remineralization of Primary Teeth with a Mineralization-Promoting Peptide Containing Dental Varnish. Journal of Applied Oral Science 2020, 28.
- Durmuş, E.; Kölüş, T.; Çoban, E.; Yalçınkaya, H.; Ülker, H.E.; Çelik, İ. In Vitro Determination of the Remineralizing Potential and Cytotoxicity of Non-Fluoride Dental Varnish Containing Bioactive Glass, Eggshell, and Eggshell Membrane. European Archives of Paediatric Dentistry 2023, 24, 229–239. [CrossRef]
- Vargason, A.M.; Anselmo, A.C.; Mitragotri, S. The Evolution of Commercial Drug Delivery Technologies. Nat Biomed Eng 2021, 5, 951–967. [CrossRef]
- Park, H.; Otte, A.; Park, K. Evolution of Drug Delivery Systems: From 1950 to 2020 and Beyond. Journal of Controlled Release 2022, 342, 53–65. [CrossRef]
- Jelvehgari, M.; Montazam, S.H. Comparison of Microencapsulation by Emulsion-Solvent Extraction/ Evaporation Technique Using Derivatives Cellulose and Acrylate- Methacrylate Copolymer as Carriers. Jundishapur J Nat Pharm Prod. 2012, 7, 144–152.
- Geraili, A.; Xing, M.; Mequanint, K. Design and Fabrication of Drug-Delivery Systems toward Adjustable Release Profiles for Personalized Treatment. View 2021, 2, 1–24. [CrossRef]
- Zheng, Y.; Yao, K.; Lee, J.; Chandler, D.; Wang, J.; Wang, C.; Chu, F.; Tang, C. Well-Defined Renewable Polymers Derived from Gum Rosin. Macromolecules 2010, 43, 5922–5924. [CrossRef]
- Tewabe, A.; Abate, A.; Tamrie, M.; Seyfu, A.; Abdela Siraj, E. Targeted Drug Delivery — From Magic Bullet to Nanomedicine: Principles, Challenges, and Future Perspectives. J Multidiscip Healthc 2021, Volume 14, 1711–1724. [CrossRef]
- de la Rosa-Ramírez, H.; Dominici, F.; Ferri, J.M.; Luzi, F.; Puglia, D.; Torre, L.; López-Martínez, J.; Samper, M.D. Pentaerythritol and Glycerol Esters Derived from Gum Rosin as Bio-Based Additives for the Improvement of Processability and Thermal Stability of Polylactic Acid. J Polym Environ 2023, 31, 5446–5461. [CrossRef]
- Jacob, S. Rosin Microspheres as Taste Masking Agent in Oral Drug Delivery System. IJPSR 2012, 3, 3116–3124.
- M.P., R.; G.R., K.; R.S., A. Natural Polymers in Fast Dissolving Tablets. Res J Pharm Technol 2021, 2859–2866. [CrossRef]
- Chen, C.; Li, Z.; Hu, Y.; Huang, Q.; Li, X.; Qing, Y.; Wu, Y. Rosin Acid and SiO2 Modified Cotton Fabric to Prepare Fluorine-Free Durable Superhydrophobic Coating for Oil-Water Separation. J Hazard Mater 2022, 440, 129797. [CrossRef]
- Zaoui, A.; Mahendra, V.; Mitchell, G.; Cherifi, Z.; Harrane, A.; Belbachir, M. Design, Synthesis and Thermo-Chemical Properties of Rosin Vinyl Imidazolium Based Compounds as Potential Advanced Biocompatible Materials. Waste Biomass Valorization 2020, 11, 3723–3730. [CrossRef]
- Pathak, Y. V.; Nikore, R.L.; Dorle, A.K. Study of Rosin and Rosin Esters as Coating Materials. Int J Pharm 1985, 24, 351–354. [CrossRef]
- Pathak, Y.V.; Dorle, A.K. Study of Rosin and Rosin Derivatives as Coating Materials for Controlled Release of Drug. Journal of Controlled Release 1987, 5, 63–68. [CrossRef]
- Pathak, Y. V.; Dorle, A.K. Study of Rosin and Rosin Derivatives as Coating Materials for Controlled Release of Drug. Journal of Controlled Release 1987, 5, 63–68. [CrossRef]
- Burakale, P.; Sudke, S.; Bhise, M.; Tare, H.; Kachave, R. Exploring Film Forming Ability of Newly Synthesized Rosin Esters. INTERNATIONAL JOURNAL OF DRUG DELIVERY TECHNOLOGY 2023, 13, 908–912. [CrossRef]
- Wang, M.; Guo, X.; Yang, X.; Zhang, J.; Yang, M.; Song, J.; Han, C.; Liu, L. Preparation and Application of Rosin@apatite Hybrid Material with New Natural Surfactants Based on In-Situ Reaction by Sol-Gel Method. Mater Res Express 2024, 11, 075003. [CrossRef]
- Thivya, P.; Durgadevi, M.; Sinija, V.R.N. Biodegradable Medicated Chewing Gum: A Modernized System for Delivering Bioactive Compounds. Future Foods 2021, 4. [CrossRef]
- Pandit, A.P.; Joshi, S.B. Formulation Development of Chewing Gum as a Novel Drug Delivery System for Diltiazem Hydrochloride. Indian Drugs 2006, 43, 724–728.
- Satturwar, P.M.; Fulzele, S. V.; Dorle, A.K. Evaluation of Polymerized Rosin for the Formulation and Development of Transdermal Drug Delivery System: A Technical Note. AAPS PharmSciTech 2005, 6, E649–E654. [CrossRef]
- Gudigennavar, A.S.; Chandragirvar, P.C.; Gudigennavar, A.S. Role of Fluvastatin Sodium Loaded Polymeric Nanoparticles in the Treatment of Hyperlipidemia: Fabrication and Characterization. German Journal of Pharmaceuticals and Biomaterials 2023, 1, 14–26. [CrossRef]
- Joshi, S.; Singh, V. Gelatin–Rosin Gum Complex Nanoparticles: Preparation, Characterization and Colon Targeted Delivery of 5-Fluorouracil. Chemical Papers 2020, 74, 4241–4252. [CrossRef]
- Danışman-Kalındemirtaş, F.; Birman, H.; Karakuş, S.; Kilislioğlu, A.; Erdem-Kuruca, S. Preparation and Biological Evaluation of Novel 5-Fluorouracil and Carmofur Loaded Polyethylene Glycol / Rosin Ester Nanocarriers as Potential Anticancer Agents and Ceramidase Inhibitors. J Drug Deliv Sci Technol 2022, 73, 103456. [CrossRef]
- Rathore, C.; Rathbone, M.J.; Chellappan, D.K.; Tambuwala, M.M.; Pinto, T.D.J.A.; Dureja, H.; Hemrajani, C.; Gupta, G.; Dua, K.; Negi, P. Nanocarriers: More than Tour de Force for Thymoquinone. Expert Opin Drug Deliv 2020, 17, 479–494. [CrossRef]
- Singh, V.; Joshi, S.; Malviya, T. Carboxymethyl Cellulose-Rosin Gum Hybrid Nanoparticles: An Efficient Drug Carrier. Int J Biol Macromol 2018, 112, 390–398. [CrossRef]
- Strebhardt, K.; Ullrich, A. Paul Ehrlich’s Magic Bullet Concept: 100 Years of Progress. Nat Rev Cancer 2008, 8, 473–480. [CrossRef]
- Madhavi, C.; Kumara Babu, P.; Sreekanth Reddy, O.; Ujwala, G.; Subha, M.C.S. Formulation and Evaluation of 6-Thioguanine-Loaded Gum Rosin/ Poly(Ethylene Oxide) Blend Microspheres for Controlled Release Applications. Mater Today Proc 2023, 92, 892–898. [CrossRef]
- Madhavi, C.; Kumara Babu, P.; Sreekanth Reddy, O.; Ujwala, G.; Subha, M.C.S. Formulation and Evaluation of 6-Thioguanine-Loaded Gum Rosin/ Poly(Ethylene Oxide) Blend Microspheres for Controlled Release Applications. Mater Today Proc 2023, 1–7. [CrossRef]
- Singh, V.; Joshi, S.; Malviya, T. Carboxymethyl Cellulose-Rosin Gum Hybrid Nanoparticles: An Efficient Drug Carrier. Int J Biol Macromol 2018, 112, 390. [CrossRef]
- Khaing, E.M.; Intaraphairot, T.; Chuenbarn, T.; Chantadee, T.; Phaechamud, T. Natural Resin-Based Solvent Exchange Induced in-Situ Forming Gel for Vancomycin HCl Delivery to Periodontal Pocket. Mater Today Proc 2021, 47, 3585–3593. [CrossRef]
- Khaing, E.M.; Intaraphairot, T.; Chuenbarn, T.; Chantadee, T.; Phaechamud, T. Natural Resin-Based Solvent Exchange Induced in-Situ Forming Gel for Vancomycin HCl Delivery to Periodontal Pocket. Mater Today Proc 2021, 47, 3585–3593. [CrossRef]
- Chuenbarn, T.; Sirirak, J.; Tuntarawongsa, S.; Okonogi, S.; Phaechamud, T. Design and Comparative Evaluation of Vancomycin HCl-Loaded Rosin-Based In Situ Forming Gel and Microparticles. Gels 2022, 8, 231. [CrossRef]
- Chuenbarn, T.; Sirirak, J.; Tuntarawongsa, S.; Okonogi, S.; Phaechamud, T. Design and Comparative Evaluation of Vancomycin HCl-Loaded Rosin-Based In Situ Forming Gel and Microparticles. Gels 2022, 8, 231. [CrossRef]
- Khaing, E.M.; Mahadlek, J.; Okonogi, S.; Phaechamud, T. Lime Peel Oil–Incorporated Rosin-Based Antimicrobial In Situ Forming Gel. Gels 2022, 8, 169. [CrossRef]
- Khaing, E.M.; Mahadlek, J.; Okonogi, S.; Phaechamud, T. Lime Peel Oil–Incorporated Rosin-Based Antimicrobial In Situ Forming Gel. Gels 2022, 8, 1–19. [CrossRef]
- Karlberg, A. -T; Bohlinder, K.; Boman, A.; Hacksell, U.; Hermansson, Jö.; Jacobsson, S.; Nilsson, J.L.G. Identification of 15-Hydroperoxyabietic Acid as a Contact Allergen in Portuguese Colophony. Journal of Pharmacy and Pharmacology 1988, 40, 42–47. [CrossRef]
- GÄfvert, E.; Nilsson, U.; Karlberg, A.T.; Magnusson, K.; Nilsson, J.L.G. Rosin Allergy: Identification of a Dehydroabietic Acid Peroxide with Allergenic Properties. Arch Dermatol Res 1992, 284, 409–413. [CrossRef]
- Gäfvert, E.; Shao, L.P.; Karlberg, A.T.; Nilsson, U.; Nilsson, J.L.G. Contact Allergy to Resin Acid Hydroperoxides. Hapten Binding via Free Radicals and Epoxides. Chem Res Toxicol 1994, 7, 260–266. [CrossRef]
- Hausen, B.M.; Hessling, C. Contact Allergy Due to Colophony (VI). The Sensitizing Capacity of Minor Resin Acids and 7 Commercial Modified-Colophony Products. Contact Dermatitis 1990, 23, 90–95. [CrossRef]
- Sadhra, S.; Foulds, I.S.; Gray, C.N. Identification of Contact Allergens in Unmodified Rosin Using a Combination of Patch Testing and Analytical Chemistry Techniques. British Journal of Dermatology 1996, 134, 662–668. [CrossRef]
- Shao, L.P.; Gäfvert, E.; Nilsson, U.; Karlberg, A.T.; Nilsson, J.L.G. 15-Hydroperoxydehydroabietic Acid-a Contact Allergen in Colophony from Pinus Species. Phytochemistry 1995, 38, 853–857. [CrossRef]
- Khan, L.; Saeed, M.A. 13β, 14β-Dihydroxy-13α-isopropylabietic Acid, an Elicitor of Contact Allergy. J Pharm Sci 1994, 83, 909–910. [CrossRef]
- Gäfvert, E.; Shao, L.P.; Karlberg, A.; Nilsson, U.; Nilsson, J.L.G. Allergenicity of Rosin (Colophony) Esters. Contact Dermatitis 1994, 31, 11–17. [CrossRef]
- Illing, H.P.A.; Malmfors, T.; Rodenburg, L. Skin Sensitization and Possible Groupings for ‘Read across’ for Rosin Based Substances. Regulatory Toxicology and Pharmacology 2009, 54, 234–241. [CrossRef]
- Karlberg, A.; Lidén, C. Comparison of Colophony Patch Test Preparations. Contact Dermatitis 1988, 18, 158–165. [CrossRef]
- Lyon, C.C.; Tucker, S.C.; Gäfvert, E.; Karlberg, A. -T.; Beck, M.H. Contact Dermatitis from Modified Rosin in Footwear. Contact Dermatitis 1999, 41, 102–103. [CrossRef]
- Karlberg, A.; Lidén, C. Comparison of Colophony Patch Test Preparations. Contact Dermatitis 1988, 18, 158–165. [CrossRef]
- Schnuch, A.; Uter, W.; Geier, J.; Gefeller, O. Epidemiology of Contact Allergy: An Estimation of Morbidity Employing the Clinical Epidemiology and Drug-Utilization Research (CE-DUR) Approach. Contact Dermatitis 2002, 47, 32–39. [CrossRef]
- Thyssen, J.P.; Linneberg, A.; Menné, T.; Johansen, J.D. The Epidemiology of Contact Allergy in the General Population - Prevalence and Main Findings. Contact Dermatitis 2007, 57, 287–299. [CrossRef]
- Diepgen, T.L.; Ofenloch, R.F.; Bruze, M.; Bertuccio, P.; Cazzaniga, S.; Coenraads, P.J.; Elsner, P.; Goncalo, M.; Svensson; Naldi, L. Prevalence of Contact Allergy in the General Population in Different European Regions. British Journal of Dermatology 2016, 174, 319–329. [CrossRef]
- Lagrelius, M.; Wahlgren, C.F.; Matura, M.; Kull, I.; Lidén, C. High Prevalence of Contact Allergy in Adolescence: Results from the Population-Based BAMSE Birth Cohort. Contact Dermatitis 2016, 74, 44–51. [CrossRef]
- Mortz, C.G.; Bindslev-Jensen, C.; Andersen, K.E. Prevalence, Incidence Rates and Persistence of Contact Allergy and Allergic Contact Dermatitis in the Odense Adolescence Cohort Study: A 15-Year Follow-Up. British Journal of Dermatology 2013, 168, 318–325. [CrossRef]
- Barbaud, A.; Collet, E.; Le Coz, C.J.; Meaume, S.; Gillois, P. Contact Allergy in Chronic Leg Ulcers: Results of a Multicentre Study Carried out in 423 Patients and Proposal for an Updated Series of Patch Tests. Contact Dermatitis 2009, 60, 279–287. [CrossRef]
- Christoffers, W.A.; Coenraads, P.J.; Schuttelaar, M.L. Bullous Allergic Reaction Caused by Colophonium in Medical Adhesives. Contact Dermatitis 2014, 70, 256–257. [CrossRef]
- Goossens, A.; Armingaud, P.; Avenel-Audran, M.; Begon-Bagdassarian, I.; Constandt, L.; Giordano-Labadie, F.; Girardin, P.; Coz, C.J.L.E.; Milpied-Homsi, B.; Nootens, C.; et al. An Epidemic of Allergic Contact Dermatitis Due to Epilating Products. Contact Dermatitis 2002, 47, 67–70. [CrossRef]
- Koh, D.; Leow, Y.H.; Goh, C.L. Occupational Allergic Contact Dermatitis in Singapore. Science of The Total Environment 2001, 270, 97–101. [CrossRef]
- Chen, Y.X.; Gao, B.A.; Cheng, H.Y.; Li, L.F. Survey of Occupational Allergic Contact Dermatitis and Patch Test among Clothing Employees in Beijing. Biomed Res Int 2017, 2017. [CrossRef]
- Suuronen, K.; Aalto-Korte, K.; Piipari, R.; Tuomi, T.; Jolanki, R. Occupational Dermatitis and Allergic Respiratory Diseases in Finnish Metalworking Machinists. Occup Med (Chic Ill) 2007, 57, 277–283. [CrossRef]
- Karlberg, A.T.; Gäfvert, E.; Lidén, C. Environmentally Friendly Paper May Increase Risk of Hand Eczema in Rosin-Sensitive Persons. J Am Acad Dermatol 1995, 33, 427–432. [CrossRef]
- Raison-Peyron, N.; Nilsson, U.; Du-Thanh, A.; Karlberg, A.T. Contact Dermatitis from Unexpected Exposure to Rosin from a Toilet Seat. Dermatitis 2013, 24, 149–150. [CrossRef]
- Wujanto, L.; Wakelin, S. Allergic Contact Dermatitis to Colophonium in a Sanitary Pad - An Overlooked Allergen? Contact Dermatitis 2012, 66, 161–162. [CrossRef]
- Elms, J.; Fishwick, D.; Robinson, E.; Burge, S.; Huggins, V.; Barber, C.; Williams, N.; Curran, A. Specific IgE to Colophony? Occup Med (Chic Ill) 2005, 55, 234–237. [CrossRef]
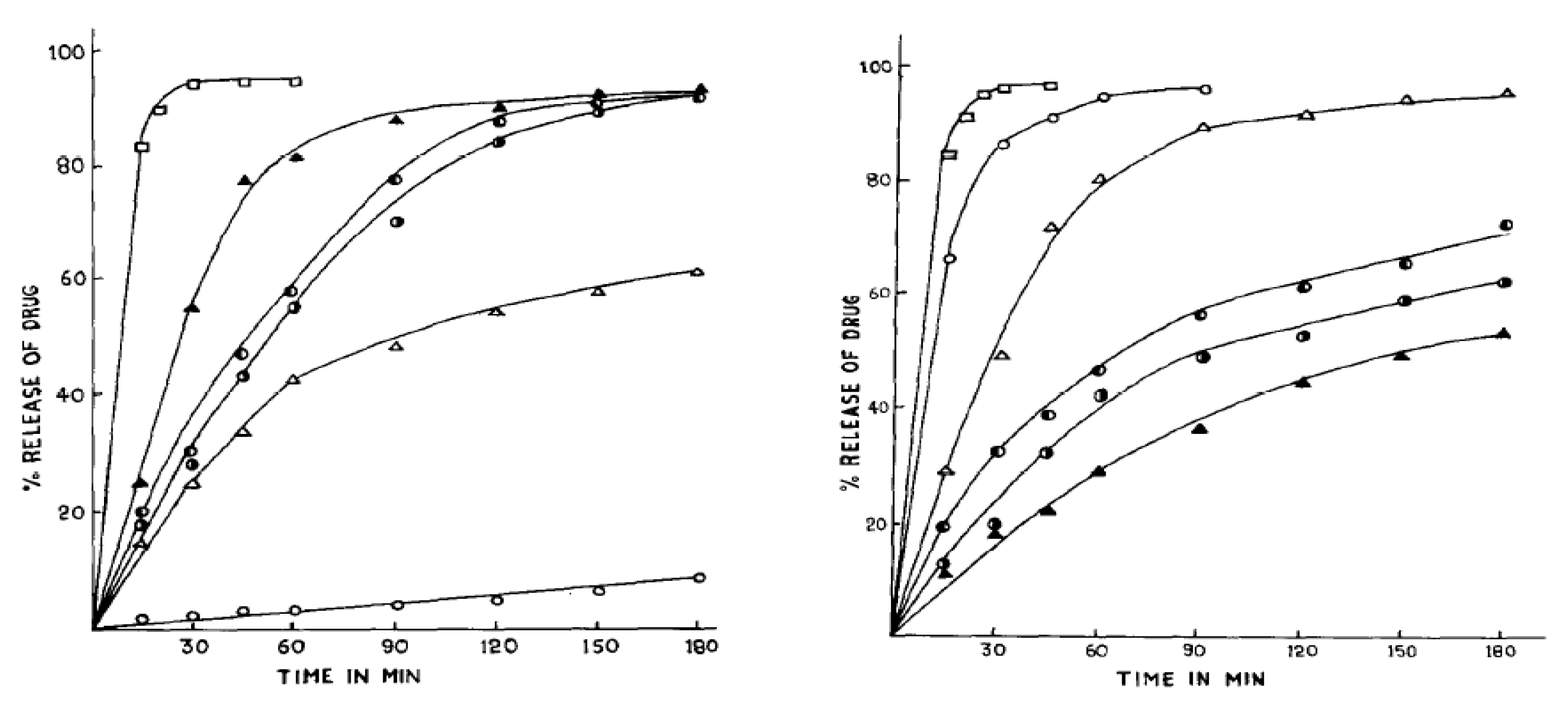
- Pathak, Y. V.; Dorle, A.K. Study of Rosin and Rosin Derivatives as Coating Materials for Controlled Release of Drug. Journal of Controlled Release 1987, 5, 63–68. [CrossRef]



). Reproduced from ref (Pathak & Dorle, 1987) with perm with permission. Copyright © 1987, Elsevier.
). Reproduced from ref (Pathak & Dorle, 1987) with perm with permission. Copyright © 1987, Elsevier.




| Application Area | Function/Role | Key Benefits/Properties | References |
|---|---|---|---|
| Adhesives & Tackifiers | Acts as a tackifier in hot-melt and pressure-sensitive adhesives; also used as a grip enhancer (e.g., in sports and dance floors). | Improves initial stickiness by enhancing wetting and bonding; cost effective (accounts for 30–50% of formulation); enhances mechanical performance and adhesion. | [14,15] |
| Printing Inks | Binder/Film-Former in Offset, Heatset, and Package Printing | Enhances pigment dispersion, adhesion, water resistance, gloss, quick-drying properties, and emulsification stability . | [16] |
| Paper & Packaging | Enhances wet strength in paper and is used in biodegradable packaging films and nanocomposites. | Increases paper hydrophobicity; packaging films exhibit improved tensile, viscoelastic, and antimicrobial properties along with enhanced barrier performance. | [17,18,19,20,21,22] |
| Rubber & Elastomers | Functions as an extender in synthetic rubbers and as a crosslinking agent in silicone rubber. | Improves processability, tensile strength, filler dispersion, and overall quality of vulcanizates; enhances thermal and mechanical properties in silicone rubbers. | [22] |
| Coatings | Utilized as a film-forming component in protective wood coatings. | Enhances adhesion and hardness; provides resistance to moisture and fungal decay through an effective barrier formation. | [23] |
| Food & Beverage | As a food additive primarily used as a stabilizer and emulsifier to maintain uniformity and prevent separation of ingredients. | Enhances the stability and consistency of emulsions in flavored drinks, improves the shelf life and appearance of food products, and complies with updated safety standards. | [24] |
| Textile Coatings | Applied as a protective coating on fabrics, such as personal protective clothing against pesticides. | Provides a hydrophobic barrier while maintaining acceptable breathability and comfort; performance comparable to commercial-grade PPC. | [25,26] |
| Industrial Applications | Enhances adhesion, flexibility, durability, and resistance properties across various industrial applications, such as adhesives, paints, inks, epoxy resins, plastics, paper sizing, surfactants, tires, insulation | Improves adhesion, water resistance, printability, thermal stability, impact resistance, and chemical resistance. | [27] |
| Insecticidal Application | Used as an effective insecticide | Have strong insecticidal efficacy against oriental armyworms, minimal toxicity toward aquatic organisms, and an ecofriendly, sustainable design | [28] |
Disclaimer/Publisher’s Note: The statements, opinions and data contained in all publications are solely those of the individual author(s) and contributor(s) and not of MDPI and/or the editor(s). MDPI and/or the editor(s) disclaim responsibility for any injury to people or property resulting from any ideas, methods, instructions or products referred to in the content. |
© 2025 by the authors. Licensee MDPI, Basel, Switzerland. This article is an open access article distributed under the terms and conditions of the Creative Commons Attribution (CC BY) license (http://creativecommons.org/licenses/by/4.0/).