Submitted:
28 June 2023
Posted:
29 June 2023
You are already at the latest version
Abstract
Keywords:
1. Introduction
- The first part of this article covers electric vehicle batteries and motors. Moreover, information regarding electric vehicle kinds, battery capacities, and motor drives can be found in this area. A complete analysis of battery technology from lead-acid to LIB is also provided [20]. This section discusses battery technologies, especially electric car batteries. The most prevalent electric motors in EVs and vehicles are presented. EV owners can use this information to select a motor that best suits their needs in terms of energy economy, power density, speed, dependability, size, and cost.
- The second section, which investigates the different configurations of electric vehicles, offers a summary of the numerous categories of electric vehicles, including BEVs, HEVs, and PHEVs. They incorporate the technology as well as the framework of electric automobiles [21].
- The third section makes projections about the future of transportation and discusses the challenges that will be faced by electric vehicles. These challenges include the need for improvements in battery performance, charging times, law and regulation, and an open market for power. By doing so, it is anticipated that updated EV technology will be made available. These challenges are necessary for obtaining a new point of view on EVs and the growing movement towards the future [22].
2. Batteries and Electric Motors
2.1. Battery Engineering

2.2. Electric Motor Engineering
- IM=Induction motor
- PM-SM=Permanent magnet synchronous motor
- PM-BLDC=Permanent magnet-brushless DC motor; and
- SRM=Switching reluctance motor
2. Configurations of EVs
- Electric Battery Vehicle (BEV)
- Hybrid Electric Vehicle (HEV)
- Plug-in Electric Hybrid Vehicle (PHEV)
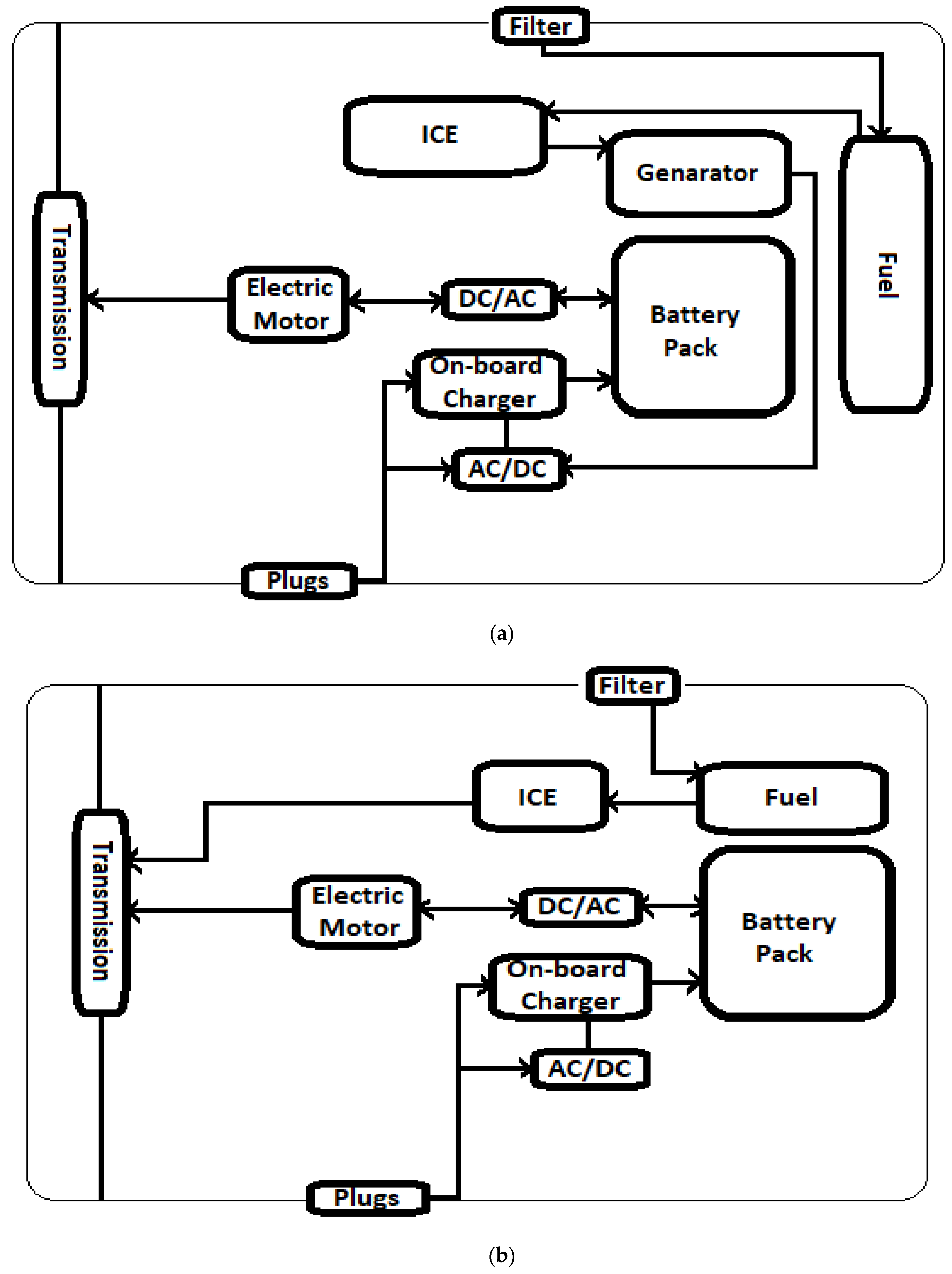
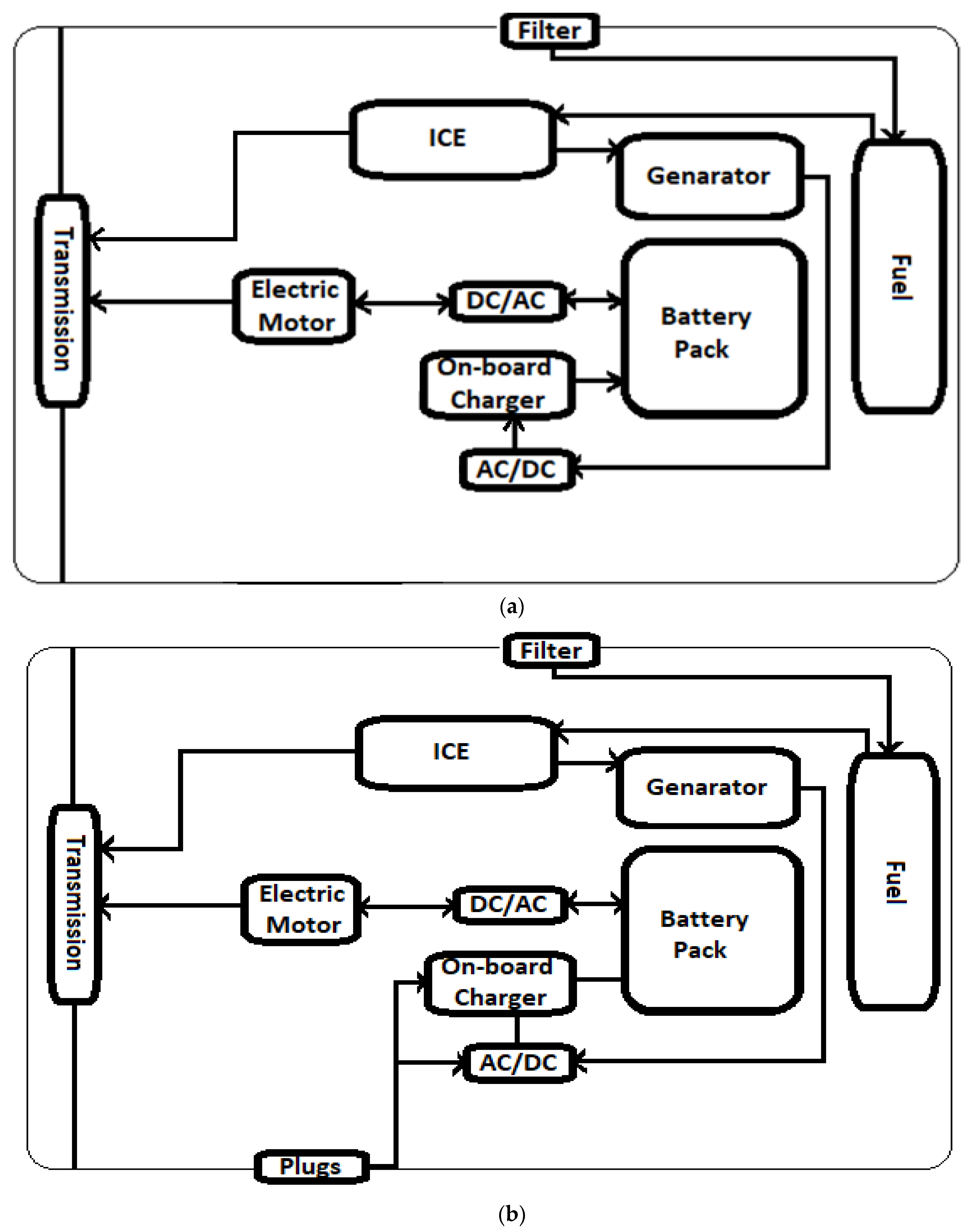
2.1. Batteries Electric Vehicles (BEVs)

2.2. Hybrid Electric Cars (HEVs)

2.3. Plug-In Electric Hybrid Cars (PHEVs)


3. Upcoming Opportunities and Challenges of EVs
- The automobile as a type of emerging technology
- Charging times and technology for connecting vehicles to power grids;
- An increase in the efficiency of batteries;
- Public policy and regulatory frameworks; and
- A free and open market for power.
3.1. The Automobile as a Type of Emerging Technology
3.2. Charging Times and Technology for Connecting Vehicles to Power Grids
3.3. An increase in the Efficiency of Batteries
3.4. Public Policy and Regulatory Frameworks
3.5. A free and Open Market for Power
4. Concluding Remarks
References
- May, G.; Davidson, A.; Monahov, B. Lead batteries for utility energy storage: A review. J. Energy Storage 2021, 15, 145–157. [Google Scholar] [CrossRef]
- Liang, Y.; Zhao, C.; Yuan, H.; Chen, Y.; Zhang, W.; Huang, J.; Yu, D.; Liu, Y.; Titirici, M.; Chueh, Y.; et al. A review of rechargeable batteries for portable electronic devices. InfoMat 2019, 1, 6–32. [Google Scholar] [CrossRef]
- Koehler, U. General Overview of Non-Lithium Battery Systems and Their Safety Issues; Elsevier B.V.: Amsterdam, The Netherlands, 2020; ISBN 9780444637772. [Google Scholar]
- Qazi, S. Fundamentals of Standalone Photovoltaic Systems; Elsevier: Amsterdam, The Netherlands, 2019; ISBN 9780128030226. [Google Scholar]
- Chen, W.; Jin, Y.; Zhao, J.; Liu, N.; Cui, Y. Nickel-hydrogen batteries for large-scale energy storage. Proc. Natl. Acad. Sci. USA 2020, 115, 11694–11699. [Google Scholar] [CrossRef]
- Li, G.; Lu, X.; Kim, J.Y.; Meinhardt, K.D.; Chang, H.J.; Canfield, N.L.; Sprenkle, V.L. Advanced intermediate temperature sodium-nickel chloride batteries with ultra-high energy density. Nat. Commun. 2019, 7, 1–6. [Google Scholar] [CrossRef]
- Benato, R.; Cosciani, N.; Crugnola, G.; Sessa, S.D.; Lodi, G.; Parmeggiani, C.; Todeschini, M. Sodium nickel chloride battery technology for large-scale stationary storage in the high voltage network. J. Power Sources 2020, 293, 127–136. [Google Scholar] [CrossRef]
- Juangsa, F.; Budiman, B.; Sambegoro, P.; Darmanto, P.; Nozaki, T. Synthesis of Nanostructured Silicon Nanoparticles for Anodes of Li-Ion Battery. In Proceedings of the International Conference on Electric Vehicular Technology (ICEVT), Bali, Indonesia, 18–21 November 2020. [Google Scholar]
- Schuster, S.; Brand, J.; Berg, P.; Gleissenberger, M.; Jossen, A. Lithium-ion cell to cell variation during battery electric vehicle operation. J. Power Sources 2019, 297, 242–251. [Google Scholar] [CrossRef]
- Amiribavandpour, P.; Shen, W.; Kapoor, A. An improved theoretical electrochemical thermal modeling of lithium-ion battery packs in electric vehicles. J. Power Sources 2020, 284, 328–338. [Google Scholar] [CrossRef]
- Rahardian, S.; Budiman, B.; Sambegoro, P.; Nurprasetio, I. Review of Solid-State Battery Technology Progress. In Proceedings of the International Conference on Electric Vehicular Technology (ICEVT), Bali, Indonesia, 18–21 November 2019. [Google Scholar]
- Tie, S.; Tan, C. A review of energy sources and energy management system in electric vehicles 2013, 20. Renew. Sustain. Energy Rev. 2020, 20, 82–102. [Google Scholar] [CrossRef]
- Rahman, M.; Wang, X.; Wen, C. A review of high energy density lithium-air battery technology. J. Appl. Electrochem. 2014, 44, 5–22. [Google Scholar] [CrossRef]
- Chang, C. Factors Affecting Capacity Design of Lithium-Ion. MDPI, Basel, Switz. 2019. Batteries 2019, 5, 58. [Google Scholar] [CrossRef]
- Liu, Y.; Gene Liao, Y.; Lai, M.C. Lithium-ion polymer battery for 12-voltage applications: Experiment, modelling, and validation. Energies 2020, 13, 638. [Google Scholar] [CrossRef]
- Mongird, K.; Viswanathan, V.; Balducci, P.; Alam, J.; Fotedar, V.; Koritarov, V.; Hadjerioua, B. Energy Storage Technology and Cost Characterization Report|Department of Energy; Pacific Northwest National Lab. (PNNL): Richland, WA, USA, 2019. [Google Scholar]
- Review of Battery Techonologies for Automotive Applications; ACEA: Brussels, Belgium, 2014.
- Sharma, A.; Sharma, S. Review of power electronics in vehicle-to-grid systems. J. Energy Storage 2019, 21, 337–361. [Google Scholar] [CrossRef]
- Zang, X.; Shen, C.; Sanghadasa, M.; Lin, L. High-Voltage Supercapacitors Based on Aqueous Electrolytes. ChemElectroChem 2019, 6, 976–988. [Google Scholar] [CrossRef]
- Afif, A.; Rahman, S.M.H.; Tasfiah Azad, A.; Zaini, J.; Islan, M.A.; Azad, A.K. Advanced materials and technologies for hybrid supercapacitors for energy storage—A review. J. Energy Storage 2019, 25, 100852. [Google Scholar] [CrossRef]
- Kate, R.S.; Khalate, S.A.; Deokate, R.J. Overview of nanostructured metal oxides and pure nickel oxide (NiO) electrodes for supercapacitors: A review. J. Alloy. Compd. 2020, 734, 89–111. [Google Scholar] [CrossRef]
- Zhang, Q.; Deng, W.; Zhang, S.; Wu, J. A Rule Based Energy Management System of Experimental Battery/Supercapacitor Hybrid Energy Storage System for Electric Vehicles. J. Control Sci. Eng. 2018, 2018, 6828269. [Google Scholar] [CrossRef]
- Lü, X.; Qu, Y.; Wang, Y.; Qin, C.; Liu, G. A comprehensive review on hybrid power system for PEMFC-HEV: Issues and strategies. Energy Convers. Manag. 2020, 171, 1273–1291. [Google Scholar] [CrossRef]
- Li, T.; Liu, H.; Zhao, D.; Wang, L. Design and analysis of a fuel cell supercapacitor hybrid construction vehicle. Int. J. Hydrog. Energy 2018, 41, 12307–12319. [Google Scholar] [CrossRef]
- Balali, Y.; Stegen, S. Review of energy storage systems for vehicles based on technology, environmental impacts, and costs. Renew. Sustain. Energy Rev. 2021, 135, 110185. [Google Scholar] [CrossRef]
- Cheng, M.; Sun, L.; Buja, G.; Song, L. Advanced electrical machines and machine-based systems for electric and hybrid vehicles. Energies 2022, 8, 9541–9564. [Google Scholar] [CrossRef]
- Eldho Aliasand, A.; Josh, F.T. Selection of Motor foran Electric Vehicle: A Review. Mater. Today Proc. 2020, 24, 1804–1815. [Google Scholar] [CrossRef]
- López, I.; Ibarra, E.; Matallana, A.; Andreu, J.; Kortabarria, I. Next generation electric drives for HEV/EV propulsion systems: Technology, trends and challenges. Renew. Sustain. Energy Rev. 2019, 114, 109336. [Google Scholar] [CrossRef]
- Finken, T.; Felden, M.; Hameyer, K. Comparison and design of different electrical machine types regarding their applicability in hybrid electrical vehicles. In Proceedings of the 2021 18th International Conference on Electrical Machines, Vilamoura, Portugal, 6–9 September 2021; pp. 1–5. [Google Scholar]
- Bharadwaj, N.V.; Chandrasekhar, P.; Sivakumar, M. Induction motor design analysis for electric vehicle application. AIP Conf. Proc. 2020, 2269, 10–14. [Google Scholar]
- Mahmoudi, A.; Soong, W.L.; Pellegrino, G.; Armando, E. Efficiency maps of electrical machines. In Proceedings of the 2022 IEEE Energy Conversion Congress and Exposition (ECCE), Montreal, QC, Canada, 20–24 September 2022; pp. 2791–2799. [Google Scholar]
- Lumyong, P.; Sarikprueck, P. A Study on Induction Motor Efficiency Improvement for Implementing in Electric Vehicle. In Proceedings of the 2020 21st International Conference on Electrical Machines and Systems (ICEMS), Jeju, Korea, 7–10 October 2020; pp. 616–619. [Google Scholar]
- Loganayaki, A.; Bharani Kumar, R. Permanent Magnet Synchronous Motor for Electric Vehicle Applications. In Proceedings of the 2019 5th International Conference on Advanced Computing & Communication Systems (ICACCS), Coimbatore, India, 15–16 March 2019; pp. 1064–1069. [Google Scholar]
- Chiba, A.; Kiyota, K. Review of research and development of switched reluctance motor for hybrid electrical vehicle. In Proceedings of the 2022 IEEE Workshop on Electrical Machines Design, Control and Diagnosis (WEMDCD), Turin, Italy, 26–27 March 2022; pp. 127–131. [Google Scholar]
- Guo, Q.; Zhang, C.; Li, L.; Zhang, J.; Wang, M. Maximum Efficiency Control of Permanent-Magnet Synchronous Machines for Electric Vehicles. Energy Proc. 2019, 105, 2267–2272. [Google Scholar] [CrossRef]
- Wang, W.; Fu, R.; Fan, Y. Electromagnetic Parameters Matching of Permanent Magnet Synchronous Motor for Hybrid Electric Vehicles. IFAC-PapersOnLine 2020, 51, 407–414. [Google Scholar] [CrossRef]
- Karki, A.; Phuyal, S.; Tuladhar, D.; Basnet, S.; Shrestha, B.P. Status of pure electric vehicle power train technology and future prospects. Appl. Syst. Innov. 2020, 3, 35. [Google Scholar] [CrossRef]
- Thakar, D.U.; Patel, R.A. Comparison of Advance and Conventional Motors for Electric Vehicle Application. In Proceedings of the 2019 3rd International Conference on Recent Developments in Control, Automation & Power Engineering (RDCAPE), Noida, India, 10–11 October 2019; pp. 137–142. [Google Scholar]
- Sharifan, S.; Ebrahimi, S.; Oraee, A.; Oraee, H. Performance comparison between brushless PM and induction motors for hybrid electric vehicle applications. In Proceedings of the 2022 Intl Aegean Conference on Electrical Machines & Power Electronics (ACEMP), 2022 Intl Conference on Optimization of Electrical & Electronic Equipment (OPTIM) & 2022 Intl Symposium on Advanced Electromechanical Motion Systems (ELECTROMOTION), Side, Turkey, 2–4 September 2022; pp. 719–724. [Google Scholar]
- Gan, C.; Wu, J.; Hu, Y.; Yang, S.; Cao, W.; Guerrero, J.M. New Integrated Multilevel Converter for Switched Reluctance Motor Drives in Plug-in Hybrid Electric Vehicles with Flexible Energy Conversion. IEEE Trans. Power Electron. 2019, 32, 3754–3766. [Google Scholar] [CrossRef]
- Kumar, R.; Saxena, R. Simulation and Analysis of Switched Reluctance Motor Drives for Electric Vehicle Applications using MATLAB. In Proceedings of the 2019 4th International Conference on Electrical, Communication, Computer Technologies and Optimization Techniques (ICEECCOT), Mysuru, India, 13–14 December 2019; pp. 23–28. [Google Scholar]
- Chang, H.C.; Jheng, Y.M.; Kuo, C.C.; Hsueh, Y.M. Induction motors condition monitoring system with fault diagnosis using a hybrid approach. Energies 2019, 12, 1471. [Google Scholar] [CrossRef]
- Ganesan, S.; David, P.W.; Balachandran, P.K.; Samithas, D. Intelligent Starting Current-Based Fault Identification of an Induction Motor Operating under Various Power Quality Issues. Energies 2021, 14, 304. [Google Scholar] [CrossRef]
- Pindoriya, R.M.; Rajpurohit, B.S.; Kumar, R.; Srivastava, K.N. Comparative analysis of permanent magnet motors and switched reluctance motors capabilities for electric and hybrid electric vehicles. In Proceedings of the 2020 IEEMA Engineer Infinite Conference (eTechNxT), New Delhi, India, 13–14 March 2020; pp. 1–5. [Google Scholar]
- Rahman, M.S.; Lukman, G.F.; Hieu, P.T.; Jeong, K.-I.; Ahn, J.-W. Optimization and Characteristics Analysis of High Torque Density 12/8 Switched Reluctance Motor Using Metaheuristic Gray Wolf Optimization Algorithm. Energies 2021, 14, 2013. [Google Scholar] [CrossRef]
- Ronanki, D.; Kelkar, A.; Williamson, S.S. Extreme fast charging technology—Prospects to enhance sustainable electric transportation. Energies 2019, 12, 3721. [Google Scholar] [CrossRef]
- IEA. Global E V Outlook. Towards Cross-Modal Electrification; International Energy Agency: Paris, France, 2020. [Google Scholar]
- Faizal, M.; Feng, S.; Zureel, M.; Sinidol, B.; Wong, D.; Jian, K. A review on challenges and opportunities of electric vehicles (evs). J. Mech. Eng. Res. Dev. JMERD 2019, 42, 130–137. [Google Scholar] [CrossRef]
- Suarez, C.; Martinez, W. Fast and Ultra-Fast Charging for Battery Electric Vehicles—A Review. In Proceedings of the 2019 IEEE Energy Conversion Congress and Exposition (ECCE), Baltimore, MD, USA, 29 September–3 October 2019; pp. 569–575. [Google Scholar]
- Mansour, M.B.M.; Said, A.; Ahmed, N.E.; Sallam, S. Autonomous parallel car parking. In Proceedings of the 2020 Fourth World Conference on Smart Trends in Systems, Security and Sustainability (WorldS4), London, UK, 27–28 July 2020; pp. 392–397. [Google Scholar]
- Wang, Y.; Sun, W.; Lu, Y. Research on application in intelligent vehicle automatic control system. J. Phys. Conf. Ser. 2021, 1828, 012046. [Google Scholar] [CrossRef]
- Noh, B.; Park, H.; Yeo, H. Analyzing vehicle-pedestrian interactions: Combining data cube structure and predictive collision risk estimation mode. Accid. Anal. Prev. 2021, 152, 105970. [Google Scholar] [CrossRef] [PubMed]
- Elma, O.; Adham, M.I.; Gabbar, H.A. Effects of Ultra-Fast Charging System for Battery Size of Public Electric Bus. In Proceedings of the IEEE 8th International Conference on Smart Energy Grid Engineering (SEGE), Oshawa, ON, Canada, 12–14 August 2020. 104. Brenna, M.; Foiadelli, F.; Leone, C.; Longo, M. Electric Vehicles Charging Technology Review and Optimal Size Estimation. J. Electr. Eng. Technol. 2020, 15, 2539–2552. [Google Scholar]
- Das, H.S.; Rahman, M.M.; Li, S.; Tan, C.W. Electric vehicles standards, charging infrastructure, and impact on grid integration: A technological review. Renew. Sustain. Energy Rev. 2020, 120, 109618. [Google Scholar] [CrossRef]
- Sun, X.; Li, Z.; Wang, X.; Li, C. Technology development of electric vehicles: A review. Energies 2019, 13, 90. [Google Scholar] [CrossRef]
- Huda, M.; Tokimatsu, K.; Aziz, M. Techno economic analysis of vehicle to grid (V2G) integration as distributed energy resources in Indonesia power system. Energies 2020, 13, 1162. [Google Scholar] [CrossRef]
- Aziz, M.; Budiman, B.A. Extended utilization of electric vehicles in electrical grid services. In Proceedings of the 2019 4th International Conference on Electric Vehicular Technology (ICEVT), Bali, Indonesia, 2–5 October 2019; pp. 1–6. [Google Scholar]
- Kriukov, A.; Gavrilas, M. Energy/Cost efficiency study on V2G operating mode for EVs and PREVs. In Proceedings of the 2019 8th International Conference on Modern Power Systems (MPS), Cluj, Romania, 21–23 May 2019. [Google Scholar]
- Małek, A.; Caban, J.; Wojciechowski, Ł. Charging electric cars as a way to increase the use of energy produced from RES. Open Eng. 2020, 10, 98–104. [Google Scholar] [CrossRef]
- Aziz, M.; Oda, T.; Ito, M. Battery-assisted charging system for simultaneous charging of electric vehicles. Energy 2018, 100, 82–90. [Google Scholar] [CrossRef]
- Kurtz, J.; Bradley, T.; Winkler, E.; Gearhart, C. Predicting demand for hydrogen station fueling. Int. J. Hydrog. Energy 2020, 45, 32298–32310. [Google Scholar] [CrossRef]
- Wang, D.; Muratori, M.; Eichman, J.; Wei, M.; Saxena, S.; Zhang, C. Quantifying the flexibility of hydrogen production systems to support large-scale renewable energy integration. J. Power Sources 2020, 399, 383–391. [Google Scholar] [CrossRef]
- Huang, X.; Li, Y.; Meng, J.; Sui, X.; Teodorescu, R.; Stroe, I. The Effect of Pulsed Current on the Performance of Lithium-ion Batteries. In Proceedings of the 2020 IEEE Energy Conversion Congress and Exposition (ECCE), Detroit, MI, USA, 11–15 October 2020; pp. 5633–5640. [Google Scholar]
- Biao, J.; Fangfang, L.; Zhiwen, A.; Zhiqiang, X.; Bin, J. Thermal Simulation of Power Lithium-ion Battery under Low Temperature and Preheating Condition. In Proceedings of the 2020 5th International Conference on Smart Grid and Electrical Automation (ICSGEA), Zhangjiajie, China, 13–14 June 2020; pp. 51–54. [Google Scholar]
- Deng, J.; Bae, C.; Denlinger, A.; Miller, T. Electric Vehicles Batteries: Requirements and Challenges. Joule 2020, 4, 511–515. [Google Scholar] [CrossRef]
- König, A.; Nicoletti, L.; Schröder, D.; Wolff, S.; Waclaw, A.; Lienkamp, M. An overview of parameter and cost for battery electric vehicles. World Electr. Veh. J. 2021, 12, 1–29. [Google Scholar] [CrossRef]
- Hardman, S.; Chandan, A.; Tal, G.; Turrentine, T. The effectiveness of financial purchase incentives for battery electric vehicles—A review of the evidence. Renew. Sustain. Energy Rev. 2019, 80, 1100–1111. [Google Scholar] [CrossRef]
- Lévay, P.Z.; Drossinos, Y.; Thiel, C. The effect of fiscal incentives on market penetration of electric vehicles: A pairwise comparison of total cost of ownership. Energy Policy 2019, 105, 524–533. [Google Scholar] [CrossRef]
- Curtin, J.; McInerney, C.; Ó Gallachóir, B. Financial incentives to mobilise local citizens as investors in low-carbon technologies: A systematic literature review. Renew. Sustain. Energy Rev. 2019, 75, 534–547. [Google Scholar] [CrossRef]
- Automotive Dialogue. The Impact of Government Policy on Promoting New Energy Vehicles (NEVs): The Evidence in APEC Economies; APEC: Singapore, 2019. [Google Scholar]
- Brückmann, G.; Bernauer, T. What drives public support for policies to enhance electric vehicle adoption? Environ. Res. Lett. 2020, 15, 094002. [Google Scholar] [CrossRef]
- Abuelrub, A.; Al Khalayleh, A.R.; Allabadi, A. Optimal operation of electric vehicle charging station in an open electricity market. Int. J. Smart Grid Clean Energy 2019, 8, 495–499. [Google Scholar] [CrossRef]
- Yan, Q.; Zhang, B.; Kezunovic, M. Optimized operational cost reduction for an EV charging station integrated with battery energy storage and PV generation. IEEE Trans. Smart Grid 2019, 10, 2096–2106. [Google Scholar] [CrossRef]
- Huang, Z.; Li, Z.; Lai, C.S.; Zhao, Z.; Wu, X.; Li, X.; Tong, N.; Lai, L.L. A novel power market mechanism based on blockchain for electric vehicle charging stations. Electron 2021, 10, 307. [Google Scholar] [CrossRef]
- Cheng, Y.H.; Lai, C.M.; Teh, J. Application of particle swarm optimization to design control strategy parameters of parallel hybrid electric vehicle with fuel economy and low emission. In Proceedings of the 2020 International Symposium on Computer, Consumer and Control (IS3C), Taichung, Taiwan, 6–8 December 2020; pp. 342–345. [Google Scholar]
- Zhou, S.; Chen, Z.; Huang, D.; Lin, T. Model Prediction and Rule Based Energy Management Strategy for a Plug-in Hybrid Electric Vehicle with Hybrid Energy Storage System. IEEE Trans. Power Electron. 2021, 36, 5926–5940. [Google Scholar] [CrossRef]
- Lee, H.; Nakasaku, S.; Hirota, T.; Kamiya, Y.; Ihara, Y.; Yamaura, T. Analysis of Energy Consumption and Possibility of Further Reduction of a Fuel Cell Garbage Truck. In Proceedings of the 21st International Conference on Intelligent Transportation Systems (ITSC), Maui, HI, USA, 4–7 November 2020. [Google Scholar]
- Lee, D.Y.; Elgowainy, A.; Dai, Q. Life cycle greenhouse gas emissions of hydrogen fuel production from chlor-alkali processes in the United States. Appl. Energy 2020, 217, 467–479. [Google Scholar] [CrossRef]
- Nagasawa, K.; Davidson, F.T.; Lloyd, A.C.; Webber, M.E. Impacts of renewable hydrogen production from wind energy in electricity markets on potential hydrogen demand for light-duty vehicles. Appl. Energy 2019, 235, 1001–1016. [Google Scholar] [CrossRef]
- Fan, X.; Liu, B.; Liu, J.; Ding, J.; Han, X.; Deng, Y.; Lv, X.; Xie, Y.; Chen, B.; Hu, W.; et al. Battery Technologies for Grid-Level Large-Scale Electrical Energy Storage. Trans. Tianjin Univ. 2020, 26, 92–103. [Google Scholar] [CrossRef]
- Kim, S.; Oguchi, H.; Toyama, N. A complex hydride lithium superionic conductor for high-energy-density all-solid-state lithium metal batteries. Nat. Commun. 2019, 10, 1081. [Google Scholar] [CrossRef]
- Cox, B.; Bauer, C.; Mendoza Beltran, A.; van Vuuren, D.P.; Mutel, C.L. Life cycle environmental and cost comparison of current and future passenger cars under different energy scenarios. Appl. Energy 2020, 269, 115021. [Google Scholar] [CrossRef]
- Grunditz, E.A.; Thiringer, T. Performance analysis of current BEVs based on a comprehensive review of specifications. IEEE Trans. Transp. Electrif. 2018, 2, 270–289. [Google Scholar] [CrossRef]
- Islameka, M.; Kusuma, C.; Budiman, B. Influence of Braking Strategies for Electric Trike Energy Consumption. Int. J. Sustain. Transp. Technol. 2020, 3, 20–25. [Google Scholar] [CrossRef]
- Hong, J.; Park, S.; Chang, N. Accurate remaining range estimation for electric vehicles. In Proceedings of the 2018 21st Asia and South Pacific Design Automation Conference (ASP-DAC), Macao, China, 25–28 January 2018. [Google Scholar]
- Wachter, C. Electric three-wheelers as an alternative to combustion-engined autorickshaws in Dar es Salaam—Generation of a standard drive cycle, Power Train modeling, and simulation of the energy demand of light electric vehicles. In Proceedings of the Fifteenth International Conference on Ecological Vehicles and Renewable Energies (EVER), Monte-Carlo, Monaco, 10–12 September 2020. [Google Scholar]
- Baek, D. Runtime Power Management of Battery Electric Vehicles for Extended Range with Consideration of Driving Time. IEEE Trans. Very Large Scale Integr. Syst. 2019, 27, 549–559. [Google Scholar] [CrossRef]
- Dovgan, E.; Javorski, M.; Tušar, T.; Gams, M.; Filipicˇ, B. Discovering driving strategies with a multiobjective optimization algorithm. Appl. Soft Comput. J. 2014, 16, 50–62. [Google Scholar] [CrossRef]
- Ozatay, E.; Ozguner, U.; Michelini, J.; Filev, D. Analytical Solution to the Minimum Energy Consumption Based Velocity Profile Optimization Problem with Variable Road Grade; IFAC: New York, NY, USA, 2014; Volume 19, ISBN 9783902823625. [Google Scholar]
- Singh, K.V.; Bansal, H.O.; Singh, D. A comprehensive review on hybrid electric vehicles: Architectures and components. J. Mod. Transp. 2019, 27, 77–107. [Google Scholar] [CrossRef]
- Canbolat, G.; Yas¸ar, H. Performance Comparison for Series and Parallel Modes of a Hybrid Electric Vehicle. Sak. Univ. J. Sci. 2019, 23, 43–50. [Google Scholar]
- Li, X.; Williamson, S.S. Comparative investigation of series and parallel Hybrid Electric Vehicle (HEV) efficiencies based on comprehensive parametric analysis. In Proceedings of the 2007 IEEE Vehicle Power and Propulsion Conference, Arlington, TX, USA, 9–12 September 2007; pp. 499–505. [Google Scholar]
- Chung, I. Fuel Economy Improvement Analysis of Hybrid Electric Vehicle. Int. J. Automot. Technol. 2019, 20, 531–537. [Google Scholar] [CrossRef]
- Al-Samari, A. Study of emissions and fuel economy for parallel hybrid versus conventional vehicles on real-world and standard driving cycles. Alex. Eng. J. 2019, 56, 721–726. [Google Scholar] [CrossRef]
- Grün, T.; Doppelbauer, M. Comparative concept study of passive hybrid energy storage systems in 48 v mild hybrid vehicles varying lithium-ion battery and supercapacitor technologies. World Electr. Veh. J. 2019, 10, 71. [Google Scholar] [CrossRef]
- Singh, P.A.; Singh, P.L.; Pundir, A.K.; Saini, A. Mild Hybrid Technology in Automotive: A Review. Int. Res. J. Eng. Technol. 2021, 8, 4405–4410. [Google Scholar]
- Kusuma, C.; Budiman, B.; Nurprasetio, I. Simulation Method for Extended-Range Electric Vehicle Battery State of Charge and Energy Consumption Simulation based on Driving Cycle. In Proceedings of the International Conference on Electric Vehicular Technology (ICEVT), Bali, Indonesia, 18–21 November 2019. [Google Scholar]
- Taherzadeh, E.; Dabbaghjamanesh, M.; Gitizadeh, M.; Rahideh, A. A New Efficient Fuel Optimization in Blended Charge Depletion/Charge Sustenance Control Strategy for Plug-in Hybrid Electric Vehicles. IEEE Trans. Intell. Veh. 2020, 3, 374–383. [Google Scholar] [CrossRef]
- Jar, B.; Watson, N.; Miller, A. Rapid EV Chargers: Implementation of a Charger. In Proceedings of the EEA Conference & Exhibition, Wellington, New Zealand, 22–24 June 2018; pp. 1–17. [Google Scholar]
- Rumale, S.; Al Ashkar, H.; Kerner, T.; Koya, F.; Eitzenberger, M. Design and Implementation of an On-Board Vehicle CHAdeMO Interface for Vehicle-to-Grid Applications. In Proceedings of the 2020 IEEE International Conference on Power Electronics, Smart Grid and Renewable Energy (PESGRE2020), Cochin, India, 2–4 January 2020; pp. 1–6. [Google Scholar]
- Das, S.; Acharjee, P.; Bhattacharya, A. Charging Scheduling of Electric Vehicle incorporating Grid-to-Vehicle (G2V) and Vehicle-toGrid (V2G) technology in Smart-Grid. In Proceedings of the 2020 IEEE International Conference on Power Electronics, Smart Grid and Renewable Energy (PESGRE2020), Cochin, India, 2–4 January 2020; pp. 1–6. [Google Scholar]
- Xu, L.; Li, Z.; Sun, H.; Fan, J.; Bai, Q.; Ou, Y.; Wang, P.; Deng, B. Study on Control Strategy for Series-Parallel Hybrid Electric Vehicles. J. Phys. Conf. Ser. 2020, 1617, 012059. [Google Scholar] [CrossRef]
- Zhao, H.; Burke, A. Modelling and Analysis of Plug-in Series-Parallel Hybrid Medium-Duty Vehicles. In Proceedings of the European Battery, Hybrid and Fuel Cell Electric Vehicle Congress, Brussels, Belgium, 2–4 December 2022. [Google Scholar]
- Ding, N.; Prasad, K.; Lie, T.T. The Design of Control Strategy for Blended Series-Parallel Power-Split PHEV—A Simulation Study 2 Optimization Design for Series- parallel Power-split PHEV 3 Simulation Study. Int. J. Transp. Syst. 2019, 2, 21–24. [Google Scholar]
- Puma-Benavides, D.S.; Izquierdo-Reyes, J.; Calderon-Najera, J.D.D.; Ramirez-Mendoza, R.A. A systematic review of technologies, control methods, and optimization for extended-range electric vehicles. Appl. Sci. 2021, 11, 7095. [Google Scholar] [CrossRef]
- Liu, Y.; Qiao, J.; Xu, H.; Liu, J.; Chen, Y. Optimal vehicle size and driving condition for extended-range electric vehicles in China: A life cycle perspective. PLoS ONE 2020, 15, e0241967. [Google Scholar] [CrossRef] [PubMed]
- Reksowardojo, I.K.; Arya, R.R.; Budiman, B.A.; Islameka, M.; Santosa, S.P.; Sambegoro, P.L.; Aziz, A.R.A.; Abidin, E.Z.Z. Energy management system design for good delivery electric trike equipped with different powertrain configurations. World Electr. Veh.J. 2020, 11, 76. [Google Scholar] [CrossRef]
- Camacho, O.M.F.; Mihet Popa, L. Fast Charging and Smart Charging Tests for Electric Vehicles Batteries using Renewable Energy. Oil Gas Sci Technol. 2018, 71, 13–25. [Google Scholar] [CrossRef]
- Park, S.; Nam, S.; Oh, M.; Choi, I.J.; Shin, J. Preference structure on the design of hydrogen refueling stations to activate energy transition. Energies 2020, 13, 3959. [Google Scholar] [CrossRef]
- Fathabadi, H. Fuel cell hybrid electric vehicle (FCHEV): Novel fuel cell/SC hybrid power generation system. Energy Convers. Manag. J. 2020, 156, 192–201. [Google Scholar] [CrossRef]
- Hu, X.; Murgovski, N.; Johannesson, L.M.; Egardt, B. Optimal dimensioning and power management of a fuel cell/battery hybrid bus via convex programming. IEEE/ASME Trans. Mechatron. 2022, 20, 457–468. [Google Scholar] [CrossRef]
- El Fadil, H.; Giri, F.; Guerrero, J.M.; Tahri, A. Modeling and nonlinear control of a fuel cell/supercapacitor hybrid energy storage system for electric vehicles. IEEE Trans. Veh. Technol. 2014, 63, 3011–3018. [Google Scholar] [CrossRef]
- Li, Q.; Yang, H.; Han, Y.; Li, M.; Chen, W. A state machine strategy based on droop control for an energy management system of PEMFC-battery-supercapacitor hybrid tramway. Int. J. Hydrog. Energy 2018, 41, 16148–16159. [Google Scholar] [CrossRef]
- Halimah, P.; Rahardian, S.; Budiman, B. Battery Cells for Electric Vehicles. Int. J. Sustain. Transp. Technol. 2019, 2, 54–57. [Google Scholar] [CrossRef]
- Sharma, S.; Panwar, A.K.; Tripathi, M.M. Storage technologies for electric vehicles. J. Traffic Transp. Eng. Engl. Ed. 2020, 7, 340. [Google Scholar] [CrossRef]


| SPECIFICATION | LEAD-ACID BATTERY | NI-MH BATTERY | NA-NICL2 BATTERY | LIBS |
|---|---|---|---|---|
| Nominal voltage (V) | 2.00 | 1.20 | 2.40 | 3.60 |
| Energy efficiency (%) | >80 | 70 | 80 | >95 |
| Volumetric energy density (Wh/L) | 100 | 180–220 | 160 | 200–400 |
| Gravimetric energy density (Wh/kg) | 30–50 | 40–110 | 150 | 118–250 |
| Lifecycle | 500–1000 | <3000 | >1200 | 2000 |
| Cost (USD/kWh) | 100.00 | 853–1700 | 482–1000 | 700.00 |
| References | [53,54,55] | [56,57] | [58,59,60,61] | [62,63,64,65,66,67] |
| PARAMETERS | IM | PM-SM | PM-BLDC | SRM |
|---|---|---|---|---|
| Size | +++ | +++ | +++ | +++ |
| Torque ripple | + | + | + | +++++ |
| Efficiency | +++ | ++++ | +++++ | ++++ |
| Power density | +++ | ++++ | ++++ | ++ |
| Acoustic noise | + | + | + | ++ |
| Reliability | ++++ | +++ | +++ | ++++ |
| Fault-tolerant | ++ | ++ | +++ | ++++ |
|
Simple construction |
++ | ++ | +++ | +++++ |
| Cost | +++ | +++++ | +++++ | ++++ |
| Technological maturity | +++++ | ++++ | ++++ | ++++ |
| Opportunity | Automotive market penetration | EVs and HEVs' preferred option | EV drivers' first choice. | Attracting scientists and industry. |
| Challenge | A novel technology control for minimizing fault tolerance and slide. | Precision torque ripple position feedback | External transmission devices like chain drives and fixed gears are needed. | Non-linear control current switching angle identification |
| References | [85,86,87] | [88,89,90]] | [91,92]] | [93,94,95,96,97]] |
Disclaimer/Publisher’s Note: The statements, opinions and data contained in all publications are solely those of the individual author(s) and contributor(s) and not of MDPI and/or the editor(s). MDPI and/or the editor(s) disclaim responsibility for any injury to people or property resulting from any ideas, methods, instructions or products referred to in the content. |
© 2023 by the authors. Licensee MDPI, Basel, Switzerland. This article is an open access article distributed under the terms and conditions of the Creative Commons Attribution (CC BY) license (http://creativecommons.org/licenses/by/4.0/).
