Submitted:
20 April 2026
Posted:
21 April 2026
You are already at the latest version
Abstract
Keywords:
1. Introduction
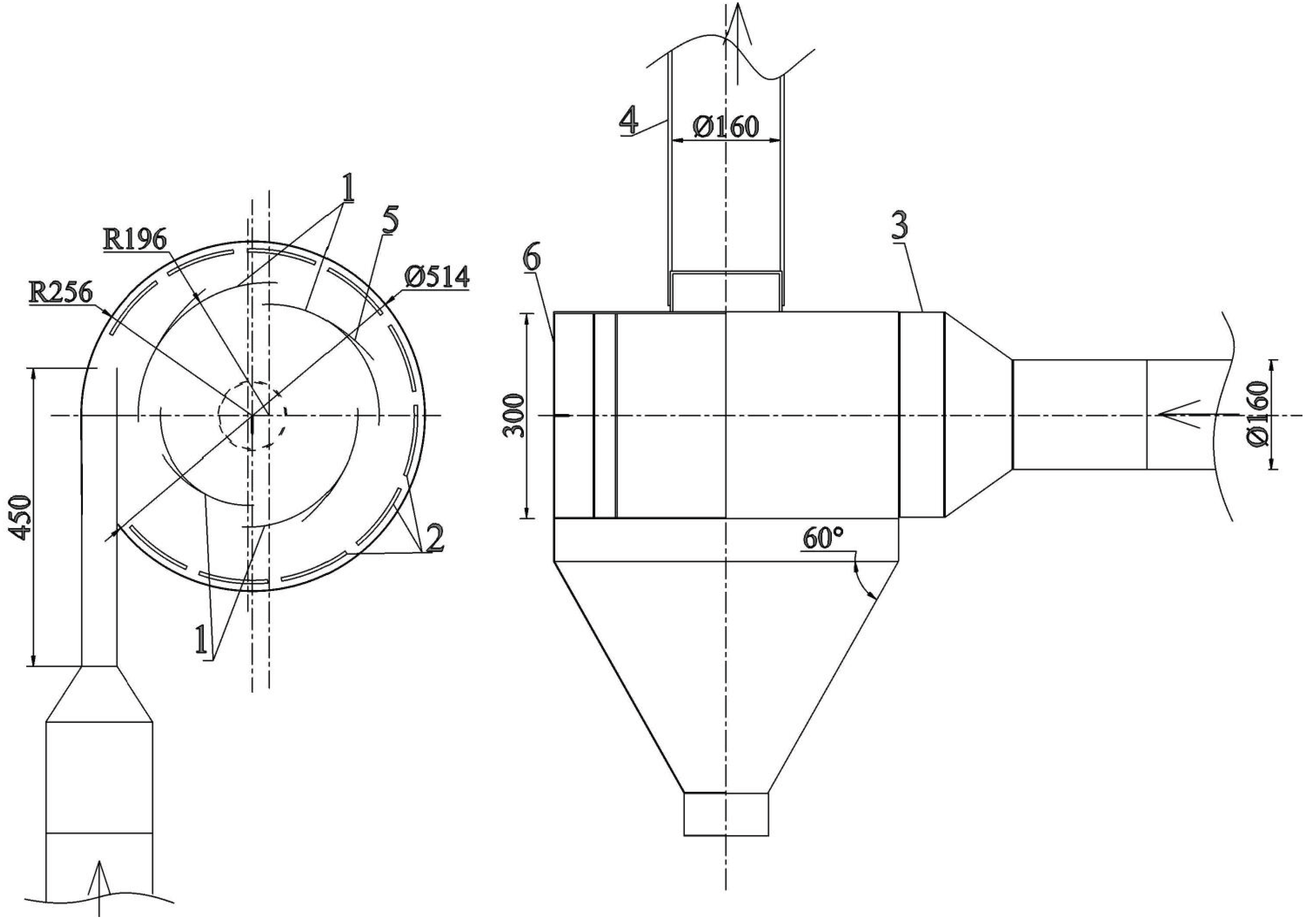
Particle Separation Under Harsh Microclimatic Operating Conditions
Concept and Aim of Study
2. Materials and Methods
Mechanical Impact of an Harsh Microclimatic Conditions on Particles in a Cyclone Separator Channel
3. Results
Experimental Research on Gas Flow Dynamics in Different Design Multi-Channel
4. Discussion

5. Conclusions
- Harsh environmental factors, such as high temperature in water vapor–saturated flows, have a significant effect on gas properties. Under these conditions, the density and kinematic viscosity of dry gas decrease proportionally, while the density and dynamic viscosity of humid gas increase. At 200 °C and 70% relative humidity, the density of the humid gas flow increases 4.5 times, and its kinematic viscosity rises 3.1 times compared to standard conditions.
- Analysis of forces acting on particles within the multi-channel cyclone revealed that drag force are among the most significant. At standard conditions, this force is 1.07 mN, whereas at 200 °C and 70% relative humidity, it increases approximately 55%, reaching 2.37 mN. The largest variations were observed at 150 °C and higher temperatures under high humidity conditions (70–80%). Fouling of the multi-channel cyclone system by fine particles is primarily influenced by adhesion forces, while particle deposition is dominated by gravity. For fine particles with diameters below 5 µm, adhesion forces exceed gravitational forces significantly. For 1–2 µm particles, the force ratio is 24–7.5 times, while for 5–10 µm particles, the ratio decreases to 1.8–2.1. The maximum gravitational force, 41.1 pN, acts on 20 µm particles, whereas adhesion accounts for only 11.68% (4.8 pN) of this value.
- Experimental measurements of dynamic pressures in cyclones indicated a maximum value of 180.3 Pa in the sixth channel of the cylindrical cyclone, compared to 177.5 Pa in the spiral cyclone. The maximum aerodynamic resistance of the spiral cyclone reached 382 Pa, while the cylindrical cyclone exhibited 432 Pa. The arrangement and geometry of curvilinear elements significantly influence aerodynamic resistance, increasing it near the inlet deflector wall under Position I and when curvilinear elements featuring opening slots are employed.
- Gas purification efficiency experiments were conducted using glass and clay particles up to 20 µm, which conventional cyclone designs typically fail to separate. Using glass particles, the spiral cyclone with curvilinear elements achieved a maximum removal efficiency of 87.3% at an inlet concentration of 15 g/m³. The cylindrical cyclone under the same conditions showed an efficiency 11.3% lower, with a maximum of 78.4%. For clay particles, the highest separation efficiency reached 74.1% in the spiral cyclone using curvilinear elements at 15 g/m³ inlet concentration. In the cylindrical cyclone, the maximum efficiency was 69.3%, approximately 13% lower.
- Calculations indicated that 10 µm particles in gas flow under harsh microclimatic conditions are predominantly influenced by centrifugal–filtration forces in peripheral flow regions and by adhesion–capillary forces in transitional flow zones. The centrifugal–filtration force reaches up to 600 pN, whereas the adhesion–capillary force is roughly 3.2 times weaker. Compared to standard conditions (0 °C temperature, 50% relative humidity), the density of humid gas decreases from 1.295 kg/m³ to 1.280 kg/m³, the dynamic viscosity increases from 17.17 µPa·s to 24.99 µPa·s, and the kinematic viscosity rises from 13.25 mm²/s to 19.52 mm²/s.
Funding
Data Availability Statement
Acknowledgments
Conflicts of Interest
References
- Aylı, E.; Kocak, E. A Comprehensive Review of Cyclone Separator Technology. The Canadian Journal of Chemical Engineering 2024, 103. [Google Scholar] [CrossRef]
- Nakhaei, M.; Lu, B.; Tian, Y.; Wang, W.; Dam-Johansen, K.; Wu, H. CFD Modeling of Gas–Solid Cyclone Separators at Ambient and Elevated Temperatures. Processes 2020, 8, 228. [Google Scholar] [CrossRef]
- Yang, L.H.; Chen, C.Y.; Hsu, W.Y.; Fukui, K.; Fukasawa, T.; Huang, A.N.; Kuo, H.P. Effect of the Operation Temperature on the Hydrodynamics and Performances of a Cyclone Separator. Advanced Powder Technology 2022, 33, 103791. [Google Scholar] [CrossRef]
- Kang, H.-M.; Yook, S.-J.; Jung, H.-Y. Development and Performance Evaluation of a Rotating Liquid-Cone Cyclone Separator for Enhanced Particle Collection Efficiency. Separation and Purification Technology 2026, 394, 137615. [Google Scholar] [CrossRef]
- Liang, C.; Ji, Z.; Wu, X. Study on the Influence of Cone Length in Volute-Type Cyclone Separators on Flow Field Characteristics and Energy Consumption. Separation and Purification Technology 2026, 392, 137032. [Google Scholar] [CrossRef]
- Parker, M.J.; Savory, E.; Straatman, A.G. Development of a Compact Cyclone Particle Separator. Separation and Purification Technology 2026, 393, 137198. [Google Scholar] [CrossRef]
- Hu, B.; Chen, J.-Y.; Yang, L.-X.; Wu, X.-J.; Wei, Y.-D. Experimental Study on Fine Particle Transport and Deposition Processes in the Swirling Flow of a Cyclone Separator. Advanced Powder Technology 2026, 37, 105213. [Google Scholar] [CrossRef]
- Wang, Z.; Jin, A.; Liu, M. Simulation and Experimental Design of an Axial Flow Cyclone Separator Suitable for High-Wind–Sand Environments. Sustainability 2025, 17, 3355. [Google Scholar] [CrossRef]
- Li, B.; Gao, L.; Li, Y.; Zhu, K.; Fu, Z.; Xu, S.; Li, M. Review on the Optimal Design of Cyclone Separator: Theory, Methodology, and Applications. Frontiers in Heat and Mass Transfer 2026, 1–10. [Google Scholar] [CrossRef]
- Wang, M.; Feng, D.; Wang, J.; Hou, L.; Miao, E. CFD Investigation on the Performance of Cyclone Separators with Divergent or Convergent Insertion Pipes. Processes 2023, 11, 2061. [Google Scholar] [CrossRef]
- Babu, K.S.; Sivapirakasam, S.P.; Venkatesh, S. CFD-Based Evaluation of Performance Enhancement in a Baffle-Integrated Settling Chamber Coupled with a Cyclone Separator. Powder Technology 2026, 469, 121767. [Google Scholar] [CrossRef]
- Meng, H.; Chen, J.-Y.; Cao, M.-Q.; Hao, Y.-C.; Cui, H.; Yang, L.-X.; Wei, Y.-D. An Experimental Study on the Effect of Interstage Inlet Gas on Separation Performance of Two-Stage Series Cyclone Separators. Powder Technology 2024, 446, 120147. [Google Scholar] [CrossRef]
- Suppini, C.; Bocelli, M.; Lysova, N.; Volpi, A.; Solari, F.; Montanari, R. A Multi-Stage Classification Approach for Predictive Maintenance of a Cyclonic Bag Filter. Procedia Computer Science 2026, 277, 3497–3508. [Google Scholar] [CrossRef]
- Yel Mahi, M.; Cremaschi, L. Numerical Analysis of Air Dehumidification through Electrospray-Enhanced Vortical Flow Cyclone Separator. International Communications in Heat and Mass Transfer 2025, 167, 109253. [Google Scholar] [CrossRef]
- Li, Y.; Qin, G.; Xiong, Z.; Ji, Y.F.; Fan, L. The Effect of Particle Humidity on Separation Efficiency for an Axial Cyclone Separator. Advanced Powder Technology 2019, 30, 724–731. [Google Scholar] [CrossRef]
- Rosa, E.S.; França, F.A.; Ribeiro, G.S. The Cyclone Gas–Liquid Separator: Operation and Mechanistic Modeling. Journal of Petroleum Science and Engineering 2001, 32, 87–101. [Google Scholar] [CrossRef]
- Muteba, G.K.; Cremaschi, L. Electro-Cyclonic Air Dehumidification Using High-Voltage Electrospray Charging, Dielectrophoresis, and Cyclone Separation. Journal of Building Engineering 2026, 124, 115884. [Google Scholar] [CrossRef]
- Yuan, S.; Sun, G.; Cao, G.; Wu, Y.; Yue, Y.; Song, Z. Study of the Performance and Flow Field of a New Spiral-Roof Cyclone Separator. Powder Technology 2024, 438, 119605. [Google Scholar] [CrossRef]
- Koçak, E. System-Level Prediction and Optimization of Cyclone Separator Performance Using a Hybrid CFD–DEM–ANN Approach. Applied Sciences 2026, 16, 1621. [Google Scholar] [CrossRef]
- Barua, S.; Bin Rahim, M.Z.; Liu, Q. Multi-Objective Optimisation of Dual Inlet Cyclone Separator Using Response Surface Methodology. Particuology 2026, 109, 45–58. [Google Scholar] [CrossRef]
- Dehdarinejad, E.; Moradi, A.; Jahangiri, M.; Dehdarinejad, M. Analysis and Multi-Objective Optimization Impact of the Helical Guide Baffle and Wall Roughness on the Cyclone Performance Using SVR and MOABC Algorithms. Chemical Engineering Science 2026, 325, 123394. [Google Scholar] [CrossRef]
- Edoardo, B.; Piero, D.; Massimo, M.; Li, Z. Generalization of a Semi-Empirical Model to Predict the Efficiency Curve of Laboratory- and Industrial-Scale Cyclone Separators. Separation and Purification Technology 2026, 388, 136385. [Google Scholar] [CrossRef]
- Li, K.; Zhang, D.; Xie, L.; Zhu, G. Multi-Objective Optimization of Swirler in Gas-Liquid Cyclone Separator for Aircraft Environment Control System. Applied Thermal Engineering 2026, 294, 130563. [Google Scholar] [CrossRef]
- Zhang, X.; Ma, S.; Wang, X.; He, Z.; Chang, Y.; Jiang, X. Energy-Efficient Design of Cyclone Separators: Machine Learning Prediction of Particle Self-Rotation Velocities. Energy 2025, 316, 134452. [Google Scholar] [CrossRef]
- Elshorbagy, K.A.; Mohammed, E.A.; AbdElKader, M.G. Particle Sphericity Effects on Tangential Velocity and Pressure Drop in Particulate Matter Cyclone Separators: A CFD–Machine Learning Integrated Study. Powder Technology 2026, 476, 122407. [Google Scholar] [CrossRef]
- Yao, Y.; Shang, M.; Ke, X.; Zhang, J.; Huang, Z.; Zhou, T.; Lyu, J. Design of Multi-Stage Contracted Inlet Duct for Cyclone Separators. Separation and Purification Technology 2024, 332, 125753. [Google Scholar] [CrossRef]
- Wang, C.M.; Wang, T.F.; Fukui, K.; Fukasawa, T.; Hsu, W.Y.; Huang, A.N.; Kuo, H.P. Novel Entrance and Exit Designs towards Fully Developed Dual Vortexes in Cyclone Separators. Advanced Powder Technology 2025, 36, 104937. [Google Scholar] [CrossRef]
- Pukkella, A.K.; Cilliers, J.; Hadler, K. Design of Parabolic Conic Gas Cyclones for Coarse Particle Classification: A CFD Study with Response Surface Methodology. Powder Technology 2024, 433, 119217. [Google Scholar] [CrossRef]
- Duan, J.; Gao, S.; Hou, C.; Wang, W.; Zhang, P.; Li, C. Effect of Cylinder Vortex Stabilizer on Separator Performance of the Stairmand Cyclone. Powder Technology 2020, 372, 305–316. [Google Scholar] [CrossRef]
- Sun, Z.; Yang, H.; Zhang, K.; Wang, Z.; Hong, Z.; Yang, G. Self-Cleaning Effect and Secondary Swirling Clean Gas for Suppressing Particle Deposition on Vortex Finder of Gas Cyclones. Particuology 2024, 90, 72–87. [Google Scholar] [CrossRef]
- Zhang, Y.-H.; Liu, A.-L.; Ma, L.; Wang, Y.-M. Acid Mist Cyclone Separation Experiment on the Hydrochloric Acid Regeneration System of a Cold Rolling Steel Plant. Aerosol and Air Quality Research 2016, 16, 2287–2293. [Google Scholar] [CrossRef]
- Pacheco, P.; Alves, M.A.; Campos, J.B.L.M.; Paiva, J. Erosion in Stairmand Cyclone by Heavy Spherical Particles: Numerical Modelling with Experimental Validation. Powder Technology 2025, 453, 120565. [Google Scholar] [CrossRef]
- Salakhova, E.I.; Zinurov, V.E.; Dmitriev, A.V.; Salakhov, I.I. Modeling of Erosion in a Cyclone and a Novel Separator with Arc-Shaped Elements. Processes 2023, 11, 156. [Google Scholar] [CrossRef]
- Yang, M.; Song, P.; Kong, D.; Huang, T.; Jin, Q. Wear and Corrosion Properties of HVOF Sprayed WC-Cr3C2 Composite Coating for Application in Polysilicon Cyclone Separator. Journal of Materials Research and Technology 2024, 29, 78–89. [Google Scholar] [CrossRef]
- Wang, L.; Chen, E.; Ma, L.; Yang, Z.; Li, Z.; Yang, W.; Wang, H.; Chang, Y. Numerical Simulation and Experimental Study of Gas Cyclone–Liquid Jet Separator for Fine Particle Separation. Chinese Journal of Chemical Engineering 2022, 51, 43–52. [Google Scholar] [CrossRef]
- Li, Y.; Jiang, Q.; Yi, T.; Lou, J. Numerical Simulation Method for Steam Water Separator Used in PWR Steam Generator. Nuclear Engineering and Technology 2026, 58, 104187. [Google Scholar] [CrossRef]
- Wang, F.; Bi, L.; Yang, X.; Wang, J.; Zhang, Y. Efficient Removal of Particulate Matter through Heterogeneous Condensation, Collision Convergence, and Cyclone Separation: Characteristic and Mechanism. Separation and Purification Technology 2025, 361, 131374. [Google Scholar] [CrossRef]
- Dimitrijević, D.; Schmid, M.; Harasek, M.; Bösenhofer, M. Comparison of Experimental, Empirical, and CFD Pressure Losses of Lab-Scale Sampling Cyclones. Separation and Purification Technology 2025, 354, 128992. [Google Scholar] [CrossRef]
- Dehdarinejad, E.; Bayareh, M. Performance Analysis of a Novel Cyclone Separator Using RBFNN and MOPSO Algorithms. Powder Technology 2023, 426, 118663. [Google Scholar] [CrossRef]
- Beloconi, A.; Vounatsou, P. Revised EU and WHO Air Quality Thresholds: Where Does Europe Stand? Atmospheric Environment 2023, 314, 120110. [Google Scholar] [CrossRef]
- Vázquez Calvo, V.L.; Korzeb, Z.; Alonso-Fariñas, B.; Morillo Aguado, J. Circular Economy Transition under the Revised Industrial Emissions Directive: A Review of Challenges and Enablers. Journal of Cleaner Production 2025, 533, 146779. [Google Scholar] [CrossRef]
- Kasman, A.; Kasman, S.; Yildirim, B. Convergence of Air Pollution-Related Death Rates across EU Countries. Atmospheric Pollution Research 2024, 15, 102196. [Google Scholar] [CrossRef]
- Zinurov, V.E.; Dmitrieva, O.S.; Popkova, O.S. Collecting Finely-Dispersed Particles from the Gas Flow in a Centrifugal Separator with Coaxially Arranged Pipes. MATEC Web Conf. 2020, 315, 03003. [Google Scholar] [CrossRef]
- Jasevičius, R.; Kruggel-Emden, H.; Baltrėnas, P. Numerical Simulation of the Sticking Process of Glass-Microparticles to a Flat Wall to Represent Pollutant-Particles Treatment in a Multi-Channel Cyclone. Particuology 2017, 32, 112–131. [Google Scholar] [CrossRef]
- Baltrėnas, P.; Leonavičienė, T. Modelling Trajectories of Solid Particle Motion in the Cyclone. EC 2017, 34, 1829–1848. [Google Scholar] [CrossRef]
- Jasevičius, R.; Kruggel-Emden, H.; Baltrėnas, P. Numerical Simulation of the Sticking Process of Glass-Microparticles to a Flat Wall to Represent Pollutant-Particles Treatment in a Multi-Channel Cyclone. Particuology 2017, 32, 112–131. [Google Scholar] [CrossRef]
- Jasevičius, R.; Baltrenas, P.; Kačianauskas, R.; Grubliauskas, R. DEM Simulation of the Impact of Ultrafine Glass Particles on the Partition Wall of the Multichannel Cyclone. Particulate Science and Technology 2014, 32. [Google Scholar] [CrossRef]
- Cao, G.; Sun, J.; Sun, G.; Zhou, F.; Fu, S. Influence of a Spiral Guide Vane on the Flow Field and Particle Deposition Outside the Vortex Finder of FCC Disengager Cyclone Separators. Energy 2025, 337, 138593. [Google Scholar] [CrossRef]
- Zhou, F.; Xing, Y.; Guo, Y.; Wang, X.; Xu, J.; Wang, D. Fine Particle Deposition on the Outer Wall of the Vortex Finder in Cyclone Separator: Modeling with Particle Rotational Effects. Separation and Purification Technology 2026, 380, 135461. [Google Scholar] [CrossRef]
- Gong, A.; Wang, L.-Z. Numerical Study of Gas Phase Flow in Cyclones with the Repds. Aerosol Science and Technology 2004, 2010, 506–512. [Google Scholar] [CrossRef]
- Lawrence, M. The Relationship between Relative Humidity and the Dewpoint Temperature in Moist Air: A Simple Conversion and Applications. Bulletin of the American Meteorological Society 2005, 86, 225–234. [Google Scholar] [CrossRef]
- Wallace, J.M.; Hobbs, P.V. Atmospheric Science: An Introductory Survey: Second Edition; 2006; p. 488. [Google Scholar]
- Moisture Handbook; Machine Applications Corporation.
- Kumar, V.; Jha, K. Effects of Mass-Loading on Performance of the Cyclone Separators. In Applications of Computational Fluid Dynamics Simulation and Modeling; IntechOpen, 2022; ISBN 978-1-83968-248-3. [Google Scholar]
- Zhang, Y.; Yang, M.; Jiang, L.; Wang, H.; Xu, J.; Yang, J. High Concentration Fine Particle Separation Performance in Hydrocyclones. Minerals 2021, 11. [Google Scholar] [CrossRef]
- Misiulia, D.; Antonyuk, S.; Andersson, A.G.; Lundström, T.S. High-Efficiency Industrial Cyclone Separator: A CFD Study. Powder Technology 2020, 364, 943–953. [Google Scholar] [CrossRef]











| Parameter | Glass | Clay |
|---|---|---|
| Particle diameter at 10% cumulative volume, µm | 2.66 | 1.95 |
| Particle diameter at 50% cumulative volume, µm | 9.26 | 7.52 |
| Particle diameter at 90% cumulative volume, µm | 18.58 | 16.25 |
| Median diameter, µm | 10.02 | 8.95 |
| Parameter | µg | νwg | Dew point |
|---|---|---|---|
| Dimensions | µPa * s | mm2/s | °C |
| At normal conditions (0 °C and 0% RH) | 17.17 | 13.28 | - |
| t = 50 °C, ϕ = 95% RH |
19.26 | 16.44 | 49.0 |
| t = 100 °C, ϕ = 95% H |
21.25 | 14.11 | 98.6 |
| t = 150 °C, ϕ = 80% RH |
23.16 | 8.25 | 142.0 |
| t = 200 °C, ϕ = 70% RH |
24.99 | 4.26 | 184.0 |
| Gas flow characteristics (temperature, humidity) | Pressure force, mN |
|---|---|
| at normal conditions (0 °C and 0% RH) | 1.07 |
| t = 50 °C, ϕ = 95% | 1.02 |
| t = 100 °C, ϕ = 95% | 1.16 |
| t = 150 °C, ϕ = 80% | 1.58 |
| t = 200 °C, ϕ = 70% | 2.37 |
| Average dynamic pressures at positions I, II, and III of the semicircular segments, Pa | I channel | II channel | III channel | IV channel | V channel | VI channel | Axial |
|---|---|---|---|---|---|---|---|
| Cylindrical cyclone with continuous semicircular segments | 60.1 57.7 55.9 |
71.5 72.8 74.5 |
101.9 100.2 100.8 |
125.1 127.5 128.8 |
157.8 157.1 156.8 |
176.8 179.2 180.1 |
224.4 222.6 220.5 |
| Cylindrical cyclone with semicircular segments containing openings | 61.0 58.7 57.5 |
72.5 74.0 75.5 |
103.5 101.7 101.5 |
125.5 128.0 129.0 |
158.5 157.7 157.0 |
177.0 179.5 180.3 |
225.1 223.6 221.8 |
| Spiral cyclone with continuous semicircular segments | 57.7 57.1 56.1 |
62.2 60.8 59.6 |
66.3 67.5 68.6 |
78.8 78.0 77.2 |
99.8 101.0 103.2 |
177.3 176.5 175.0 |
187.0 183.8 181.3 |
| Spiral cyclone with semicircular segments containing openings | 58.4 57.6 56.8 |
62.8 61.6 60.3 |
67.1 68.2 69.3 |
79.2 78.5 77.8 |
100.1 101.4 103.5 |
177.5 176.8 175.1 |
187.5 184.5 182.3 |
Disclaimer/Publisher’s Note: The statements, opinions and data contained in all publications are solely those of the individual author(s) and contributor(s) and not of MDPI and/or the editor(s). MDPI and/or the editor(s) disclaim responsibility for any injury to people or property resulting from any ideas, methods, instructions or products referred to in the content. |
© 2026 by the authors. Licensee MDPI, Basel, Switzerland. This article is an open access article distributed under the terms and conditions of the Creative Commons Attribution (CC BY) license (http://creativecommons.org/licenses/by/4.0/).