Submitted:
09 June 2024
Posted:
12 June 2024
You are already at the latest version
Abstract
Keywords:
1. Introduction
2. CFD Simulation of Three-Phase Fluid Flow in a Polyimide Mixer
2.1. Mathematical Model
2.1.1. Reynolds Time-Averaged Control Equation
2.1.2. Turbulence Model
2.2. Research Subjects and Numerical Solution Techniques
2.2.1. Mixed Head Structure
2.2.2. Grid Partitioning and Investigation of Grid Independence
2.2.3. Numerical Solving Method
3. Results Analysis and Discussion
3.1. Simulation Results
3.2. Mixer Mixing Performance Evaluation Index
4. DOE Full Factorial and Significance Analysis of Influencing Factors
4.1. DOE Full Factorial
4.2. Factor Analysis
5. Optimization of Mixing Head Structure
5.1. Optimization of Mixer Structure Based on Neural Network-Genetic Algorithm
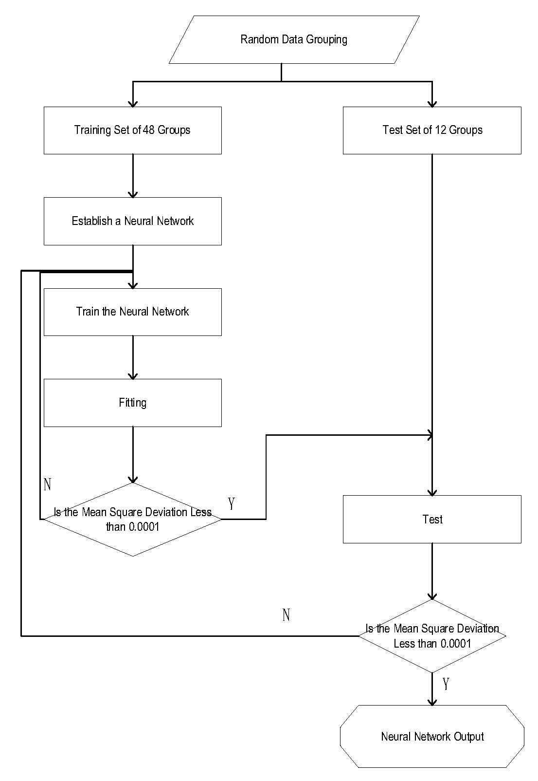
5.1.1. Optimization Process of Neural Network-Genetic Algorithm
5.1.2. Establishment of Training Samples


5.1.3. BP Neural Network Fitting and Prediction
5.1.4. Optimization of GA Algorithm
- W-represents the optimization objective function of the mixer;
- D1-denotes the inlet diameter of the mixer;
- D2-denotes the outlet diameter of the mixer;
- Θ-represents the impingement angle.
5.1.5. CFD Validation Results
5.2. Based on the Kriging Surrogate Model Mixer Structural Parameter Optimization
5.2.1. Kriging Surrogate Model
5.2.2. Optimization Results
5.3. Simulation Validation
6. Experimental Verification
7. Conclusions
References
- Li En, Yu Xinhai, Fan Liangzi, et al. Development of PI Films with Active Groups[J]. Insulation Materials, 2011, 44(6): 12-15.
- Deng Shixin, Wang Jian, Yang Weimin, et al. Simulation and Analysis of High-Pressure High-Speed Collision Process in Fluid Inside Mixing Head of Reinforced Reaction Injection Molding Machine[J]. China Plastics, 2022, 36(6):130-136.
- Pei K,Li R,Zhu Z. Effects of geometry and process conditions onmixing behavior of a multijet mixer[J]. Industrial & EngineeringChemistry Research. 2014,53(26):10 700-10 706.
- Zhan X,Jing D.Influence of geometric parameters on the fluidicand mixing characteristics of T-shaped micromixer[J]. MicrosystemTechnologies-Micro and Nanosystems-Information Storage andProcessing Systems,2020,26(9):2 989-2 996.
- Yuan Xiaohui, Liao Yide. Analysis of Material Flow Field in the Mixer of Polyurethane Foaming Machine[J]. Journal of Wuhan Institute of Technology, 2006, 28(2): 67-69.
- Trautmann P,Piesche M. Experimental investigations on themixing behaviour of impingement mixers for polyurethane produc-tion[J].Chemical Engineering & Technology,2001,24(11):1193-1197.
- Guo Min. Research on Key Technologies of Polymer Road Repair Foaming Machine[D]. Wuhan Institute of Technology, 2011.
- Schneider F W. High Pressure Impingement Mixing Apparatus[P].US 4440500, 1984-04-03.
- Bayer A G. Apparatus for the Cbntinuous Preparation of aLiquid Reaction Mixture from Two Fluid Reactants [P]. US5093084,1992-03-03.
- Murphy S A, Meszena Z G, Johnson A F.[J]. Polym.React. Eng.2001,9: 227~247.
- van Horn I B. Venturi Mixer[P]. US 3507626,1970-04-21.
- Pan Yunxin, et al. Research on Performance Optimization and Internal Flow Characteristics of Centrifugal Pumps Based on Particle Swarm Optimization Algorithm[D], Jiangsu University, 2022.
- Jiang Denghui, Zhou Peijian, Wang Lei, et al. Analysis of the Impeller Optimization Design for Dual-Blade Sewage Pumps Based on Response Surface Methodology[J]. Journal of Hydroelectric Engineering, 2021, 40(11): 72-82.
- Luo Ming, Zuo Zhitao, Li Hongyang, et al. Multi-objective Optimization Design Method for Centrifugal Compressor Impellers Based on BP Neural Network[J]. Journal of Aerospace Power, 2016, 31(10): 2424-2431.
- Jiang Minghui, Mei Yi, Luo Yan'ying, et al. Structural Parameter Optimization of the Mixing Head of Polyurethane Foaming Machine Based on GA-BP-GA[J]. Engineering Plastics Application, 2023, 12(15). [CrossRef]
- Li Li, Guo Zhicheng, Liu Yutian, et al. Numerical Simulation and Structural Optimization of Supersonic Spray Nozzles[J]. Journal of Dalian Jiaotong University, 2023, 3(10).
- Liu Guojun, Zhao Tian, Wang Conghui, et al. Optimization of Structure and Operating Parameters of Y-Type Micromixers in Two-Phase Pulsatile Mixing[J]. Journal of Jilin University (Engineering and Technology Edition), 2015, 45(4): 1155-1161. [CrossRef]
- Guo Dong. Parameter Optimization and Flow Field Characteristics Study of a New Type of Impinging Stream Reactor[D]. Taiyuan: Taiyuan University of Technology, 2020.
- Dai Bing. Modular Design and Research of Polyurethane Foaming Equipment[D]. Suzhou: Soochow University, 2020.
- Zhang Jianwei, Niu Juchao, Dong Xin, et al. Numerical Simulation of the Flow Field in an Impinging Stream Reactor and the Optimization of Its Mixing Performance[J]. The Chinese Journal of Process Engineering, 2022, 22(9): 1244-1252. [CrossRef]
- Zhang Jianwei, Shang Panlong, Yan Junjie, et al. Mixing Effects of a Horizontal Opposed Bidirectional Impinging Stream Mixer[J]. The Chinese Journal of Process Engineering, 2017, 17(5): 959-964.
- Palanisamy B, Paul B. Continuous flow synthesis of ceria nanopar-ticles using static T-mixers[J]. Chemical Engineering Science,2012,78:46-52. [CrossRef]
- Niu Juchao. Numerical Simulation Analysis of the Flow Field in an Impinging Stream Reactor and Research on the Preparation of Calcium Hydroxide Nanopowder[D]. Shenyang: Shenyang University of Chemical Technology, 2022.























| Parameters | Value | |
|---|---|---|
| D1/mm | 8 | 16 |
| D2/mm | 25 | 45 |
| >Θ/° | 60 | 180 |
| P/Mpa | 8 | 20 |
| Serial number | D1 | D2 | P | θ | S |
|---|---|---|---|---|---|
| 1 | 16 | 25 | 20 | 180 | 0.600989 |
| 2 | 16 | 45 | 20 | 60 | 0.653101 |
| 3 | 16 | 45 | 8 | 180 | 0.742879 |
| 4 | 6 | 25 | 8 | 180 | 0.824658 |
| 5 | 6 | 25 | 8 | 60 | 0.795684 |
| 6 | 11 | 35 | 14 | 120 | 0.239548 |
| 7 | 16 | 25 | 8 | 60 | 0.593242 |
| 8 | 16 | 45 | 8 | 60 | 0.644044 |
| 9 | 11 | 35 | 14 | 120 | 0.238963 |
| 10 | 11 | 35 | 14 | 120 | 0.233965 |
| 11 | 6 | 45 | 8 | 180 | 0.832547 |
| 12 | 6 | 45 | 20 | 60 | 0.429569 |
| 13 | 6 | 45 | 20 | 180 | 0.826549 |
| 14 | 6 | 45 | 8 | 60 | 0.448426 |
| 15 | 16 | 25 | 8 | 180 | 0.614530 |
| 16 | 6 | 25 | 20 | 180 | 0.815843 |
| 17 | 6 | 25 | 20 | 60 | 0.786324 |
| 18 | 16 | 45 | 20 | 180 | 0.717372 |
| 19 | 16 | 25 | 20 | 60 | 0.551930 |
| Serial Number | Outlet Diameter | Inlet Diameter | impingement angle | Mixing Unevenness | Serial Number | Outlet Diameter | Inlet Diameter | impingement angle | Mixing Unevenness |
|---|---|---|---|---|---|---|---|---|---|
| 1 | 27 | 9 | 85 | 0.565601332 | 31 | 40 | 16 | 161 | 0.792021249 |
| 2 | 36 | 8 | 66 | 0.695298038 | 32 | 40 | 6 | 70 | 0.658225944 |
| 3 | 29 | 11 | 76 | 0.439453453 | 33 | 30 | 16 | 167 | 0.277265494 |
| 4 | 44 | 7 | 71 | 0.604243547 | 34 | 28 | 13 | 93 | 0.32291663 |
| 5 | 35 | 9 | 160 | 0.039434946 | 35 | 34 | 10 | 129 | 0.388527015 |
| 6 | 36 | 15 | 122 | 0.230791242 | 36 | 31 | 12 | 132 | 0.288808952 |
| 7 | 35 | 8 | 123 | 0.090646802 | 37 | 29 | 14 | 107 | 0.48610121 |
| 8 | 28 | 10 | 150 | 0.03733436 | 38 | 42 | 13 | 110 | 0.420938856 |
| 9 | 40 | 7 | 142 | 0.156511798 | 39 | 37 | 8 | 170 | 0.220676555 |
| 10 | 38 | 10 | 66 | 0.433840623 | 40 | 27 | 14 | 80 | 0.379446807 |
| 11 | 44 | 9 | 101 | 0.358081664 | 41 | 38 | 6 | 154 | 0.246376589 |
| 12 | 32 | 9 | 72 | 0.53680958 | 42 | 39 | 12 | 117 | 0.539765996 |
| 13 | 32 | 10 | 89 | 0.33418985 | 43 | 37 | 6 | 61 | 0.615474219 |
| 14 | 26 | 8 | 176 | 0.730686246 | 44 | 35 | 16 | 165 | 0.508707806 |
| 15 | 28 | 13 | 110 | 0.566211296 | 45 | 30 | 11 | 131 | 0.314845462 |
| 16 | 31 | 14 | 96 | 0.571509591 | 46 | 31 | 9 | 139 | 0.409969816 |
| 17 | 34 | 9 | 178 | 0.102667462 | 47 | 41 | 12 | 157 | 0.159976293 |
| 18 | 26 | 14 | 144 | 0.513248826 | 48 | 43 | 12 | 88 | 0.470201261 |
| 19 | 27 | 7 | 115 | 0.036445866 | 49 | 34 | 14 | 155 | 0.171068748 |
| 20 | 32 | 12 | 175 | 0.76855878 | 50 | 25 | 13 | 127 | 0.080966932 |
| 21 | 39 | 15 | 169 | 0.687295763 | 51 | 37 | 15 | 105 | 0.661896866 |
| 22 | 34 | 13 | 164 | 0.464086254 | 52 | 44 | 11 | 138 | 0.665976529 |
| 23 | 41 | 11 | 140 | 0.743605475 | 53 | 29 | 11 | 148 | 0.503747507 |
| 24 | 33 | 10 | 74 | 0.547576058 | 54 | 28 | 7 | 80 | 0.446037397 |
| 25 | 39 | 13 | 82 | 0.359809661 | 55 | 37 | 14 | 119 | 0.16558753 |
| 26 | 44 | 12 | 135 | 0.405659276 | 56 | 45 | 7 | 114 | 0.546648081 |
| 27 | 42 | 15 | 126 | 0.607806714 | 57 | 25 | 15 | 90 | 0.570496729 |
| 28 | 42 | 8 | 104 | 0.135733924 | 58 | 38 | 8 | 99 | 0.252273179 |
| 29 | 33 | 7 | 151 | 0.220021216 | 59 | 43 | 10 | 173 | 0.814712302 |
| 30 | 42 | 15 | 63 | 0.46109265 | 60 | 32 | 11 | 95 | 0.209671239 |
| Structure | Inlet Diameter | Outlet Diameter | impingement angle | Mixture Non-uniformity |
|---|---|---|---|---|
| Original Structure | 8 | 35 | 180 | 0.11 |
| Optimal GA-BP combination | 7 | 30.6 | 120 | 0.035 |
| Reduction in Mixture Non-uniformity | 69.1% | |||
| Prediction error | 2.8% |
| Structure | Inlet Diameter | Outlet Diameter | impingement angle | Mixing Unevenness |
|---|---|---|---|---|
| Original Structure | 8 | 35 | 180 | 0.11 |
| Optimal Combination of GA-Kriging | 7 | 27.3 | 115.6 | 0.039 |
| Reduction in Mixture Non-uniformity | 64.5% | |||
| Prediction error | 6.8% |
Disclaimer/Publisher’s Note: The statements, opinions and data contained in all publications are solely those of the individual author(s) and contributor(s) and not of MDPI and/or the editor(s). MDPI and/or the editor(s) disclaim responsibility for any injury to people or property resulting from any ideas, methods, instructions or products referred to in the content. |
© 2024 by the authors. Licensee MDPI, Basel, Switzerland. This article is an open access article distributed under the terms and conditions of the Creative Commons Attribution (CC BY) license (http://creativecommons.org/licenses/by/4.0/).