Preprint
Article

This version is not peer-reviewed.

Biological Effect of Amoeba Populations under the Influence of Radiofrequency Electromagnetic Radiation from Cell Phones

Submitted:

08 April 2024

Posted:

11 April 2024

You are already at the latest version

Abstract
For the first time, the effect of a significant change in the resistance of the aquatic environment of a population of protozoan microorganisms under the influence of radiofrequency electromagnetic radiation from cell phones has been experimentally studied. The results of the experiment demonstrate the biological nature of the changes occurring in the “water population of protozoa” system, which indicates that the impact of radiation directly affects the cell. This conclusion is confirmed by the same order of magnitude time of information exchange between individual individuals of the population in the calculation and in the experiment. An extremely low concentration of protozoa in the experiment was established, equal to 1000 pcs./liter, at which the indicated effect is observed.An unambiguous dependence of the biological effect in the “water – amoeba population” system on the average power of electromagnetic radiation of cell phones, both in standby mode and in talk mode, has been established. It is concluded that the presented method of changing the physical properties of the aquatic environment of a population of protozoa under the influence of electromagnetic fields can be a model experiment in identifying the mechanisms of interaction of biological systems with electromagnetic radiation, determining the response time of biological systems to external electromagnetic influence, and establishing the degree of influence of radiation in the 4G, 5G ranges.
Keywords: 
;  ;  ;  

Introduction

Exposure to radio frequency electromagnetic fields (EMF) generated by modern gadgets has an increasingly significant impact on human life, for example [1,2]. Understanding this motivates research into the depth and significance of this impact. Therefore, the task arises of determining criteria characterizing the impact of radio frequency EMFs of modern mobile devices, which would allow real-time monitoring of changes in the state of a living organism under external influence of electromagnetic radiation.
A cell phone, being a mobile transceiver device, is present in the life of every modern person. The electromagnetic fields (EMF) emitted by such gadgets create an almost continuous general electromagnetic background (EMF) in which modern man lives. The effect of this EMF, enhanced by personal gadgets, on living organisms is quite noticeable and is reflected in the scientific literature, for example [3,13]. The consequences can be not only disturbances in the functional activity of the body, but also genetic changes in cells - mutations. Mutations in somatic cells can cause cancer and auto-aggressive diseases, decreased immunity, premature aging, etc. Mutations in germ cells may not affect the health of the person exposed to mutagenic effects, but they will be passed on to the next generation. The consequence of this can be various hereditary diseases, congenital malformations, and decreased physical and mental health [3,4]. Thus, in an experiment using root meristems of Allium cepa, it was found that cell phone radiation modulated in conversation mode induces chromosomal mutations in dividing cells and micronuclear mutations in non-dividing cells. Cumulation of the mutagenic effect was detected. So, with a daily exposure of one hour (Allium cepa was grown for three days - total irradiation 3 hours), the frequency of mutations increases 5 times compared to the spontaneous (natural) level. With daily three-hour (total 9 hours) exposure, the level of mutations increased 7 times [3]. In addition, exposure to cell phones can dramatically reduce the production of the hormone melatonin, which helps a person fall asleep [6,9].
Constant radiation emitted by mobile phones can cause oxidative stress, inflammatory response and dysregulation of HPA axis hormones, [7], and high oxidative stress in the hippocampus with decreased corticosterone levels, [8]. When the scrotum was directly exposed to radiofrequency electromagnetic radiation from a 4G mobile phone on the testes of adult rats, testicular damage, disruption of the blood-testis barrier, decreased sperm quality and, as a result, decreased fertility were established. A change in the motility and viability of sperm under the influence of smartphones using the Wi-Fi spectrum for data transmission has been established. [13]. A review given in [11,12] showed histopathological changes in thyroid follicles after exposure of rats to non-ionizing radiation, and the results were directly related to the amount and duration of exposure to radio waves from cell phones.
A review of the studies conducted shows how significant and versatile the influence of cell phones on biological organisms can be. However, it is worth noting that these studies represent the collection of statistical data on the results of the action of EMF of cell phones in the study of changes in the vital activity of biological organisms with their subsequent methodological generalization, which necessarily requires the use of large time resources and labor costs and does not solve the problem of determining the mechanisms effects of external EMFs on the state of the human body.
In this regard, the question arises of creating a method for studying the influence of cell phone EMF on biological objects, which would allow real-time assessment of such influence depending on the distance, duration and frequency of exposure. It is important to have significant physical and biological characteristics of the method that can be measured experimentally, which will allow comparison of the effects of various modern gadgets.
In [14], the biological effect of changes in the resistance of the aquatic environment of a population of protozoan microorganisms under the influence of EMF in the centimeter (CM) wavelength range of non-thermal intensity was first established and studied. Subsequently, the effect was obtained at millimeter (MM) and terahertz (THz) electromagnetic waves [15], the integral power of which in order of magnitude was 1 mW/cm2. It was experimentally shown that for short, 1 minute, irradiation times, the resistance of the aquatic environment of the protozoan population decreased by 1% of the order of magnitude of the total resistance value of the aquatic environment. In this case, a decrease in resistance was observed after a time on the order of 10 minutes after irradiation, which indicated the biological nature of the observed changes. In [14,15,16], it was found that the full cycle of changes in the resistance of the aquatic environment of a population of microorganisms under 1 minute exposure to SM, MM or THz EMR includes 4 stages of changing the resistance of the aquatic environment: 1 stage of constant resistance of the aquatic environment, 2 - stage of decreasing resistance , 3 – stage of constant resistance with a value lower than the initial resistance of the aquatic environment, 4 – stage of increasing the resistance of the aquatic environment to the initial level. The duration of the entire response cycle of the population of protozoan microorganisms from the moment the irradiation began until the resistance of the population of the aquatic environment was restored was 20–60 minutes in the experiments, depending on the physical parameters of the impacted EMF, which also indicated the biological nature of the observed phenomena. The described response of the population of microorganisms in water was observed at a concentration of protozoa from 1000 to 5000 pcs/liter.
The frequency range of mobile communications, depending on the phone standard, is 453-1800 MHz. Radiation power is a variable quantity, depending largely on the state of the communication channel “mobile radiotelephone - base station”; a higher level of the base station signal at the receiving location corresponds to lower radiation power of the cell phone. The maximum power of cellular devices is within the range of 0,125-1 W. However, mobile phones, including the GSM standard, transmit information in pulses, which significantly reduces the integral power of the phone's output signal. The average EMF power of modern cell phones is in the range from 1 μW to 10 mW, depending on the standard, the distance to the cellular station, and its mode of operation at a given time.
Biological effects arising from the action of EMF of non-thermal intensity can be observed in living organisms with a high spread of the integral power of the influencing radiation, amounting to several orders of magnitude. Based on this premise, we can expect a similar response from the population of protozoan microorganisms to the one described above when exposed to cell phones.
In this work, we experimentally study the response of a population of protozoan microorganisms in the form of a change in the resistance of the aquatic environment in the system “water – population of protozoa living in water” under the influence of cell phones of varying power at a concentration of microorganisms of 2000 pcs/liter.

Materials and methods

The diagram of the experimental setup for measuring water resistance in the system “water – population of protozoa living in water” at a constant external voltage is shown in Figure 1. Cuvette with water 1 is used as an arm of the bridge circuit. The constant resistance values were 10 kOhm, the variable resistance value was 15 kOhm.
The cuvette was a cylindrical glass cup with a diameter of 100 mm and a height of 50 mm, into which 350 ml of water was placed. Contact plates made of brass mesh tinned with POS-60 solder with a mesh size of 0.3 mm were immersed in water along the side wall of the cuvette and had dimensions of 20x500 mm.
A change in the water resistance in the cuvette led to the appearance of an unbalance voltage in the bridge circuit, which was converted by amplifier 2 and recorded as a time diagram on plotter 3, which graphically recorded the voltage change during a single sweep of the plotter for 70 minutes. The time constant of the measuring circuit was 5 seconds, which, with a sensitivity of the installation of 5 10-2%/cm, made it possible to register only processes of long duration. Voltage U0 = 20 V.
The developed experimental methodology was hypothetically based on the possibility of recording the response of the “water – protozoan population” system in the form of changes in the parameters of the aquatic environment under external influence of EMF. Indeed, according to the concept of population homeostasis [17], intrapopulation relations of protozoa are required to ensure the unity of the population due to the population’s effect on water as its habitat. Then the impact of EMF on the population of protozoa should lead to changes in water parameters due to the mutual influence of “water – population living in water.” The experiment used a concentration of amoebas (entamoeba gingivalis) of 2000 pieces/liter in the phase of slowing down population growth. For the experiments, 3 types of cell phones were used, the names and maximum output power of which are presented in Table 1.
The experiments were carried out in 2 stages. The first stage corresponded to the passive mode of cell phones in call waiting mode, the second stage was carried out with the active mode of cell phones in talk mode. The experiments were carried out under conditions of strong (4–5 display strips) signal reception.
For each cell phone, 6 measurements were taken for passive and 6 measurements for active modes. The maximum values of the decrease in the resistance of the aquatic environment measured in the experiments were entered into the Excel 2013 program database, with the help of which the average value of the decrease in the resistance of the aquatic environment was calculated for each operating mode of the cell phone and its standard deviation.
To control the procedure for determining the significance of the values of reducing the resistance of the aquatic environment of the amoeba population, control measurements were carried out in the absence of an amoeba population in the water. It is immediately worth noting that no biophysical effects were detected during the experiments in the absence of a population of amoebas in the water.
The pH value of the aqueous medium during all experiments was 6,9. The water temperature was 220C for all experiments.

Impact of Cell Phones on Amoeba Populations

The cell phones indicated in Table 1, in accordance with the parameters of the base station, received and transmitted the signal, as in most populated areas of the Russian Federation, in the 3G standard of the UMTS 2000 range. The phones operated in the MTS UpLink standard in the frequency range 1950-1965 MHz, DownLink 2140 - 2155 MHz , that is, the population of protozoa was exposed to an external electromagnetic signal from telephones at EMF frequencies in the range of 1950-1965 MHz. The distance of the cell phone from the surface of the aquatic environment of the population of protozoan microorganisms in the experiment was 35 mm.
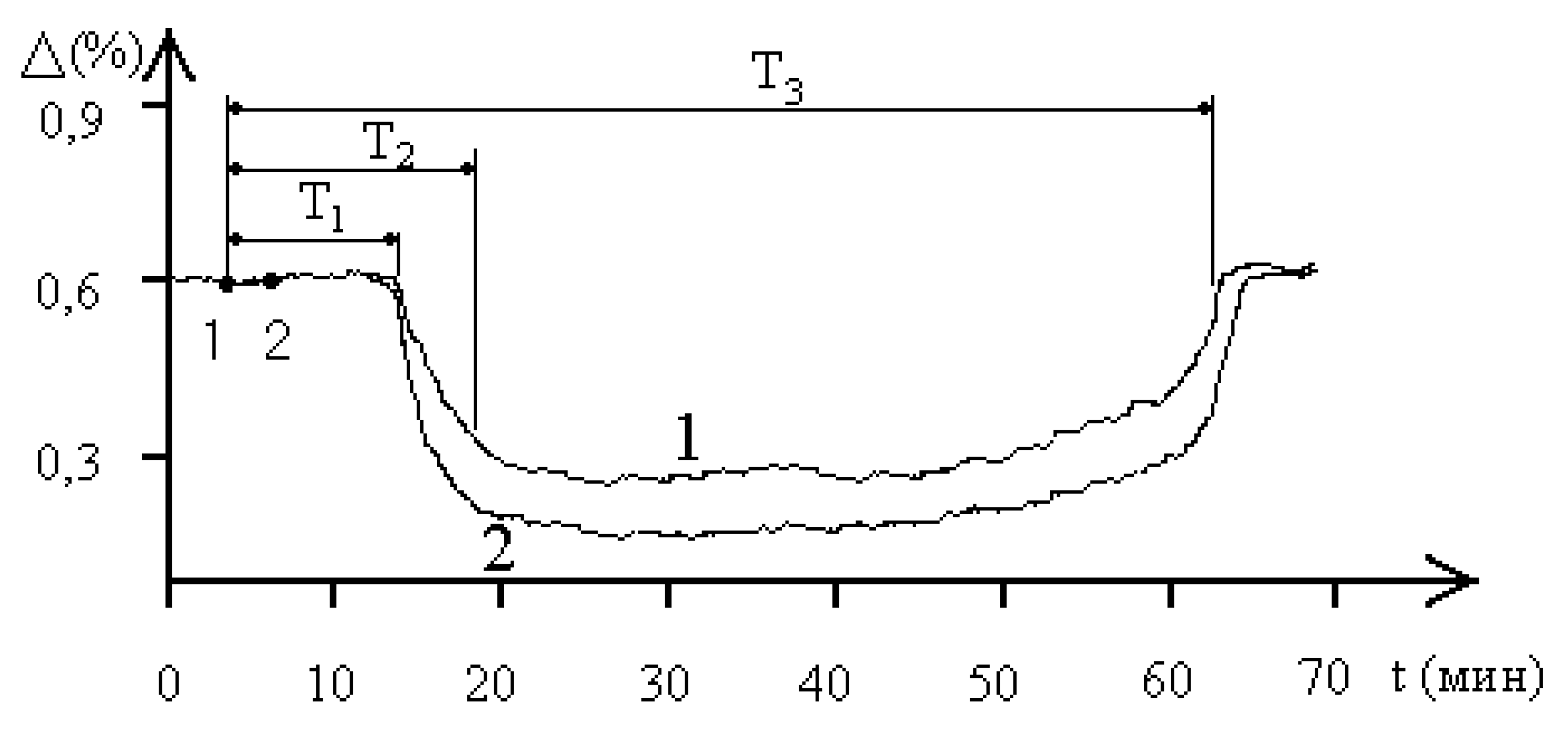
In Figure 2 shows a curve of changes in the resistance of the aquatic environment of the protozoan population when using the Purism Librem 5 phone in passive and active modes. The effect of the telephone on the population occurs in the time interval between points 1 and 2. The result of the response of the population of protozoan microorganisms to the action of the telephone can be divided into 3 stages, differing in their time intervals. The course of the curves in Figure 2 demonstrates that at first the effect of the telephone radiation was characterized by a transient process with a duration of T1 = 13 minutes. from the beginning of irradiation with practically unchanged water resistance. Further, the resistance began to decrease upon reaching the minimum value = 0,33% after T2 = 17 min. The water resistance value was restored after T3 = 60 min. from the onset of EMF exposure. The course of the curves reflecting the effect of telephone radiation shows that the influence of the telephone on the protozoan population significantly depends on the operating mode of the telephone. Thus, stronger irradiation in the active mode is characterized by a more significant, curve 2, 20% decrease in the resistance of the aquatic environment, although the process of response of the protozoan population itself is determined by time intervals similar to passive exposure.
Figure 3 shows the response of the protozoan population to the Fairphone 3 phone when operating in passive and active modes.
As in the previous experiment, the effect of cell phone radiation on the population was carried out in the time interval between points 1 and 2. The dynamics of changes in the aquatic environment in this case also demonstrated the same course of resistance change curves as in Figure 2. Figure 3 shows that the characteristic times T1, T2 and T3 in the case of exposure to radiation from the Fairphone 3 are the same as when exposed to Purism Librem 5. However, the maximum values of changes in resistance when exposed to radiation from the Fairphone 3 significantly exceed the maximum values of changes in the resistance of the aquatic environment for Purism Librem 5. This difference in experiments can be explained by the stronger signal of the Fairphone 3.
In Figure 4 shows the response of the protozoan population to the Pine64 PinePhone when operating in passive and active modes. The figure demonstrates the dynamics of changes in the resistance of the aquatic environment in active and passive modes, which is qualitatively similar to the experiments whose data are presented in Figure 2 and 3. The characteristic times T1, T2 and T3 have not changed. The maximum changes in the resistance of the aquatic environment have increased, which can be attributed to a more powerful signal from the Pine64 PinePhone.
In Figure Figure 5 shows a histogram of the average values of maximum changes in the resistance of the aquatic environment depending on the impact of the considered cell phones in passive and active operating modes and their standard deviation. The histogram shows that an electromagnetic signal with greater power corresponds to a more significant change in the resistance value of the aquatic environment of the population of protozoan microorganisms. The dependence of the dynamics of changes in the resistance values of the aquatic environment on the power of the irradiation signal occurs for both passive and active modes of phones and has a clear difference in magnitude for different irradiation powers.

The discussion of the results

Shown in Figure 2 - 4 time dependences of water resistance values show the real significance of the impact on the “water - protozoan population” system of EMFs of modern cell phones. It is important that the recorded results of exposure prove the biological nature of the observed phenomena. Indeed, only biological objects can organize an adequate response to external influences after a time that is several orders of magnitude longer than the characteristic period of the external signal. In this case, the characteristic times of the observed processes of change in the resistance of the aquatic environment exceed the period of the signal of the affecting EMF by 9–10 orders of magnitude.
The concept of population homeostasis of a protozoan population is based on the integrity and stability of the population in the external environment [17]. The results of this work confirm that the integrity of a population is the result of continuous interaction between its constituent parts and individuals. One of the channels of information interaction within the protozoan population occurs at the level of metabolites [17]. The change in the resistance of the aquatic environment of the system under study proves the possibility of the population changing the structure of water. This indicates that the effect of EMF can go directly to a biological object. In this case, biochemical processes change their speed, which leads to a change in active membrane transport. Individuals of a population, after exchanging information, change their habitat, restructuring the water. The change in the structure of water and the associated decrease in resistance does not occur immediately, but after the sequential transmission of information about irradiation from individual to individual within the population. The time of information transfer can be estimated by representing an ensemble of individuals in a population in the form of ideal gas molecules. Then, in accordance with the formulas of thermodynamics, the calculation of the frequency of collisions of the molecule
v = 2 n σ V
and free path length
λ = V / v v
where n is the concentration of molecules - protozoan individuals, v is their average speed and is the effective diameter of the individual, for values n = 107 м-3, V= 10-4 м/sec, σ = 10-6 м2, we can estimate the order of their values: ν = 10-3sec-1 and λ = 0,1 m. This means that in the cases considered above, the transmission of information about external influences received by part of the protozoan population during the period of exposure reaches all individuals of the population in a time equal in order of magnitude to T = 1/ν = 10 minutes. The calculated value of T is in good agreement with the experimental data obtained on the temporary change in the resistance of water with the population of protozoa living in it.
The difference in the characteristic times of the dependences of water conductivity in Figure 2 and 4 is explained by the difference in the experimental conditions, the course of which, other things being equal, was determined by the power of the telephone signal when irradiating the protozoan population. The response of the protozoan population to EMF, expressed in a temporary change in water resistance in Figure 2 - Figure 4, indicates a group response of individuals in the population to external influences. Comparison of the values of the characteristic times in the experiment T1 and the calculated information exchange time of the population T indicate that the effect of EMF directly affects the cell. The presence of a two-way intercellular information channel and an adequate response to external influences demonstrates the ability of a population to manifest itself as a single organism. This confirms the fact that the interface of the intercellular information channel is based biochemical reactions at the level of metabolites and the process of biological structuring of water.
An important result is the dependence of the biological effect of the “water – protozoan population” system on the power of the influencing signal. In this case, the external signal is a sequence of powerful, up to 0,5 W, pulses with a high duty cycle such that the average signal power does not exceed the thermal barrier for biological media. The dependence of the biological response of the “water – protozoan population” system on the power of a cell phone signal makes it possible to conduct a comparative analysis of the impact of radiation in the 4G, 5G and 6G ranges on humans.
These studies allow us to conclude that the time of the transition process of the dependence of the biological effect on power is the time of information exchange between individuals of the population. The biological effect of reducing the resistance of the aquatic environment to a population of simple microorganisms is subject to population homeostasis and is associated with the transition of the “water - population” system to a new state due to a change in the organization of the cell-aquatic environment exchange channel, manifested in the restructuring of the water macromolecule. Maintaining the integrity of the population is the result of squeezing out entropy obtained due to external influences into the habitat, which manifests itself in the experiment as a change in water resistance. Being a non-equilibrium isothermal system with changing free energy due to the absorption of radiation [18], the population maintains entropy in a wide range of external influences as a result of bidirectional metabolic processes in the “population - aquatic environment” system, the simultaneity of which is maintained due to continuous intercellular information exchange.
It should be noted that for a biological system in a steady state, entropy can vary within small limits compared to inanimate objects (for example, an ideal gas, a distributed system with chaotic behavior, etc., where the change in entropy in an experiment can be several orders of magnitude). This means that guaranteed repeatability of the results of experimental studies on living systems can be expected after a period of time determined by the return to the original state with the entropy value of the undisturbed “living organism - habitat” system. Experiments have shown that guaranteed repeatability of results with the same population of protozoa is observed after no less than 24 hours.

Conclusions

The experiments carried out as part of the work showed a significant dependence of the change in the resistance of the aquatic environment of the population of protozoan microorganisms on the radiation power of cell phones. The dynamics of changes in the resistance of the aquatic environment indicate the biological nature of the processes observed in the “water – protozoan population” system. It has been established that a significant change in water resistance values occurs about 10 minutes after the start of irradiation. The dependence of the change in the resistance value of the aquatic environment on the power of the irradiated signal has been established for both passive and active modes of the phones under study. It has been shown that a more powerful signal corresponds to a more significant change in the resistance of the aquatic environment. The results of the work show the possibility of observing in real time the effects of cell phone radiation on a biological object. The developed method for studying changes in the state of living systems under the influence of external EMFs of non-thermal intensity will make it possible to conduct original research to elucidate the mechanisms of the influence of EMFs on living objects.

Conflict of Interests

The authors have no conflict of interest/

Financing

The work was carried out within the framework of the state task.

References

  1. Wall S, Wang ZM, Kendig T, Dobraca D, Lipsett M. Real-world cell phone radiofrequency electromagnetic field exposures. Environ Res. 2019 Apr;171:581-592. Epub 2018 Oct 3.PMID: 30448205 https://pubmed.ncbi.nlm.nih.gov/30448205/. [CrossRef]
  2. Xu-Dong Zha, Wen-Wen Wang, Song Xu, Xue-Jun Shang Impacts of electromagnetic radiation from cellphones and Wi-Fi on spermatogenesis. Zhonghua Nan Ke Xue. 2019 May;25(5):451-455. PMID: 32216233 https://pubmed.ncbi.nlm.nih.gov/32216233/.
  3. Pesnya D.S., Romanovsky A.V., Prokhorova I.M. Development of a methodology for assessing the impact of cell phones and other devices with RF EMR on organisms in vivo // Yaroslavl Pedagogical Bulletin. - T. 3. - No. 3. - 2010. - P. 80–84.
  4. Pesnya, D.S., Romanovsky A.V., Prokhorova I.M., Artemova T.K., Kovaleva M.I., 5. Fomicheva A.N., Kondakova E.S., Khalyuto K.M.., Vakorin S.A. Study of the mutagenic effect of modulated UHF radiation from cell phones on plant and animal organisms in vivo // Collection of reports of the IV All-Russian Conference "Radiolocation and Radio Communication", 2010. - P. 924–929.
  5. Shamigulova, A.M., Bilyalova Z.M., Yuskevich O.I., Vasiliev V.A. On the issue of the safety of using mobile phones. 2017. No. 2 (32). P. 110-116.
  6. Apollonskii, S.M., Korovchenko P.V. The impact of the electromagnetic environment on the subscriber of cellular communication and its regulation // Safety of life. – No1. – 2011. – P. 15–24.
  7. Singh KV, Gautam R, Meena R, Nirala JP, Jha SK, Rajamani P. Effect of mobile phone radiation on oxidative stress, inflammatory response, and contextual fear memory in Wistar rat.Environ Sci Pollut Res Int. 2020 Jun;27(16):19340-19351. Epub 2020 Mar 24. https://pubmed.ncbi.nlm.nih.gov/32212071/. [CrossRef] [PubMed]
  8. Bouji M, Lecomte A, Gamez C, Blazy K, Villégier AS. Impact of Cerebral Radiofrequency Exposures on Oxidative Stress and Corticosterone in a Rat Model of Alzheimer's Disease. J. Alzheimers Dis. 2020;73(2):467-476. https://pubmed.ncbi.nlm.nih.gov/31796670/. [CrossRef] [PubMed]
  9. Selmaoui B, Touitou Y. Association Between Mobile Phone Radiation Exposure and the Secretion of Melatonin and Cortisol, Two Markers of the Circadian System: A Review. Bioelectromagnetics. 2021 Jan;42(1):5-17. Epub 2020 Nov 25.PMID: 33238059 Review. https://pubmed.ncbi.nlm.nih.gov/33238059/. [CrossRef]
  10. Cheng Q, Yu G, Wang G, Bai ZM. Exposure of the scrotum to 4G cellphone radiofrequency electromagnetic radiation affects the spermatogenesis and blood-testis barrier of adult male rats. Zhonghua Nan Ke Xue. 2021 Aug;27(8):680-684.PMID: 34914238 Chinese. https://pubmed.ncbi.nlm.nih.gov/34914238/.
  11. Alkayyali T, Ochuba O, Srivastava K, Sandhu JK, Joseph C, Ruo SW, Jain A, Waqar A, Poudel S. An Exploration of the Effects of Radiofrequency Radiation Emitted by Mobile Phones and Extremely Low Frequency Radiation on Thyroid Hormones and Thyroid Gland Histopathology. Cureus. 2021 Aug 20;13(8):e17329. PMID: 34567874 Free PMC article. Review. https://pubmed.ncbi.nlm.nih.gov/34567874/. [CrossRef]
  12. Shaev, I.A., Novikov V.V., Yablokova E.V., Fesenko E.E.. A brief overview of the current state of research into the biological effects of weak magnetic fields // Biophysics. 2022. T. 67. № 2. P. 319-326. [CrossRef]
  13. Chu KY, Khodamoradi K, Blachman-Braun R, Dullea A, Bidhan J, Campbell K, Zizzo J, Israeli J, Kim M, Petrella F, Ibrahim E, Ramasamy R. Effect of Radiofrequency Electromagnetic Radiation Emitted by Modern Cellphones on Sperm Motility and Viability: An In Vitro Study.Eur Urol Focus. 2023 Jan;9(1):69-74. Epub 2022 Nov 12. https://pubmed.ncbi.nlm.nih.gov/36379868/. [CrossRef] [PubMed]
  14. Savel’ev, S.V. Mutual influence of biological systems and the effectiveness of exposure to electromagnetic fields // Millimeter waves in biology and medicine. 2003. No. 4. P. 20 - 27.
  15. Betskii, O.V., Morozova L.A., Savel’ev S.V. Smirnov V.F. Mechanism of information impact of millimeter and terahertz radiation on water-containing and living objects // Biomedical radio electronics. 2017. No. 11. P. 30 - 35.
  16. Savel’ev, S.V., Betskii O.V., Morozova L.A. Long-range information communication of living organisms // Biomedical radio electronics. 2018. No. 9. P. 59 - 63. [CrossRef]
  17. Shilov, A.I. Ecological - physiological basis of population relations in animals // M. MGU. 1997, 260 p.
  18. Chukova Yu., P. Non-thermal bioeffects of MM - radiation in the light of the laws of thermodynamics and luminescence // Millimeter waves in biology and medicine. 2001. No. 4. P. 13 - 32.
Figure 1. Scheme of the installation for measuring the conductivity of water. 1 - cuvette with water and a population of protozoa, 2 - amplifier-converter, 3 - plotter, 4 - cell phone.
Figure 1. Scheme of the installation for measuring the conductivity of water. 1 - cuvette with water and a population of protozoa, 2 - amplifier-converter, 3 - plotter, 4 - cell phone.
Preprints 103392 g001
Figure 2. Dependence of the resistance of the aquatic environment of the population of protozoa on time under the action of a Samsung cell phone, Purism Librem 5 in passive, curve 1, and active, curve 2, operating modes.
Figure 2. Dependence of the resistance of the aquatic environment of the population of protozoa on time under the action of a Samsung cell phone, Purism Librem 5 in passive, curve 1, and active, curve 2, operating modes.
Preprints 103392 g002
Figure 3. Dependence of the resistance of the aquatic environment of the population of protozoa on time under the action of a Samsung cell phone, Fairphone 3, in passive, curve 1, and active, curve 2, operating modes.
Figure 3. Dependence of the resistance of the aquatic environment of the population of protozoa on time under the action of a Samsung cell phone, Fairphone 3, in passive, curve 1, and active, curve 2, operating modes.
Preprints 103392 g003
Figure 4. Dependence of the resistance of the aquatic environment of the protozoan population on time when operating the Pine64 PinePhone cell phone in passive, curve 1, and active, curve 2, operating modes.
Figure 4. Dependence of the resistance of the aquatic environment of the protozoan population on time when operating the Pine64 PinePhone cell phone in passive, curve 1, and active, curve 2, operating modes.
Preprints 103392 g004
Figure 5. Average values of the maximum decreases in the resistance of the aquatic environment of the protozoan population when exposed to radiation from cell phones in passive and active operating modes and their standard deviations.
Figure 5. Average values of the maximum decreases in the resistance of the aquatic environment of the protozoan population when exposed to radiation from cell phones in passive and active operating modes and their standard deviations.
Preprints 103392 g005
Table 1.
Purism Librem 5 Fairphone 3 Pine64 PinePhone
Passive mode 0.17 0.28 0.37
Active mode 0.36 0.43 0.49
Disclaimer/Publisher’s Note: The statements, opinions and data contained in all publications are solely those of the individual author(s) and contributor(s) and not of MDPI and/or the editor(s). MDPI and/or the editor(s) disclaim responsibility for any injury to people or property resulting from any ideas, methods, instructions or products referred to in the content.
Copyright: This open access article is published under a Creative Commons CC BY 4.0 license, which permit the free download, distribution, and reuse, provided that the author and preprint are cited in any reuse.
Prerpints.org logo

Preprints.org is a free preprint server supported by MDPI in Basel, Switzerland.

Subscribe

Disclaimer

Terms of Use

Privacy Policy

Privacy Settings

© 2026 MDPI (Basel, Switzerland) unless otherwise stated