Submitted:
30 November 2023
Posted:
01 December 2023
You are already at the latest version
Abstract
Keywords:
0. Background and motivations
- Proximity profit with higher throughput, lower delays, and lower power consumption.
- Avoid overloading the central cellular antenna by dispatching media streams directly between participants.
- Extend cell range by using in-band D2D relay function to connect out-of-range devices.
1. Related Works
2. Underlay D2D network based on ProSe service
2.1. Introduction
- PSBCH: Physical SL broadcast channel, which carries system information and synchronization signals.
- PSCCH: Physical SL control channel, which carries UE-to-UE control plane data.
- PSDCH: Physical SL discovery channel, which supports UE direct discovery transmissions.
- PSSCH: Physical SL shared channel, which is used for user plane data transmission.3.
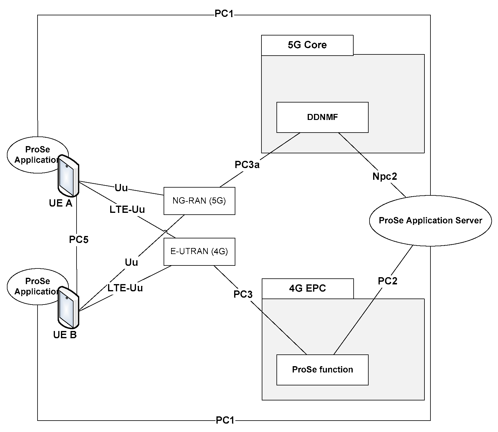
2.2. Reference ProSe architecture
- ProSe App server which can serve as public safety answering point and can directly communicate with an application defined in UE.
- ProSe UE App which is an application installed on the UE side that uses ProSe capabilities.
- ProSe Function/DDNFM that acts as the reference point for ProSe App Server and UEs. This function is responsible for verification, authorization, and configuration of UEs. It also allows network core level discovery for direct communication scenarios between devices.
2.3. ProSe functions and communication scenarios in public safety networks
- In-coverage: when all UEs are within coverage of the eNB(s)
- Partial-coverage: when at least one in-coverage participant acts as UE-to-Network relay while other UE-to-UE relays can provide network access to distant users.
- Out-of-coverage: when all participants are out of the eNB’s
2.4. D2D synchronization procedure
2.5. Infrastructure vs. D2D based communication
2.6. Underlay D2D topologies Models
- Loosely coupled: In this model, illustrated in Figure 6(a), a minimum number of links should be created and maintained within D2D group using one-to-one communication method.
- Fully Coupled: In this model illustrated in Figure 6(b), each UE should connect with all neighbors in its range. This approach can be achieved using multicast one-to-many communication method.
- Tightly coupled: In this approach illustrated in Figure 6(c), starting from the loosely coupled model, new additional selected links can be added between UEs according to one of these strategies: (1) based on CQI by maintaining only links that hold certain CQI threshold, (2) based on a maximum number of links per user in manner to connect with neighbor having less number of connections instead of neighbor with highest CQI, and (3) based on a combination of the two previously mentioned strategies while the additional links are both limited by their number but also by the minimum level of CQI.
3. The D2D Loosely Coupled Model
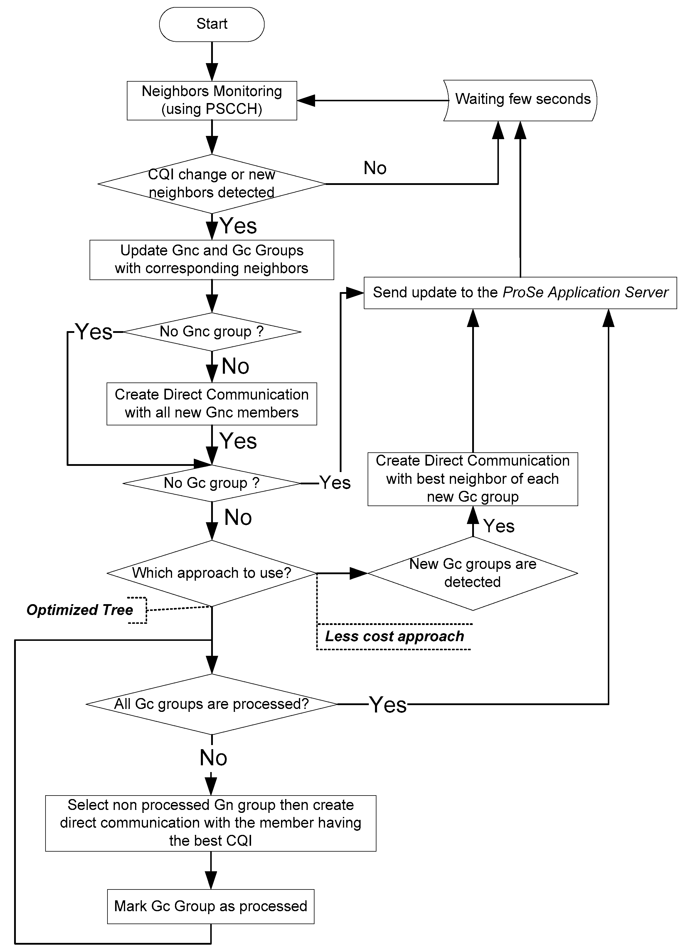
3.1. Neighbor’s classification
3.2. Adding user to the network
3.3. Network Update Management
3.4. UE departure or disconnection
- Alert before leaving: Alert can be generated by the UE before leaving the D2D network. This can happen when the battery reaches a critical level, or as soon as the CQI level drops continuously and tends towards zero, or if the user sends a disconnection request before closing the application.
- Suddenly without alerting: This situation should not be very frequent, and it is due to the voluntary closure of the terminal connection or due to signal interference. Otherwise, it could be caused by an obstacle which suddenly blocks the radio transmission.
- General disconnection from the network: When the rescue mission ends, the PLMN terminates the public safety network mode. In this case, the UE is no longer authorized to use direct D2D communication function.
4. Material and Methods
4.1. Simulation environment and parameters

| Simulation Parameters | Value |
|---|---|
| Transmitter range | Randomly from 100 to 200 m |
| CQI | 1 to15 (0 for unreachable UE) |
| Simulation Time | 7200 seconds (2 hours) |
| Node Pause Time when boundary is | Randomly 0 to 60 seconds |
| Topology Size | 500m x 500m |
| Number of Nodes | from 2 to 70 (new added node every 100 |
| Node Speed (Vmax) | 1 to15 (0 for unreachable UE) |
4.2. Adding users to the simulation area

4.3. UE movement model
4.4. UE Transmission/reception range and CQI calculation
| CQI | Modulation and Coding Scheme | Min. Rate D2D (kbps) |
|---|---|---|
| 1 | QPSK | 28.00 |
| 2 | QPSK | 37.33 |
| 3 | QPSK | 56.00 |
| 4 | QPSK | 112.00 |
| 5 | QPSK | 168.00 |
| 6 | QPSK | 201.60 |
| 7 | 16-QAM | 224.00 |
| 8 | 16-QAM | 336.00 |
| 9 | 16-QAM | 403.20 |
| 10 | 64-QAM | 504.00 |
| 11 | 64-QAM | 504.00 |
| 12 | 64-QAM | 604.80 |
| 13 | 64-QAM | 756.00 |
| 14 | 64-QAM | 840.00 |
| 15 | 64-QAM | 924.00 |
| Algorithm 1. CQI calculation |
|
if d > R CQI ← 0 else if d = = 0 CQI ←15 else CQI ← 16 – d / (R / 15) // CQI is defined as an Integer |
4.5. Network update based on CQI threshold
| Algorithm 2. Nework update according to CQI threshold. |
| For each Gc group of UEi do if CQI_Value(New_neighbor) - CQI_Value(Old_neighbor) <= CQI_threshold then keep Connection with Old_neighbor else Connect with New_neighbor Disconnect from Old_neighbor Report the modification to the ProSe Application Server number_of_updates ++ end end |
5. Simulation results
5.1. Effects of Density and Group connectivity
5.2. “Less cost” vs. “optimized tree” approaches
5.3. Effect of CQI threshold based approaches on network updates and average CQI of the groupe
5.4. Effect of increasing optimization intervals on network updates and average CQI of the groupe
5.6. Effect of the combination of the CQI threshold and the optimization interval compared to the "optimized tree" approach
6. Conclusion
References
- R. Zahínos, H. Abaunza, J. I. Murillo, M. A. Trujillo, and A. Viguria, ‘Cooperative Multi-UAV System for Surveillance and Search&Rescue Operations Over a Mobile 5G Node’, in 2022 International Conference on Unmanned Aircraft Systems (ICUAS), 2022, pp. 1016–1024. [CrossRef]
- Z. Liu, H. Chen, Y. Wen, C. Xiao, Y. Chen, and Z. Sui, ‘Mode Design and Experiment of Unmanned Aerial Vehicle Search and Rescue in Inland Waters’, in 2021 6th International Conference on Transportation Information and Safety (ICTIS), 2021, pp. 917–922. [CrossRef]
- Y. Naidoo, R. Stopforth, and G. Bright, ‘Development of an UAV for search & rescue applications’, in IEEE Africon ’11, 2011, pp. 1–6. [CrossRef]
- P. P. Ray, M. Mukherjee, and L. Shu, ‘Internet of Things for Disaster Management: State-of-the-Art and Prospects’, IEEE Access, vol. 5, pp. 18818–18835, Sep. 2017. [CrossRef]
- A. Alnoman and A. Anpalagan, ‘On D2D communications for public safety applications’, in 2017 IEEE Canada International Humanitarian Technology Conference (IHTC), 2017, pp. 124–127. [CrossRef]
- S. I. Sou, M. R. Li, S. H. Wang, and M. H. Tsai, ‘File distribution via proximity group communications in LTE-advanced public safety networks’, Computer Networks, vol. 149, pp. 93–101, Feb. 2019. [CrossRef]
- L. Babun, A. İ. Yürekli, and İ. Güvenç, ‘Multi-hop and D2D communications for extending coverage in public safety scenarios’, in 2015 IEEE 40th Local Computer Networks Conference Workshops (LCN Workshops), 2015, pp. 912–919. [CrossRef]
- 3GPP Technical Specification Group Radio Access Network, ‘Evolved Universal Terrestrial Radio Access (E-UTRA), Radio Resource Control (RRC), Protocol specification , TS 36.331 (Release 17)’. 2023.
- 3GPP Technical specification group services and system aspects, ‘Proximity-based services (prose); stage 2, TS 23.303 (release 17)’, 2023.
- 3GPP Technical Specification Group Core Network and Terminals, ‘Proximity-services (ProSe) in 5G System (5GS) protocol aspects, TS 24.554 (Release 18)’. 2023.
- L. Lai, D. Feng, F.-C. Zheng, X. Wang, H. H. Yang, and T. Q. S. Quek, ‘CQI-Based Interference Detection and Resource Allocation With QoS Provision in LTE-U Systems’, IEEE Trans Veh Technol, vol. 70, no. 2, pp. 1421–1433, 2021. [CrossRef]
- W. Elleuch, ‘D2D Simulator for loosely coupled network)’. ULCO, Nov. 2023. Accessed: Nov. 16, 2023. [Online]. Available: https://github.com/wajdielleuch/D2D_SIM.
- R. Synave, A. Desitter, N. Dubrunfaut, M. Langa, and G. Langa, ‘MG2D (2D graphics engine)’. ULCO, Calais, Jan. 13, 2020.
- C. Kumar, ‘Evaluation of MANET Performance in Presence of Obstacles’, International Journal of Ad hoc, Sensor & Ubiquitous Computing, vol. 3, no. 3, pp. 37–46, Jun. 2012. [CrossRef]
- X. Lin, J. G. Andrews, A. Ghosh, and R. Ratasuk, ‘An overview of 3GPP device-to-device proximity services’, IEEE Communications Magazine, vol. 52, no. 4, pp. 40–48, 2014. [CrossRef]
- D.-W. Lim, C.-J. Chun, and J.-M. Kang, ‘Transmit Power Adaptation for D2D Communications Underlaying SWIPT-Based IoT Cellular Networks’, IEEE Internet Things J, vol. 10, no. 2, pp. 987–1000, 2023. [CrossRef]























Disclaimer/Publisher’s Note: The statements, opinions and data contained in all publications are solely those of the individual author(s) and contributor(s) and not of MDPI and/or the editor(s). MDPI and/or the editor(s) disclaim responsibility for any injury to people or property resulting from any ideas, methods, instructions or products referred to in the content. |
© 2023 by the authors. Licensee MDPI, Basel, Switzerland. This article is an open access article distributed under the terms and conditions of the Creative Commons Attribution (CC BY) license (http://creativecommons.org/licenses/by/4.0/).