Submitted:
25 August 2023
Posted:
29 August 2023
You are already at the latest version
Abstract
Keywords:
1. Introduction
2. Experimental setup
2.1. Test sample and apparatus
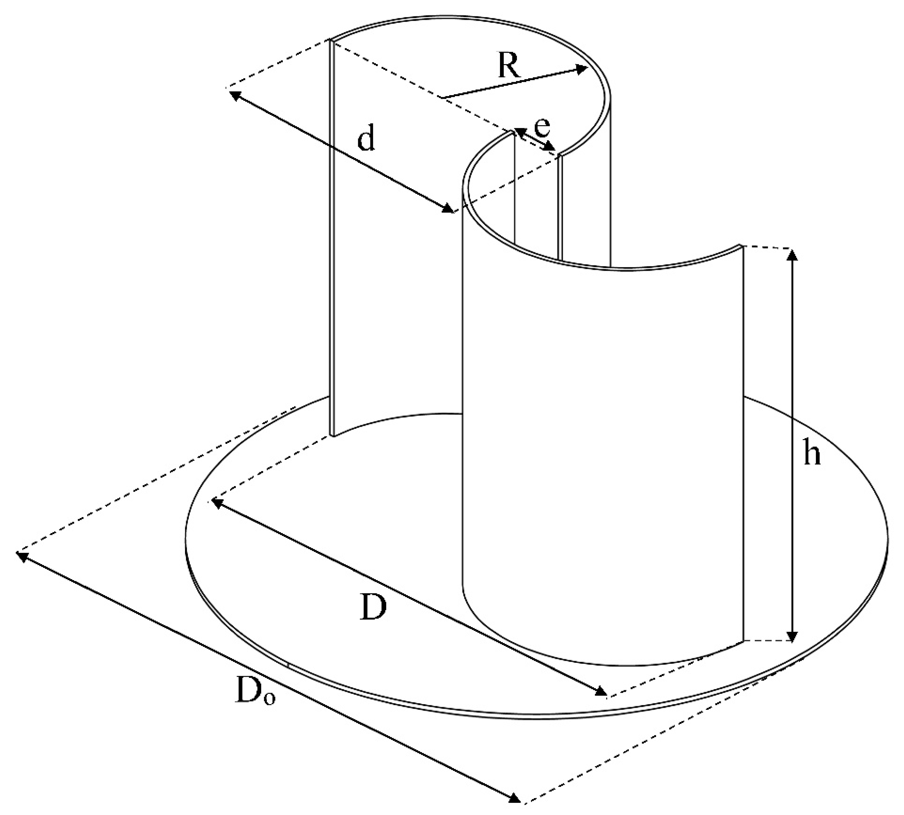
2.2. Geometric model

3. Numerical procedure
3.1. Governing equations
3.2. Boundary conditions

3.3. Solver settings
3.4. Turbine parameters

3.5. Grid generation and grid independence check

4. Experimental data and numerical results validation


5. Modeling using GMDH



6. Multi-objective optimization

7. TOPSIS
8. Results and discussion


9. Conclusions
- With an overlap ratio of 0.16, an aspect ratio of 1, and a twist angle of 45°, the highest power coefficient of 0.136 was obtained. As a result, air is able to escape through the blades, preventing the formation of the drag force that resists the movement.
- The power coefficient initially decreased as the overlap ratio increased from 0 to 0.16, but then increased and reached its maximum value as the overlap ratio increased from 0 to 0.16.
- In response to an increase in the overlap ratio, the power coefficient again experienced a decreasing trend with a higher gradient.
- We find that the highest power coefficient is obtained with an aspect ratio of 1 and a twist angle of 45 degrees.
Funding
Nomenclature
| k | Turbulent kinetic energy (m2/s2) | F1 | Blending function composition |
| Uj | Mean velocity (m/s) | y | Distance to the nearest wall |
| P | Pressure (Pa) | τ | Stress tensor |
| u’ | Fluctuating velocity (m/s) | λ | Tip speed ratio |
| ρ | Density (kg/m3) | δ | Overlap ratio |
| d | Diameter of each blade | ω | Rotational speed |
| Ω | absolute value of vorticity | μ | Fluid viscosity |
| Pw | Turbine power | T | Produced torque |
| Pa | Wind power | Tw | Theoritical torque |
| D | Turbine diameter | µt | Turbulent viscosity (Pa s) |
| h | Turbine height | Acronyms | |
| As | Vertical mirrored area | CFD | Computational fluid dynamics |
| α | Aspect ratio | RANS | Reynolds-Averaged Navier–Stokes |
| φ | Twist angle | TSR | Tip speed ratio |
| Cp | Power coefficient | ANN | Artificail neural network |
| CT | Torque coefficient | VAWT | Vertical-axis wind turbine |
| Pa | Wind power | GA | Genetic algorithm |
| δij | Kronecker delta | ||
References
- Brenden RK, Hallaj W, Subramanian G, Katoch S. Wind energy roadmap. PICMET’09-2009 Portl. Int. Conf. Manag. Eng. Technol., IEEE; 2009, p. 2548–62.
- Zare J, Hosseini SE, Rastan MR. Airborne dust-induced performance degradation in NREL phase VI wind turbine: a numerical study. Https://DoiOrg/101080/1543507520232246544 2023, 1–20. [CrossRef]
- Zare J, Hosseini SE, Rastan MR. NREL Phase VI wind turbine in the dusty environment 2023.
- Maleki A, Khajeh MG, Ameri M. Optimal sizing of a grid independent hybrid renewable energy system incorporating resource uncertainty, and load uncertainty. Int J Electr Power Energy Syst 2016, 83, 514–24. [Google Scholar] [CrossRef]
- Maleki A, Khajeh MG, Rosen MA. Weather forecasting for optimization of a hybrid solar-wind–powered reverse osmosis water desalination system using a novel optimizer approach. Energy 2016, 114, 1120–34. [Google Scholar] [CrossRef]
- Chong WT, Poh SC, Fazlizan A, Yip SY, Chang CK, Hew WP. Early development of an energy recovery wind turbine generator for exhaust air system. Appl Energy 2013, 112, 568–75. [Google Scholar] [CrossRef]
- Goodarzi M, Keimanesh R. Numerical analysis on overall performance of Savonius turbines adjacent to a natural draft cooling tower. Energy Convers Manag 2015, 99, 41–9. [Google Scholar] [CrossRef]
- Roy S, Saha UK. An adapted blockage factor correlation approach in wind tunnel experiments of a Savonius-style wind turbine. Energy Convers Manag 2014, 86, 418–27. [Google Scholar] [CrossRef]
- Tian W, Mao Z, Ding H. Numerical study of a passive-pitch shield for the efficiency improvement of vertical axis wind turbines. Energy Convers Manag 2019, 183, 732–45. [Google Scholar] [CrossRef]
- Naseem A, Uddin E, Ali Z, Aslam J, Shah SR, Sajid M, et al. Effect of vortices on power output of vertical axis wind turbine (VAWT). Sustain Energy Technol Assessments 2020, 37, 100586. [Google Scholar] [CrossRef]
- Dhamotharan V, Jadhav PD, Ramu P, Prakash AK. Optimal design of savonius wind turbines using ensemble of surrogates and CFD analysis. Struct Multidiscip Optim 2018, 58, 2711–26. [Google Scholar] [CrossRef]
- Xu Y-L, Peng Y-X, Zhan S. Optimal blade pitch function and control device for high-solidity straight-bladed vertical axis wind turbines. Appl Energy 2019, 242, 1613–25. [Google Scholar] [CrossRef]
- Su J, Chen Y, Han Z, Zhou D, Bao Y, Zhao Y. Investigation of V-shaped blade for the performance improvement of vertical axis wind turbines. Appl Energy 2020, 260, 114326. [Google Scholar] [CrossRef]
- Damak A, Driss Z, Abid MS. Optimization of the helical Savonius rotor through wind tunnel experiments. J Wind Eng Ind Aerodyn 2018, 174, 80–93. [Google Scholar] [CrossRef]
- Montelpare S, D’Alessandro V, Zoppi A, Ricci R. Experimental study on a modified Savonius wind rotor for street lighting systems. Analysis of external appendages and elements. Energy 2018, 144, 146–58. [Google Scholar]
- Shaheen M, El-Sayed M, Abdallah S. Numerical study of two-bucket Savonius wind turbine cluster. J Wind Eng Ind Aerodyn 2015, 137, 78–89. [Google Scholar] [CrossRef]
- Shaheen M, Abdallah S. Development of efficient vertical axis wind turbine clustered farms. Renew Sustain Energy Rev 2016, 63, 237–44. [Google Scholar] [CrossRef]
- Lee J-H, Lee Y-T, Lim H-C. Effect of twist angle on the performance of Savonius wind turbine. Renew Energy 2016, 89, 231–44. [Google Scholar] [CrossRef]
- Tahani M, Rabbani A, Kasaeian A, Mehrpooya M, Mirhosseini M. Design and numerical investigation of Savonius wind turbine with discharge flow directing capability. Energy 2017, 130, 327–38. [Google Scholar] [CrossRef]
- Kamoji MA, Kedare SB, Prabhu S V. Performance tests on helical Savonius rotors. Renew Energy 2009, 34, 521–9. [Google Scholar] [CrossRef]
- Saha UK, Thotla S, Maity D. Optimum design configuration of Savonius rotor through wind tunnel experiments. J Wind Eng Ind Aerodyn 2008, 96, 1359–75. [Google Scholar] [CrossRef]
- Damak A, Driss Z, Abid MS. Experimental investigation of helical Savonius rotor with a twist of 180. Renew Energy 2013, 52, 136–42.
- Chan CM, Bai HL, He DQ. Blade shape optimization of the Savonius wind turbine using a genetic algorithm. Appl Energy 2018, 213, 148–57. [Google Scholar] [CrossRef]
- Bedon G, Castelli MR, Benini E. Optimization of a Darrieus vertical-axis wind turbine using blade element–momentum theory and evolutionary algorithm. Renew Energy 2013, 59, 184–92. [Google Scholar] [CrossRef]
- Jafaryar M, Kamrani R, Gorji-Bandpy M, Hatami M, Ganji DD. Numerical optimization of the asymmetric blades mounted on a vertical axis cross-flow wind turbine. Int Commun Heat Mass Transf 2016, 70, 93–104. [Google Scholar] [CrossRef]
- Mohamed MH, Janiga G, Pap E, Thévenin D. Multi-objective optimization of the airfoil shape of Wells turbine used for wave energy conversion. Energy 2011, 36, 438–46. [Google Scholar] [CrossRef]
- Deb K, Pratap A, Agarwal S, Meyarivan T. A fast and elitist multiobjective genetic algorithm: NSGA-II. IEEE Trans Evol Comput 2002, 6, 182–97. [Google Scholar] [CrossRef]
- Hosseini SE, Keshmiri A. Experimental and numerical investigation of different geometrical parameters in a centrifugal blood pump. Experimental and numerical investigation of different geometrical parameters in a centrifugal blood pump. Res Biomed Eng 2022. [CrossRef]
- Shojaeefard MH, Hosseini SE, Zare J. Numerical simulation and multi-objective optimization of the centrifugal pump inducer. Modares Mech Eng 2018, 17, 205–16. [Google Scholar]
- Lotfan S, Ghiasi RA, Fallah M, Sadeghi MH. ANN-based modeling and reducing dual-fuel engine’s challenging emissions by multi-objective evolutionary algorithm NSGA-II. Appl Energy 2016, 175, 91–9. [Google Scholar] [CrossRef]
- Wei L, Yan F, Hu J, Xi G, Liu B, Zeng J. Nox conversion efficiency optimization based on NSGA-II and state-feedback nonlinear model predictive control of selective catalytic reduction system in diesel engine. Appl Energy 2017, 206, 959–71. [Google Scholar] [CrossRef]
- Li H, Zhang Q. Multiobjective optimization problems with complicated Pareto sets, MOEA/D and NSGA-II. IEEE Trans Evol Comput 2008, 13, 284–302.
- Dehghani S, Vosoughi AR, Banan MR. The effects of rehabilitation objectives on near optimal trade-off relation between minimum weight and maximum drift of 2D steel X-braced frames considering soil-structure interaction using a cluster-based NSGA II. Struct Multidiscip Optim 2019, 59, 1703–22. [Google Scholar] [CrossRef]
- Boussinesq J V. Essai sur la th{é}orie des eaux courantes. M{é}moires Pr{é}sent{é}s Par Divers Savants {à} l’Acad Des Sci Inst Nat Fr 1877;XXIII:1–680.
- Almohammadi KM, Ingham DB, Ma L, Pourkashan M. Computational fluid dynamics (CFD) mesh independency techniques for a straight blade vertical axis wind turbine. Energy 2013, 58, 483–93. [Google Scholar] [CrossRef]
- Rodi, W. Turbulence Models and Their Application in Hydraulics. Routledge; 2017.
- Menter, FR. Two-equation eddy-viscosity turbulence models for engineering applications. AIAA J 1994, 32, 1598–605. [Google Scholar] [CrossRef]
- Ivakhnenko, A. Polynomial theory of complex systems. IEEE Trans Syst Man Cybern 1971, 364–78. [Google Scholar] [CrossRef]
- Coello, C. A comprehensive survey of evolutionary-based multiobjective optimization techniques. Knowl Inf Syst 1999. [CrossRef]
- Shojaeefard MH, Hosseini SE, Zare J. CFD simulation and Pareto-based multi-objective shape optimization of the centrifugal pump inducer applying GMDH neural network, modified NSGA-II, and TOPSIS. Struct Multidiscip Optim 2019, 60, 1509–25. [Google Scholar] [CrossRef]
- Jamali A, Nariman-Zadeh N, Darvizeh A, Masoumi A, Hamrang S. Multi-objective evolutionary optimization of polynomial neural networks for modelling and prediction of explosive cutting process. Eng Appl Artif Intell 2009, 22, 676–87. [Google Scholar] [CrossRef]




| Geometric parameters | Value |
|---|---|
| End plate (D0) | 254 mm |
| Rotor diameter (D) | 230 mm |
| Rotor height (h) | 162 mm |
| Overlap ratio | 0 |
| Aspect ratio | 0.7 |
| Blade arc angle | 180˚ |
| Diameter of the blade | 115 mm |
| k | Turbulent kinetic energy (m2/s2) | F1 | Blending function composition |
| μ | Fluid viscosity (Pa s) | y | Distance to the nearest wall (m) |
| P | Pressure (Pa) | τ | Stress tensor |
| u’ | Fluctuating velocity (m/s) | µturb | Turbulent viscosity (Pa s) |
| ρ | Density (kg/m3) | Pk | Rate of shear production of k |
| U | Flow velocity (m/s) | δ | Kronecker delta |
| t | Time | ω | Turbulent frequency (s-1) |
| Ω | absolute value of vorticity |
| σk1 | σω1 | β1 | β* | γ1 |
| 0.85 | 0.5 | 0.075 | 0.09 | 5/9 |
| σk2 | σω2 | β2 | β* | γ2 |
| 1.0 | 0.856 | 0.0828 | 0.09 | 0.44 |
| Number of cells | Cp | CT | ω | CPU times |
|---|---|---|---|---|
| 3569842 | 0.17325 | 0.14659 | 39.5621 | 7 h, 36 min, 53 sec |
| 5649551 | 0.16491 | 0.15682 | 36.6586 | 9 h, 15 min, 12 sec |
| 6589425 | 0.13658 | 0.15985 | 35.8954 | 9 h, 57 min, 30 sec |
| 8510325 | 0.12735 | 0.174851 | 35.6972 | 10 h, 49 min, 33 sec |
| 9786521 | 0.12732 | 0.174849 | 35.6986 | 11h, 22 min, 10 sec |
| Design variables | Lower bounds | Upper bounds |
|---|---|---|
| φ | 0 | 60 |
| α | 0.8 | 1.2 |
| δ | 0 | 0.24 |
| Input data | Output data | ||||||
|---|---|---|---|---|---|---|---|
| φ | α | δ | Cp | CT | ω | ||
| 1 | 0 | 0.8 | 0 | 0.10735 | 0.142833 | 37.98526 | |
| 2 | 15 | 0.8 | 0 | 0.11875 | 0.161161 | 37.24395 | |
| 3 | 30 | 0.8 | 0 | 0.119894 | 0.165901 | 36.176 | |
| 4 | 45 | 0.8 | 0 | 0.12735 | 0.174851 | 35.6972 | |
| 5 | 60 | 0.8 | 0 | 0.10807 | 0.145388 | 35.0056 | |
| 6 | 0 | 1 | 0 | 0.16414 | 0.154274 | 37.3464 | |
| 7 | 15 | 1 | 0 | 0.11678 | 0.162188 | 36.71072 | |
| 8 | 30 | 1 | 0 | 0.12065 | 0.173663 | 35.112 | |
| 9 | 45 | 1 | 0 | 0.12902 | 0.192382 | 33.9416 | |
| 10 | 60 | 1 | 0 | 0.1083 | 0.164091 | 33.3564 | |
| 11 | 0 | 1.2 | 0 | 0.0969 | 0.129838 | 37.7188 | |
| 12 | 15 | 1.2 | 0 | 0.09975 | 0.134606 | 37.4528 | |
| 13 | 30 | 1.2 | 0 | 0.1064 | 0.1444 | 37.24 | |
| 14 | 45 | 1.2 | 0 | 0.11495 | 0.158035 | 36.7612 | |
| 15 | 60 | 1.2 | 0 | 0.1045 | 0.145993 | 36.176 | |
| 16 | 0 | 0.8 | 0.08 | 0.09944 | 0.128991 | 33.43155 | |
| 17 | 15 | 0.8 | 0.08 | 0.11 | 0.144954 | 32.90918 | |
| 18 | 30 | 0.8 | 0.08 | 0.11 | 0.148973 | 32.02116 | |
| 19 | 45 | 0.8 | 0.08 | 0.1144 | 0.158289 | 31.34208 | |
| 20 | 60 | 0.8 | 0.08 | 0.09328 | 0.131032 | 30.87195 | |
| 21 | 0 | 1 | 0.08 | 0.1056 | 0.139406 | 32.84995 | |
| 22 | 15 | 1 | 0.08 | 0.10912 | 0.144482 | 32.75247 | |
| 23 | 30 | 1 | 0.08 | 0.11176 | 0.154379 | 31.39432 | |
| 24 | 45 | 1 | 0.08 | 0.11968 | 0.156074 | 33.25414 | |
| 25 | 60 | 1 | 0.08 | 0.10032 | 0.146113 | 29.77498 | |
| 26 | 0 | 1.2 | 0.08 | 0.08976 | 0.119971 | 32.44595 | |
| 27 | 15 | 1.2 | 0.08 | 0.0924 | 0.120234 | 33.32708 | |
| 28 | 30 | 1.2 | 0.08 | 0.09856 | 0.129673 | 32.96142 | |
| 29 | 45 | 1.2 | 0.08 | 0.10648 | 0.142349 | 32.43905 | |
| 30 | 60 | 1.2 | 0.08 | 0.0968 | 0.130036 | 32.28234 | |
| 31 | 0 | 0.8 | 0.16 | 0.113 | 0.18138 | 34.888 | |
| 32 | 15 | 0.8 | 0.16 | 0.125 | 0.198413 | 35.28 | |
| 33 | 30 | 0.8 | 0.16 | 0.125 | 0.203915 | 34.328 | |
| 34 | 45 | 0.8 | 0.16 | 0.13 | 0.218121 | 33.376 | |
| 35 | 60 | 0.8 | 0.16 | 0.106 | 0.179357 | 33.096 | |
| 36 | 0 | 1 | 0.16 | 0.12 | 0.187999 | 35.7448 | |
| 37 | 15 | 1 | 0.16 | 0.124 | 0.197767 | 35.112 | |
| 38 | 30 | 1 | 0.16 | 0.127 | 0.211314 | 33.656 | |
| 39 | 45 | 1 | 0.16 | 0.136 | 0.254206 | 29.96 | |
| 40 | 60 | 1 | 0.16 | 0.114 | 0.183871 | 34.72 | |
| 41 | 0 | 1.2 | 0.16 | 0.102 | 0.159375 | 35.84 | |
| 42 | 15 | 1.2 | 0.16 | 0.105 | 0.164577 | 35.728 | |
| 43 | 30 | 1.2 | 0.16 | 0.112 | 0.177496 | 35.336 | |
| 44 | 45 | 1.2 | 0.16 | 0.121 | 0.194847 | 34.776 | |
| 45 | 60 | 1.2 | 0.16 | 0.11 | 0.177994 | 34.608 | |
| 46 | 0 | 0.8 | 0.24 | 0.09605 | 0.125295 | 31.01616 | |
| 47 | 15 | 0.8 | 0.24 | 0.10625 | 0.147521 | 29.14072 | |
| 48 | 30 | 0.8 | 0.24 | 0.10625 | 0.156733 | 27.42807 | |
| 49 | 45 | 0.8 | 0.24 | 0.1105 | 0.166534 | 26.8464 | |
| 50 | 60 | 0.8 | 0.24 | 0.0901 | 0.157732 | 23.1117 | |
| 51 | 0 | 1 | 0.24 | 0.102 | 0.120416 | 34.2721 | |
| 52 | 15 | 1 | 0.24 | 0.1054 | 0.14012 | 30.43449 | |
| 53 | 30 | 1 | 0.24 | 0.10795 | 0.16242 | 26.89114 | |
| 54 | 45 | 1 | 0.24 | 0.1156 | 0.202514 | 23.09552 | |
| 55 | 60 | 1 | 0.24 | 0.0969 | 0.143044 | 27.40808 | |
| 56 | 0 | 1.2 | 0.24 | 0.0867 | 0.11668 | 30.06416 | |
| 57 | 15 | 1.2 | 0.24 | 0.08925 | 0.126497 | 28.54667 | |
| 58 | 30 | 1.2 | 0.24 | 0.0952 | 0.129858 | 29.66146 | |
| 59 | 45 | 1.2 | 0.24 | 0.10285 | 0.14724 | 28.26202 | |
| 60 | 60 | 1.2 | 0.24 | 0.0935 | 0.130091 | 29.07979 | |

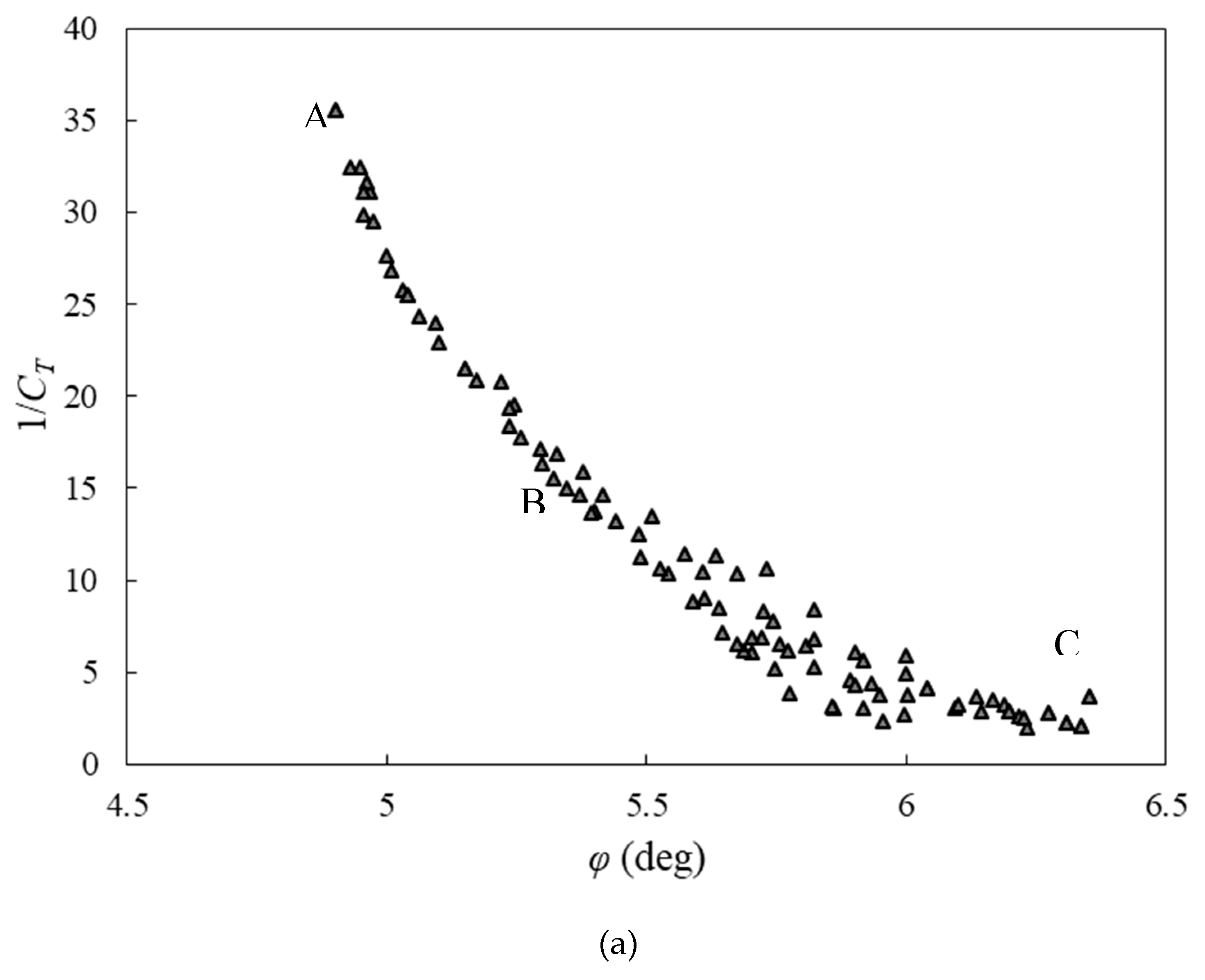
| Point | Objective functions | φ (deg) | α | δ | 1/CT | 1/ω (sec/Rad) | 1/Cp | |
|---|---|---|---|---|---|---|---|---|
| Three-objective | A | 1/Ct-1/ω-1/Cp | 4.57 | 0.835 | 0.136 | 4.98 | 0.0285 | 8.25 |
| Two-objective | B | 1/Ct-1/ω | 9.47 | 0.949 | 0.134 | 5.54 | 0.0283 | 8.56 |
| C | 1/Ct-1/Cp | 32.98 | 0.964 | 0.138 | 4.92 | 0.0291 | 8.25 | |
| D | 1/ω-1/Cp | 4.48 | 0.861 | 0.142 | 6.08 | 0.0279 | 8.79 | |
| single-objective | E | 1/Ct | 36.56 | 0.972 | 0.12 | 4.9 | 0.0291 | 8.28 |
| F | 1/ω | 3.83 | 1.181 | 0.155 | 7.7 | 0.0277 | 10.87 | |
| G | 1/Cp | 31.4 | 0.963 | 0.154 | 4.97 | 0.0293 | 8.25 |

| Design variables | Objective functions | ||||
| φ (deg) | α | δ | 1/CT | 1/ω (sec/Rad) | 1/Cp |
| 6.81 | 0.903 | 0.129 | 4.925 | 0.0278 | 8.256 |
| 1/CT | 1/ω (sec/Rad) | 1/Cp | |||||||
| Point | GMDH | CFD | Absolute error (%) | GMDH | CFD | Absolute error (%) | GMDH | CFD | Absolute error (%) |
| A | 4.98 | 4.59 | 7.83 | 0.0285 | 0.0287 | 0.7 | 8.25 | 7.86 | 4.72 |
| B | 5.54 | 5.49 | 0.9 | 0.0283 | 0.028 | 1.06 | 8.56 | 8.31 | 2.92 |
| C | 4.92 | 4.93 | 0.2 | 0.0291 | 0.0286 | 1.71 | 8.25 | 8.42 | 2.06 |
| D | 6.08 | 6.17 | 1.48 | 0.0279 | 0.0291 | 4.3 | 8.79 | 9.12 | 3.75 |
| E | 4.9 | 4.52 | 7.75 | 0.0291 | 0.02796 | 3.91 | 8.28 | 9.02 | 8.93 |
| F | 7.7 | 7.26 | 5.71 | 0.0277 | 0.0283 | 2.16 | 10.87 | 9.93 | 8.64 |
| G | 4.97 | 4.98 | 0.2 | 0.0293 | 0.02761 | 5.76 | 8.25 | 8.24 | 0.12 |
Disclaimer/Publisher’s Note: The statements, opinions and data contained in all publications are solely those of the individual author(s) and contributor(s) and not of MDPI and/or the editor(s). MDPI and/or the editor(s) disclaim responsibility for any injury to people or property resulting from any ideas, methods, instructions or products referred to in the content. |
© 2023 by the authors. Licensee MDPI, Basel, Switzerland. This article is an open access article distributed under the terms and conditions of the Creative Commons Attribution (CC BY) license (https://creativecommons.org/licenses/by/4.0/).