Submitted:
15 April 2026
Posted:
16 April 2026
You are already at the latest version
Abstract
Keywords:
1. Introduction
2. Literature Review
Research Gaps
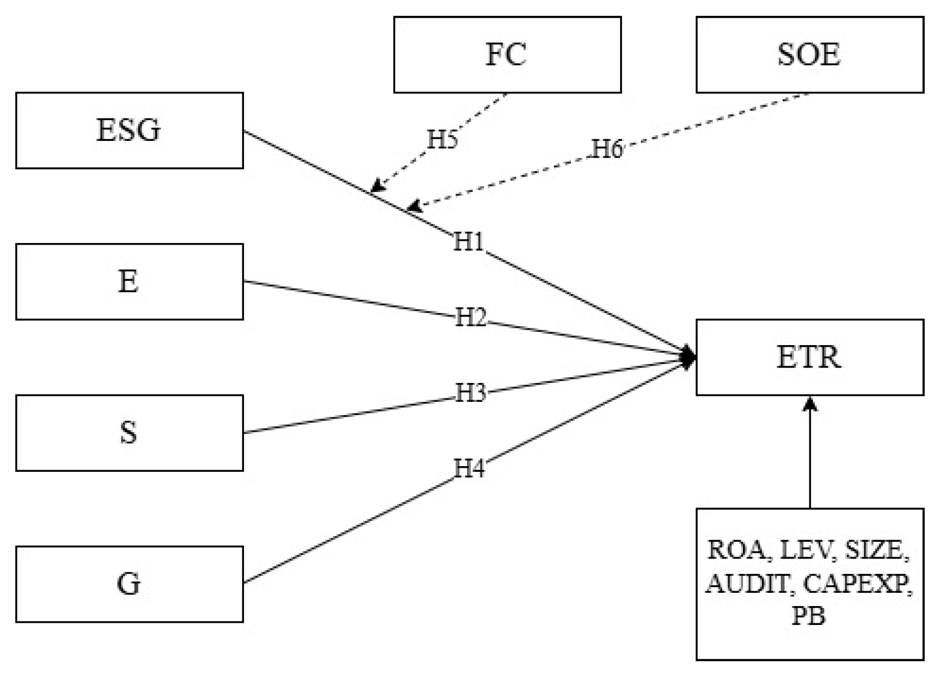
3. Theoretical Framework and Hypotheses Development
3.1. Theoretical Framework
Stakeholder Theory
Agency Theory
Corporate Culture Theory (David Kreps)
Legitimacy Theory
Signaling Theory
Political Cost Theory
3.2. Hypotheses Development
4. Research Methodology
4.1. Research Models

4.2. Variable Measurements and Data Collections
| Variable | Symbol | Measurement | Reference |
|---|---|---|---|
| Effective Tax Rate | ETR | Sambuaga and Felicia [55]; Syahputri [8]; Yuwono and Mustikasari [56] | |
| Overall ESG Score | ESG | Widiastutik et al. [61] | |
|
Where: + : Score of criterion i + : Total number of criteria according to the standard | |||
| Environmental Score | E | Widiastutik, Iqbal and Rusydi [61] | |
| Social Score | S | Widiastutik, Iqbal and Rusydi [61] | |
| Governance Score | G | Widiastutik, Iqbal and Rusydi [61] | |
| Return on Assets | ROA | Yoon, Lee and Cho [16]; Syahputri [8]; Velte [62]; Sambuaga and Felicia [55] | |
| Firm Size | SIZE | Syahputri [8]; Sambuaga and Felicia [55]; Velte [62]; Menicacci and Simoni [21] | |
| Leverage | LEV | Syahputri [8]; Yoon, Lee and Cho [16]; Velte [62]; Menicacci and Simoni [21] | |
| Audit Quality | AUDIT | Dummy variable: 1 if the firm is audited by a Big 4 firm, 0 otherwise | Richardson et al. [63]; Gaaya et al. [64] |
| Capital Expenditure | CAPEXP | Capital expenditures/Total assets | Yoon, Lee and Cho [16] |
| Price-to-Book | PB | Market value of equity/Book value of equity | Yoon, Lee and Cho [16] |
| Financial Constraints | FC | Edwards, Schwab and Shevlin [49] | |
|
Where: + X1: Working Capital/Total Assets + X2: Retained Earnings/Total Assets + X3: EBIT/Total Assets + X4: Market Value of Equity/Book Value of Total Debt + X5: Revenue/Total Assets | |||
| State Ownership | SOE | Dummy variable: 1 if it is a State-Owned Enterprise, 0 otherwise | Li et al. [65] |
4.3. Data Processing Methods
- R², which reflects the proportion of variance in the target variable ETR explained by the model; the best algorithm is the one with the highest cross-validated R²;
- Mean Squared Error (MSE), which measures the average squared prediction error; the best model has the lowest MSE;
- Root Mean Squared Error (RMSE), which represents the standard deviation of residuals and expresses prediction error in the same unit as ETR; a lower RMSE indicates higher predictive accuracy; and
- Mean Absolute Error (MAE), which captures the average absolute difference between predicted and actual ETR values; a lower MAE indicates better predictive performance.
5. Research results
5.1. Description of the Research Sample


5.2. Descriptive Statistics
| Variable | Obs | Mean | Std. Deviation | Min | Max |
|---|---|---|---|---|---|
| ETR | 590 | 0.199 | 0.135 | 0 | 1 |
| ESG | 590 | 0.463 | 0.170 | 0.049 | 0.887 |
| E | 590 | 0.407 | 0.238 | 0 | 0.900 |
| S | 590 | 0.495 | 0.229 | 0.083 | 0.917 |
| G | 590 | 0.489 | 0.181 | 0.063 | 0.938 |
| FC | 590 | 3.752 | 3.532 | 0.339 | 18.774 |
| ROA | 590 | 0.076 | 0.078 | -0.038 | 0.393 |
| LEV | 590 | 0.474 | 0.196 | 0.085 | 0.845 |
| SIZE | 590 | 15.429 | 1.829 | 11.489 | 19.862 |
| CAPEXP | 590 | 0.033 | 0.046 | 0 | 0.221 |
| PB | 590 | 1.887 | 1.215 | 0.311 | 6.351 |
- ROA averages 7.6%, indicating a relatively acceptable level of profitability.
- LEV averages 0.474, meaning that approximately 47.4% of total assets are financed by debt. This may affect ETR through the tax shield associated with interest expenses.
- SIZE has a mean value of 15.429, suggesting that the sample mainly consists of medium-sized and large firms.
- CAPEXP averages 3.3%, indicating that annual investment in fixed assets is not particularly high and that most firms are not in a phase of aggressive expansion.
- PB averages 1.887, indicating that market value generally exceeds book value, which implies positive investor expectations regarding firms’ growth prospects.
5.3. Correlation Matrix Analysis
- to provide a preliminary test for multicollinearity among the explanatory variables prior to regression analysis, and
- to offer an initial assessment of the expected direction of the hypotheses through pairwise correlations.
| Variable | ETR | ESG | E | S | G | SOE | FC | Audit | LEV | PB | CapExp | Size | ROA |
|---|---|---|---|---|---|---|---|---|---|---|---|---|---|
| ETR | 1 | ||||||||||||
| ESG | 0.192*** | 1 | |||||||||||
| E | 0.122*** | 0.801*** | 1 | ||||||||||
| S | 0.151*** | 0.810*** | 0.512*** | 1 | |||||||||
| G | 0.161*** | 0.747*** | 0.358*** | 0.437*** | 1 | ||||||||
| SOE | -0.092** | -0.209*** | -0.165*** | -0.187*** | -0.130*** | 1 | |||||||
| FC | -0.103** | -0.056 | -0.015 | -0.048 | -0.059 | 0.119*** | 1 | ||||||
| Audit | 0.120*** | 0.171*** | 0.089** | 0.184*** | 0.142*** | 0.022 | -0.071* | 1 | |||||
| LEV | 0.221*** | 0.097** | 0.091** | 0.079* | 0.039 | -0.112*** | -0.551*** | 0.128*** | 1 | ||||
| PB | 0.076* | 0.110*** | 0.101** | 0.091** | 0.067 | -0.153*** | 0.343*** | 0.136*** | -0.055 | 1 | |||
| CapExp | 0.018 | 0.059 | 0.024 | 0.074* | 0.050 | -0.043 | -0.060 | 0.040 | 0.019 | -0.068* | 1 | ||
| Size | 0.128*** | 0.269*** | 0.197*** | 0.246*** | 0.194*** | -0.027 | -0.312*** | 0.520*** | 0.390*** | 0.088** | 0.058 | 1 | |
| ROA | -0.203*** | -0.024 | 0.011 | -0.022 | -0.035 | 0.039 | 0.546*** | -0.058 | -0.525*** | 0.327*** | 0.054 | -0.299*** | 1 |
5.4. Model Selection Tests for Panel Regression
5.5. Diagnostic Tests for Model Defects and Remedies
5.5.1. Multicollinearity Test
| Variable | M(1) | M(2) | M(3) | M(4) | M(5) | M(6) |
|---|---|---|---|---|---|---|
| ESG | 1.09 | 2.39 | 1.70 | |||
| E | 1.05 | |||||
| S | 1.08 | |||||
| G | 1.05 | |||||
| FC | 9.62 | |||||
| SOE | 8.13 | |||||
| ESGxFC | 9.74 | |||||
| ESGxSOE | 7.81 | |||||
| ROA | 1.65 | 1.66 | 1.65 | 1.65 | 1.77 | 1.66 |
| LEV | 1.53 | 1.53 | 1.52 | 1.53 | 1.77 | 1.54 |
| SIZE | 1.73 | 1.71 | 1.71 | 1.70 | 1.77 | 1.74 |
| AUDIT | 1.40 | 1.40 | 1.40 | 1.40 | 1.40 | 1.40 |
| CAPEXP | 1.03 | 1.02 | 1.03 | 1.03 | 1.03 | 1.03 |
| PB | 1.21 | 1.21 | 1.21 | 1.20 | 1.34 | 1.24 |
| VIF mean | 1.38 | 1.37 | 1.37 | 1.37 | 3.43 | 2.92 |
5.5.2. Tests for Autocorrelation and Heteroskedasticity
| Statistical Test | M(1) | M(2) | M(3) | M(4) | M(5) | M(6) |
|---|---|---|---|---|---|---|
| Breusch-Pagan | ||||||
| P-value | 0.000*** | 0.000*** | 0.000*** | 0.000*** | 0.000*** | 0.000*** |
| Woodridge | ||||||
| P-value | 0.3174 | 0.4526 | 0.3082 | 0.4001 | 0.2077 | 0.4292 |
5.6. Empirical Results

5.6.1. Results for Independent Variables
| Relationship | Coefficient | Std. Error |
|---|---|---|
| ESG -> ETR | 0.185*** | 0.061 |
| E -> ETR | 0.096*** | 0.035 |
| S -> ETR | 0.079** | 0.035 |
| G -> ETR | 0.130*** | 0.049 |
5.6.2. Results for Moderating Variables
| Relationship | Coefficient | Std. Error |
|---|---|---|
| ESG x FC -> ETR | -0.029** | 0.013 |
| ESG x SOE -> ETR | -0.226* | 0.125 |
5.6.3. Results for Control Variables
| Variable | M(1) | M(2) | M(3) | M(4) | M(5) | M(6) |
|---|---|---|---|---|---|---|
| AUDIT | 0.030 | 0.034 | 0.028 | 0.032 | 0.032 | 0.029 |
| SIZE | -0.007 | -0.005 | -0.004 | -0.006 | -0.008 | -0.006 |
| PB | 0.010** | 0.010** | 0.011** | 0.010** | 0.008 | 0.010** |
| LEV | 0.076** | 0.073** | 0.073** | 0.083** | 0.097*** | 0.075** |
| CAPEXP | 0.013 | 0.020 | 0.022 | 0.028 | 0.023 | 0.006 |
| ROA | -0.336*** | -0.341*** | -0.343*** | -0.331*** | -0.325*** | -0.313*** |
5.7. Machine Learning for Predicting Corporate Tax Avoidance
5.7.1. Model Evaluation and Selection
| Prediction model | Algorithm | R² | MSE | RMSE | MAE |
|---|---|---|---|---|---|
| Model without ESG variables | XGBoost | 0.3814 | 0.0061 | 0.0778 | 0.0601 |
| Extra Trees | 0.3745 | 0.0061 | 0.0783 | 0.0576 | |
| CatBoost | 0.3459 | 0.0064 | 0.08 | 0.0606 | |
| Random Forest | 0.2004 | 0.0078 | 0.0885 | 0.0629 | |
| LightGBM | 0.1837 | 0.008 | 0.0894 | 0.0631 | |
| Model with ESG variables | CatBoost | 0.5292 | 0.0046 | 0.0679 | 0.0502 |
| XGBoost | 0.5014 | 0.0049 | 0.0699 | 0.0528 | |
| LightGBM | 0.4615 | 0.0053 | 0.0726 | 0.0552 | |
| Extra Trees | 0.3897 | 0.006 | 0.0773 | 0.0563 | |
| Random Forest | 0.3012 | 0.0068 | 0.0827 | 0.0623 |
5.7.2. Assessment of Variable Contributions in the Model

6. Research Discussions
| Hypothesis | Tested Relationship | Observed Sign | Conclusion |
|---|---|---|---|
| H1: ESG disclosure negatively affects tax avoidance behavior of non-financial firms | ESG → ETR | (+) | Supported |
| H2: The Environmental (E) component negatively affects tax avoidance behavior of non-financial firms | E → ETR | (+) | Supported |
| H3: The Social (S) component negatively affects tax avoidance behavior of non-financial firms | S → ETR | (+) | Supported |
| H4: The Governance (G) component negatively affects tax avoidance behavior of non-financial firms | G → ETR | (+) | Supported |
| H5: Financial constraints weaken the negative relationship between ESG and tax avoidance | ESG × FC → ETR | (−) | Supported |
| H6: State ownership weakens the negative relationship between ESG and tax avoidance in non-financial firms | ESG × SOE → ETR | (−) | Supported |
| H7: ESG disclosure, combined with financial data and firm characteristics, improves the predictive accuracy and effectiveness of the model | Supported |
7. Recommendations
8. Conclusions
Author Contributions
Funding
Institutional Review Board Statement
Informed Consent Statement
Data Availability Statement
Conflicts of Interest
References
- Armstrong, C.S.; Blouin, J.L.; Jagolinzer, A.D.; Larcker, D.F. Corporate governance, incentives, and tax avoidance. Journal of Accounting and Economics 2015, 60, 1–17. [Google Scholar] [CrossRef]
- Dyreng, S.; Hanlon, M.; Maydew, E.L. The Effects of Executives on Corporate Tax Avoidance. The Accounting Review 2010, 85, 1163–1189. [Google Scholar] [CrossRef]
- Deskins, J.; Fox, W.F. On the extent, growth, and efficiency consequences of state business tax planning. Taxing corporate income in the 21st century 2007, 226, 253–254. [Google Scholar] [CrossRef]
- Hanlon, M.; Heitzman, S. A review of tax research. Journal of Accounting and Economics 2010, 50, 127–178. [Google Scholar] [CrossRef]
- Chen, S.; Chen, X.; Cheng, Q.; Shevlin, T. Are family firms more tax aggressive than non-family firms? Journal of Financial Economics 2010, 95, 41–61. [Google Scholar] [CrossRef]
- Benkraiem, R.; Gaaya, S.; Lakhal, F.; Kilic, M. Access to finance and corporate tax avoidance: International evidence. Journal of International Accounting, Auditing and Taxation 2025, 58, 100668. [Google Scholar] [CrossRef]
- Jiang, H.; Hu, W.; Jiang, P. Does ESG performance affect corporate tax avoidance? Evidence from China. Finance Research Letters 2024, 61, 105056. [Google Scholar] [CrossRef]
- Syahputri, A. The Impact of ESG Performance and Financial Constraint on Tax Avoidance: Evidence From ASEAN 5. Jurnal Dinamika Akuntansi 2025, 17, 102–117. [Google Scholar] [CrossRef]
- Firmansyah, A.; Pratama, H.P.; Valensa, M.F. ESG risk and tax avoidance: Signaling insights from Indonesian public firms. Educoretax 2025, 5, 370–380. [Google Scholar] [CrossRef]
- Montenegro, T.M. Tax Evasion, Corporate Social Responsibility and National Governance: A Country-Level Study. Sustainability 2021, 13, 11166. [Google Scholar] [CrossRef]
- Luat, D.G.; Viet, P.Q.; Luan, P.T. Customers moderate the impact of tax avoidance on firm value in VietNam. Tạp chí Nghiên cứu Tài chính Kế toán 2025. [Google Scholar] [CrossRef]
- Tran, K.; Truong, M.; Tú, B.; Duong, P.; Huynh, M.; Nguyen, T. Firm Risk and Tax Avoidance in Vietnam: Do Good Board Characteristics Interfere Effectively? Risks 2023, 11, 39. [Google Scholar] [CrossRef]
- Yanto, H.; Hajawiyah, A.; Baroroh, N. The reciprocal effect of environmental, social, and governance (ESG) practices and tax aggressiveness in Indonesian and Malaysian companies. Problems and Perspectives in Management 2025, 23, 339. [Google Scholar] [CrossRef]
- EuroCham. ESG Disclosure in the EU, Singapore, and Vietnam: A Comparative Legal View; 2024. [Google Scholar]
- Carolina, V.; Gunawan, Y.W.; Tedya, R. Can ESG Performance Moderate The Effect of Tax Avoidance on Corporate Risk? Riset Akuntansi dan Keuangan Indonesia 2023, 8, 63–71. [Google Scholar] [CrossRef]
- Yoon, B.; Lee, J.H.; Cho, J. The Effect of ESG Performance on Tax Avoidance—Evidence from Korea. Sustainability 2021, 13, 6729. [Google Scholar] [CrossRef]
- Du, M.; Li, Y. Tax avoidance, CSR performance and financial impacts: evidence from BRICS economies. International Journal of Emerging Markets 2023, 19, 3303–3328. [Google Scholar] [CrossRef]
- Widuri, R.; Subroto, B.; Saraswati, E.; Rusydi, M.K. Meta Analysis of The Relationship Between Corporate Social Responsibility and Tax Aggressiveness. Revista de Gestão Social e Ambiental 2024, 18, 1–21. [Google Scholar] [CrossRef]
- Bressan, S. ESG, Taxes, and Profitability of Insurers. Sustainability 2023, 15, 13937. [Google Scholar] [CrossRef]
- Duong, T.-Q.; Huang, Y.-C. The mediation effects of tax avoidance between ESG and cost of debt, firm value: evidence from ASEAN listed corporations. Journal of Entrepreneurship, Business and Economics 2022, 10, 201–232. [Google Scholar]
- Menicacci, L.; Simoni, L. Negative media coverage of ESG issues and corporate tax avoidance. Sustainability Accounting, Management and Policy Journal 2024, 15, 1–33. [Google Scholar] [CrossRef]
- Van, H.V.; Ly, K.C. Does rising corporate social responsibility promote firm tax payments? New perspectives from a quantile approach. International Review of Financial Analysis 2021, 77, 101857. [Google Scholar] [CrossRef]
- Ngo, D. Corporate Social Responsibility Impact on Tax Avoidance: Empirical Evidence from Vietnam. Ianna Journal of Interdisciplinary Studies 2024, 6, 115–130. [Google Scholar] [CrossRef]
- Nguyen, M.; Bensemann, J.; Kelly, S. Corporate social responsibility (CSR) in Vietnam: a conceptual framework. International Journal of Corporate Social Responsibility 2018, 3, 9. [Google Scholar] [CrossRef]
- Ha, N.T.T.; Nguyen, T.C.; Ho, N.T.B. The impact of environmental, social and governance disclosure on stock prices: Empirical research in Vietnam. Heliyon 2024, 10, e38757. [Google Scholar] [CrossRef]
- Khương, N.V.; Trang, N.T. Hành vi tránh thuế và chi phí sử dụng nợ: Nghiên cứu thực nghiệm tại Việt Nam. Kinh tế và Phát triển 2021, 44–52. [Google Scholar]
- Mitchell, R.K.; Agle, B.R.; Wood, D.J. Toward a Theory of Stakeholder Identification and Salience: Defining the Principle of Who and What Really Counts. The Academy of Management Review 1997, 22, 853–886. [Google Scholar] [CrossRef]
- Jensen, M.C.; Meckling, W.H. Theory of the firm: Managerial behavior, agency costs and ownership structure. Journal of Financial Economics 1976, 3, 305–360. [Google Scholar] [CrossRef]
- Ross, S.A. The Determination of Financial Structure: The Incentive-Signalling Approach. The Bell Journal of Economics 1977, 8, 23–40. [Google Scholar] [CrossRef]
- Fama, E.F. Agency Problems and the Theory of the Firm. Journal of Political Economy 1980, 88, 288–307. [Google Scholar] [CrossRef]
- Eisenhardt, K.M. Agency Theory: An Assessment and Review. The Academy of Management Review 1989, 14, 57–74. [Google Scholar] [CrossRef]
- Fama, E.F.; Jensen, M.C. Separation of Ownership and Control. The Journal of Law & Economics 1983, 26, 301–325. [Google Scholar] [CrossRef]
- Kreps, D.M. Corporate culture and economic theory. In Perspectives on Positive Political Economy; Political Economy of Institutions and Decisions; Alt, J.E., Shepsle, K.A., Eds.; Cambridge University Press: Cambridge, 1990; pp. 90–143. [Google Scholar]
- Suchman, M.C. Managing Legitimacy: Strategic and Institutional Approaches. The Academy of Management Review 1995, 20, 571–610. [Google Scholar] [CrossRef]
- Connelly, B.; Certo, T.; Ireland, R.; Reutzel, C. Signaling Theory: A Review and Assessment. Journal of Management - J MANAGE 2011, 37, 39–67. [Google Scholar] [CrossRef]
- Watts, R.L.; Zimmerman, J.L. Towards a Positive Theory of the Determination of Accounting Standards. The Accounting Review 1978, 53, 112–134. [Google Scholar] [CrossRef]
- Abdelfattah, T.; Aboud, A. Tax avoidance, corporate governance, and corporate social responsibility: The case of the Egyptian capital market. Journal of International Accounting, Auditing and Taxation 2020, 38, 100304. [Google Scholar] [CrossRef]
- Abid, S.; Dammak, S. Corporate social responsibility and tax avoidance: the case of French companies. Journal of Financial Reporting and Accounting 2021, 20, 618–638. [Google Scholar] [CrossRef]
- Alsaadi, A. Financial-tax reporting conformity, tax avoidance and corporate social responsibility. Journal of Financial Reporting and Accounting 2020, 18, 639–659. [Google Scholar] [CrossRef]
- Col, B.; Patel, S. Going to Haven? Corporate Social Responsibility and Tax Avoidance. Journal of Business Ethics 2019, 154, 1033–1050. [Google Scholar] [CrossRef]
- Kovermann, J.H.; Velte, P. CSR and tax avoidance: A review of empirical research. Corporate Ownership and Control 2020, 18, 20–39. [Google Scholar] [CrossRef]
- Lanis, R.; Richardson, G. Corporate social responsibility and tax aggressiveness: An empirical analysis. Journal of Accounting and Public Policy 2012, 31, 86–108. [Google Scholar] [CrossRef]
- Landry, S.; Deslandes, M.; Fortin, A. Tax Aggressiveness, Corporate Social Responsibility, and Ownership Structure. Entrepreneurship & Management eJournal 2013, 14, 611–645. [Google Scholar] [CrossRef]
- Muller, A.; Kolk, A. Responsible Tax as Corporate Social Responsibility. Business & Society 2015, 54, 435–463. [Google Scholar] [CrossRef]
- Chouaibi, J.; Rossi, M.; Abdessamed, N. The effect of corporate social responsibility practices on tax avoidance: an empirical study in the French context. Competitiveness Review 2021, 32, 326–349. [Google Scholar] [CrossRef]
- López-González, E.; Martínez-Ferrero, J.; García-Meca, E. Does corporate social responsibility affect tax avoidance: Evidence from family firms. Corporate Social Responsibility and Environmental Management 2019, 26, 819–831. [Google Scholar] [CrossRef]
- Ortas, E.; Gallego-Álvarez, I. Bridging the gap between corporate social responsibility performance and tax aggressiveness: The moderating role of national culture. Accounting, Auditing & Accountability Journal 2020, 33, 825–855. [Google Scholar] [CrossRef]
- Fazzari, S.M.; Hubbard, R.G.; Petersen, B.C.; Blinder, A.S.; Poterba, J.M. Financing Constraints and Corporate Investment. Brookings Papers on Economic Activity 1988, 1988, 141–206. [Google Scholar] [CrossRef]
- Edwards, A.; Schwab, C.; Shevlin, T. Financial Constraints and Cash Tax Savings. The Accounting Review 2016, 91, 859–881. [Google Scholar] [CrossRef]
- Xing, Q.; Zhou, M. Financial Constraints, Tax Enforcement and Tax Avoidance: Evidence from the Chinese Listed Firms. International Journal of Management Sciences and Business Research 2020, 9, 10–19. [Google Scholar] [CrossRef]
- Shleifer, A.; Vishny, R.W. Politicians and Firms. The Quarterly Journal of Economics 1994, 109, 995–1025. [Google Scholar] [CrossRef]
- Bai, C.-E.; Lu, J.; Tao, Z. The Multitask Theory of State Enterprise Reform: Empirical Evidence from China. American Economic Review 2006, 96, 353–357. [Google Scholar] [CrossRef]
- Bradshaw, M.; Liao, G.; Ma, M. Agency costs and tax planning when the government is a major Shareholder. Journal of Accounting and Economics 2019, 67, 255–277. [Google Scholar] [CrossRef]
- Ma, Y.; Yim, S.; Zhang, L. The Dark Side of ESG Rating Disagreement: Increased Corporate Tax Avoidance in China; 2024. [Google Scholar]
- Sambuaga, E.; Felicia, D. The Effect of Women’s Role on Board, ESG Performance, and Tax Avoidance. Society 2024, 12, 61–73. [Google Scholar] [CrossRef]
- Yuwono, A.; Mustikasari, E. The effect of tax avoidance and tax risk on firm risk. The Indonesian Accounting Review 2022, 12, 223–230. [Google Scholar] [CrossRef]
- Bulow, J.I.; Shoven, J.B. The Bankruptcy Decision. The Bell Journal of Economics 1978, 9, 437–456. [Google Scholar] [CrossRef]
- Eberhart, A.C.; Senbet, L.W. Absolute Priority Rule Violations and Risk Incentives for Financially Distressed Firms. Financial Management 1993, 22, 101–116. [Google Scholar] [CrossRef]
- Maksimovic, V.; Titman, S. Financial Policy and Reputation for Product Quality. The Review of Financial Studies 1991, 4, 175–200. [Google Scholar] [CrossRef]
- Rajput, D.; Wang, W.-J.; Chen, C.-C. Evaluation of a decided sample size in machine learning applications. BMC Bioinformatics 2023, 24, 48. [Google Scholar] [CrossRef]
- Widiastutik, R.; Iqbal, S.; Rusydi, M. The Moderating Roles Of Environmental, Social and Governance Disclosures On Company Ownership Structure And Tax Avoidance. Jurnal Reviu Akuntansi dan Keuangan 2024, 14, 442–458. [Google Scholar] [CrossRef]
- Velte, P. Sustainable institutional investors, corporate sustainability performance, and corporate tax avoidance: Empirical evidence for the European capital market. Corporate Social Responsibility and Environmental Management 2023, 30, 2406–2418. [Google Scholar] [CrossRef]
- Richardson, G.; Taylor, G.; Lanis, R. The impact of board of director oversight characteristics on corporate tax aggressiveness: An empirical analysis. Journal of Accounting and Public Policy 2013, 32, 68–88. [Google Scholar] [CrossRef]
- Gaaya, S.; Lakhal, N.; Lakhal, F. Does family ownership reduce corporate tax avoidance? The moderating effect of audit quality. Managerial Auditing Journal 2017, 32. [Google Scholar] [CrossRef]
- Li, W.; Li, T.; Zhu, H. Annual report audit, ESG report assurance and audit quality: Evidence from the same accounting firm. China Journal of Accounting Research 2025, 18, 100434. [Google Scholar] [CrossRef]
- Goodfellow, I.; Bengio, Y.; Courville, A. Deep learning; MIT press: Cambridge, 2016; Volume 1. [Google Scholar]
- Altman, E.; Iwanicz-Drozdowska, M.; Laitinen, E.; Suvas, A. Financial distress prediction in an international context: A review and empirical analysis of Altman’s Z-score model. Journal of international financial management & accounting 2017, 28, 131–171. [Google Scholar] [CrossRef]
- Almamy, J.; Aston, J.; Ngwa, L.N. An evaluation of Altman’s Z-score using cash flow ratio to predict corporate failure amid the recent financial crisis: Evidence from the UK. Journal of Corporate Finance 2016, 36, 278–285. [Google Scholar] [CrossRef]
- Gujarati, D.N. Basic econometrics; McGraw-Hill Companies: New York, 2004. [Google Scholar]
- Aiken, L.S.; West, S.G. Multiple regression: Testing and interpreting interactions; 1991. [Google Scholar]
- Lestari, V.P.; Baihaqi, B. The Effect of Enviromental Social Governance (ESG), Audit Quality and Corporate Risk on Tax Avoidance (Case Study of Manufacturing Companies listed on the IDX for the 2021-2023 Period). Journal of Research in Social Science and Humanities 2025, 5. [Google Scholar] [CrossRef]
- Lee, B.B.; Dobiyanski, A.; Minton, S. Theories and Empirical Proxies for Corporate Tax Avoidance. Journal of Applied Business & Economics 2015, 17, 21–34. [Google Scholar]
- Delgado, F.J.; Fernández-Rodríguez, E.; Martínez-Arias, A. Size and other determinants of corporate effective tax rates in US listed companies. International Research Journal of Finance and Economics 2012, 98, 160–165. [Google Scholar]
- Richardson, G.; Lanis, R. Determinants of the variability in corporate effective tax rates and tax reform: Evidence from Australia. Journal of Accounting and Public Policy 2007, 26, 689–704. [Google Scholar] [CrossRef]
- Zimmerman, J.L. Taxes and firm size. Journal of Accounting and Economics 1983, 5, 119–149. [Google Scholar] [CrossRef]
- Liu, X.; Cao, S. Determinants of corporate effective tax rates: evidence from listed companies in China. Chinese economy 2007, 40, 49–67. [Google Scholar] [CrossRef]
- Yang, L. Predictive modeling of tax compliance risks: A comparative study of machine learning approaches. Plos One 2025, 20, e0331715. [Google Scholar] [CrossRef] [PubMed]
- Rahman, R.A.; Masrom, S.; Omar, N.; Zakaria, M. An application of machine learning on corporate tax avoidance detection model. IAES International Journal of Artificial Intelligence 2020, 9, 721. [Google Scholar] [CrossRef]
- Voon Jan Sian, K.; Lee Yong Ming, K.; Nik Abdullah, N.H.; Yi, S. ESG disclosure and tax avoidance: evidence from Malaysia. International Journal of Academic Research in Accounting, Finance and Management Sciences 2024, 14, 242–252. [Google Scholar] [CrossRef] [PubMed]
- Pantazi, E. The Effect of ESG on Tax Avoidance; International Hellenic University, 2024. [Google Scholar]
- Desai, M.A.; Dharmapala, D. Corporate tax avoidance and high-powered incentives. Journal of Financial Economics 2006, 79, 145–179. [Google Scholar] [CrossRef]
- Minnick, K.; Noga, T. Do corporate governance characteristics influence tax management? Journal of Corporate Finance 2010, 16, 703–718. [Google Scholar] [CrossRef]

| Statistical Test | M(1) | M(2) | M(3) | M(4) | M(5) | M(6) |
|---|---|---|---|---|---|---|
| F-test | 0.000*** | 0.000*** | 0.000*** | 0.000*** | 0.000*** | 0.000*** |
| Breusch - Pagan LM | 0.000*** | 0.000*** | 0.000*** | 0.000*** | 0.000*** | 0.000*** |
| Hausman |
0.287 | 0.203 | 0.720 | 0.565 | 0.470 | 0.373 |
| Selected Model | REM | REM | REM | REM | REM | REM |
Disclaimer/Publisher’s Note: The statements, opinions and data contained in all publications are solely those of the individual author(s) and contributor(s) and not of MDPI and/or the editor(s). MDPI and/or the editor(s) disclaim responsibility for any injury to people or property resulting from any ideas, methods, instructions or products referred to in the content. |
© 2026 by the authors. Licensee MDPI, Basel, Switzerland. This article is an open access article distributed under the terms and conditions of the Creative Commons Attribution (CC BY) license (http://creativecommons.org/licenses/by/4.0/).