Preprint
Article

This version is not peer-reviewed.

Active Strategies based on Parametric Design for Applying Shading Structures

A peer-reviewed article of this preprint also exists.

Submitted:

04 January 2024

Posted:

04 January 2024

You are already at the latest version

Abstract
This study aimed to increase the energy independence of buildings by utilizing solar energy to produce renewable energy. The subject of this study was a shading structure installed in an outdoor space to provide solar energy. Solar panels were applied to the shaded structures to generate energy actively. The solar panels were designed to be moved according to the optimal tilt angle each month to produce the optimal renewable energy. The architectural design of the shading structure and the energy simulation of the solar panels were conducted using a parametric design. The results of the energy simulation showed the generation of 31,570 kWh· year−1 of renewable energy. This amount of energy is 10% higher than that produced by fixed solar panels. Thus, the moving solar panel system developed in this study not only increases the energy independence of buildings, but also has the advantage of higher renewable energy production compared with fixed solar panels. Additionally, various types of shading structures can be designed depending on the combination of solar panel modules; in particular, moving solar panels have the potential to facilitate ecofriendly designs when applied to the exterior of buildings.
Keywords: 
;  ;  ;  ;  

1. Introduction

Climate change caused by environmental pollution is progressing rapidly. Industries need to be reorganized to reduce environmental pollution to preserve the global environment for the survival of mankind. The construction sector directly contributes to environmental pollution through energy consumption. Changes in the energy consumption in the construction field are an important factor affecting the global environment, given that the energy consumption of the construction sector accounted for 37% of the global energy consumption in 2022 [1]. Consequently, technological development related to efficient energy consumption and renewable energy production in buildings is essential. Accordingly, the International Energy Agency announces energy reduction goals for the construction sector every year. To achieve these goals, each country specifically reduces building energy consumption and CO2 emissions through Building Energy Sufficiency policies [2,3]. In addition, energy-related studies in the field of architecture are actively being conducted to generate renewable energy in buildings.
Clean and efficient building energy systems can be divided into active and passive energy-saving systems. Active energy-saving systems generate energy within a building using solar thermal panels, photovoltaic systems, wind power, and geothermal energy. Passive energy-saving systems conserve building energy and minimize building energy consumption through the insulation of the exterior and roof of the building and the installation of highly energy-efficient windows [4,5,6,7]. Recently, studies have been conducted on complex, clean, and efficient building energy systems that combine active and passive energy-saving systems. Studies have been conducted to develop an energy system optimization model and policies for model operation under the premise that a method combining active and passive energy-saving systems has the potential to reduce building energy costs [8,9]. An empirical study was conducted to apply the developed energy-saving system model to specific buildings. To increase the energy use efficiency of public institutions and schools, studies have been conducted on the development of energy combination models and algorithms [10,11] and on active and passive energy-saving systems to increase the energy independence of residential buildings [12,13].
This study conducted architectural research based on active design strategies. The active design strategy pursued in this study involved increasing the energy independence of buildings by utilizing solar energy from various natural energy sources. Second, this study targeted buildings that were easy to construct. The solar panel used to utilize solar energy is not a fixed type but a mobile model based on a parametric design for optimal energy harvesting. The experimental process was designed to present a model of creative architectural design.
The building selected for this study was a shaded structure. The modularization of the elements that constitute the structure and the ease of the construction process satisfy the attributes of active design. This empirical study serves as an experimental model for an energy-efficient architectural design that can be used as a shelter for outdoor spaces needed for outdoor activities.

2. Literature Review

2.1. Active Design based on Solar Panel System for Energy-efficient Architecture

The photovoltaic effect, which generates energy from sunlight, was first introduced by the French physicist Alexandre Edmond Becquerel in 1839. Solar cells were first used as an energy source when they were deployed as a power source for communication networks in Americus, Georgia in 1955 [14,15]. Solar panels were first applied in the architectural field by American architects and engineers just before World War II up to the late 1950s. After the war, as concerns about energy supply and global environmental problems emerged, interest in the development of ecofriendly architectures that utilize solar energy increased. However, as oil energy was used as the main energy source at the time, interest in solar energy decreased, whereas interest in renewable energy increased again following the oil crisis of the 1970s [16]. Today, solar-energy-based active designs are being applied to various buildings because of the global interest in low carbon emissions and energy savings in all industrial fields.
The methods for utilizing solar energy in the construction sector can be broadly divided into two types. First, some buildings produce electrical energy from solar energy. This method involves installing a solar-power generation system in a building. Solar cells are installed on the roofs of buildings to convert the natural energy of sunlight into electrical energy. Second, some buildings produce heat energy from solar energy. Solar collectors are installed on the roofs of buildings to produce energy for heating water [17,18].
Solar panels installed in buildings are placed on the rooftops of the buildings to expose the solar panels fully to sunlight and facilitate their maintenance. Building-integrated photovoltaics (BIPVs) are widely used to install solar panels on sloped roofs and building façades rather than on flat roofs [19]. Before applying BIPVs, the selection of the optimal solar panel location and various climatic conditions are considered to increase the energy production efficiency [20]. Once the location of the solar panel is selected, the panel is attached to the exterior wall of the building, and such an integration changes the building’s envelope from an energy consumer to an energy producer. Solid-based active building envelopes are systems in which solar panels are integrated into the building roof and exterior walls. Currently, owing to the development of solar panel materials, solid-based active building envelopes are applied not only to opaque building shells but also to transparent windows [21]. Semitransparent solar panels have been inserted into double-glazed windows to maximize the amount of renewable energy produced by building envelopes [22,23,24]. In particular, the active energy façade system installed on the southern vertical surface of a building façade maximizes the energy production efficiency through the attachment of solar panels to moveable louvers installed to control the solar influx [25,26]. Solar-panel-integrated louvers with fluid properties have the potential to be applied to the exterior of a building and used as a design element for creative façades and to produce renewable energy.

2.2. Parametric Design in Architecture

“Parameter,” the core of parametric systems applied to various fields today, has a broad meaning. The etymology of “parameter” is a combination of the ancient Greek words “para” and “metron,” where “para” means “besides, before, or instead of,” and “metron” means “measure.” According to ancient Greek etymology, “parameter” refers to a term that represents or determines another measure. Parametric design in the field of architecture was first introduced in 1971 as the concept of “relationships between measures” [27]. These parametric concepts were implemented as buildings in a virtual space using computer software.
Architectural parameters were used to draw conclusions based on the diverse variables necessary for the architectural design. In other words, the parameters in the field of architecture are characterized by a range of possible values rather than by obtaining a constant result, such as a mathematical formula. The advantage of parametric design is that it can produce various architectural design results by controlling several parameters [28]. Proposals of various architectural designs using this parameter system have the advantage of not only deriving creative designs but also judging the effectiveness of the design according to each parameter.
Parametric tools originated in SketchPad, a computer program developed by Ivan Sutherland in 1963. SketchPad, the first computer-aided system (CAD) program, is a pen equipped with a laser pointer [29]. It allows not only the creation of simple basic shapes, but also design changes through parametric equations. Additionally, as the parameters change, the shapes are recalculated, and design changes become possible. While early CAD systems simply digitized design concepts expressed on paper using basic logic, parametric design is currently evolving to present architectural concepts and new design perspectives, owing to the development of parametric software programs.
Parametric design has been applied in the architectural field since the early 1990s. Parametric modeling has significantly influenced the design process for architectural development and the establishment of new design concepts. Parametric design was established as a new architectural theory called “Parametricism” and began to be used as a concept to signify a new global architectural style beyond a simple design tool [30]. In particular, the digital revolution of the 20th century accelerated the application of parametric design in the architectural field.
​ Parametric design software has developed rapidly since the early 2000s. The most commercialized software in the architectural field today is Grasshopper, a plug-in program for Rhinoceros, and Dynamo, a plug-in program for Revit developed by Autodesk under the concept of building information modeling [31,32]. Designers use parametric design software, and design is performed through the definition of an algorithm, which is an integrated system that combines diverse variables for architectural design. An algorithm is a system that solves a given problem using well-defined processes and basic unambiguous instructions [33]. When limited data are input into the algorithm, special results are obtained. Various algorithms have been built for optimal design, and the best method that satisfies the criteria for design decisions is determined by generating positive or negative results based on the input data.

2.3. Shading Structure

Shading structures are minimal architectural structures installed to avoid exposure to excessive sunlight. As an architectural structure, shading structure has its origins in the velarium of the ancient Roman era. The velarium is a canvas-type folding system composed of ropes and masts, and a representative example is the one installed on the roof of the Colosseum in ancient Rome. The velarium installed on the roof of the Colosseum has the advantage of low installation costs because it uses minimal construction technology, provides shade to spectators, and simultaneously facilitates ventilation inside the Colosseum through the sloping roof [34]. Shading structures, which were developed for long-term outdoor activities (starting with the velarium), are still in good use. Shaded structures are installed on public streets in countries with hot climates. The awning installed at the top of a public street not only protects pedestrians from excessive solar radiation but also protects public spaces from dust and glare. Additionally, through material development, shading structures are responsible for the architectural research field of membrane architecture [35]. The flexibility of the materials that constitute the shading structure and the lightweight architectural structure that supports the flexibility of the materials not only play a functional role in blocking sunlight but are also used as an aesthetic element in architectural design. In particular, sunsails that make up sunshades are an important architectural element in that they can variably construct and control spaces and provide users with various spatial experiences depending on light, shadow, and internal temperature [36]. Shading structures, which have architectural functions and aesthetic potential, are widely used today in external spaces, stadium roofs, and shading designs on the exteriors of buildings.
From the perspective of building energy utilization, the sunsail-type shading structure is based on a passive energy system. However, current buildings must have active energy systems that produce a certain amount of renewable energy within the building itself. From this perspective, shading structures installed outdoors have the potential to utilize passive and active energy systems, because of the direct exposure of the surrounding environment to sunlight, the area of the structure, and the flexible nature of the structure.

3. Methodology

This study consisted of five stages. First, an architectural design was developed for the shading structure. The shading structure was designed to be variable and easy to install. The main architectural elements that constituted the shading structure were integrated solar panels with a solar-energy-based active design. It was assumed that the shaded structure was installed in an external space without shadow interference from surrounding structures. The purpose of installing a shading structure in an external space was to build a multipurpose architectural space to facilitate various outdoor activities and simultaneously utilize solar energy to increase the renewable energy production efficiency of the building. Second, the architectural design was implemented in a virtual space using a computer program. In this study, a shaded structure was designed using the Autodesk Revit software. The Revit software is a representative architectural design program that integrates various data from the architectural design process and digitally realizes all the stages from architectural planning and design to construction and operation, which are the final stages of construction [37]. Third, a parametric design was developed. The purpose of parametric design was to build a solar-based active architectural design. Dynamo, Revit’s plug-in software, was used to build algorithms for the parametric design and perform the design according to the variables. Fourth, the active energy design of the shaded structure was simulated. The design simulation aimed to measure the amount of renewable energy generated by the shading structure. This study used Revit’s plug-in software, the Insight program, to measure the amount of solar energy generated by the solar panels. Finally, the parametric design results were derived. The amount of renewable energy generated from the shading structure over one year and the overall appearance of the shading structure were evaluated (Figure 1).

4. Design

4.1. Arrangement of Solar-panel-integrated Modules that Form the Shading Structure

The shading structure was implemented using the Autodesk Revit 2020 program [38]. The module comprising the shading structure was an integrated solar panel, and was 0.5 m wide and 0.7 m long. All the panels were placed facing south to ensure maximum sunlight (Figure 2A). The module size was set based on the specifications of solar panels that are currently being produced. The solar panel selected for this study (Q. PEAK DUO XL-G10, 1 m wide and 2.1 m long) is used on building roofs [39]. To apply a solar panel to a shaded structure, the panel must be in the form of a small module. As the shading structure is easy to install and has a variable structure, the solar panels used on the roofs of buildings must be lightweight. By dividing the solar panels installed on the roof of the building selected for this study into six parts, a minimum unit shading structure module with a width of 0.5 m and a length of 0.7 m was obtained. The size of this single module was determined to ensure no panel loss after segmenting the existing large solar panels. The modules on the upper floor were placed at 1 m intervals up to a maximum height of 7 m. The modules were not placed up to 1 m above the ground to prevent damage to them from pedestrians, and they were placed up to 7 m, the height of two floors of a regular building, to create sufficient shade space on the ground floor. Additionally, the modules were arranged inclinedly at intervals of 0.75 m on the sides and 1 m on the top to prevent shadow interference between the modules (Figure 2B). A total of 57 unit modules were placed on a site that was 11 m wide and 5 m long. In the plan, each module was arranged at intervals of 1 m on the side and 0.75 m at the top and bottom (Figure 2C). First, through the arrangement of this module, the energy production efficiency was maximized because there was no shadow interference between the modules. Second, a small amount of sunlight entered the shade curtain through the gap between the modules; therefore, the inside of the shade cloth was not completely dark. The number of modules can be varied according to the size of the external space in which the shading structure is installed and the purpose of the shading structure.

4.2. Flexible Shading Structure Plan for Energy Optimization

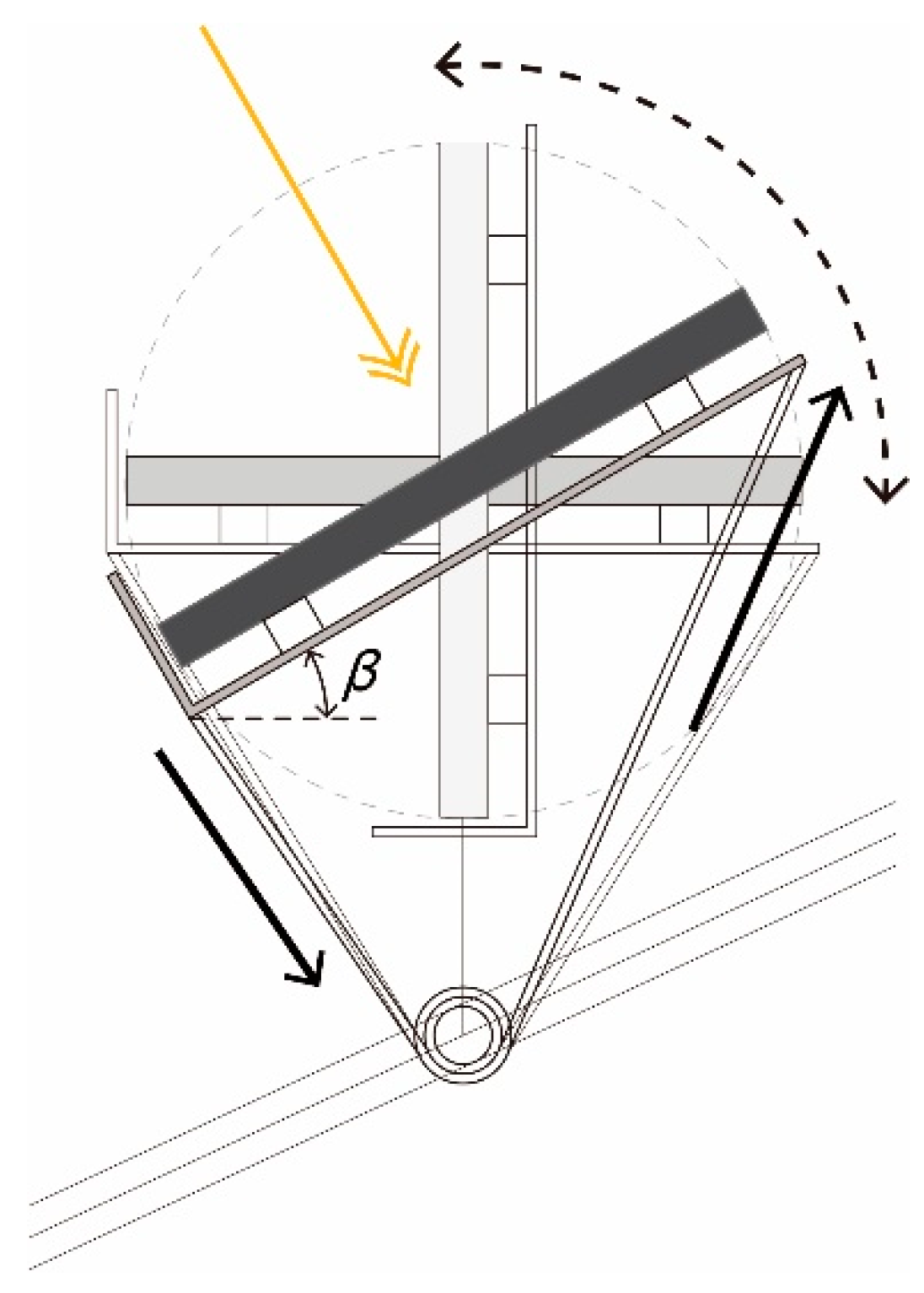
This study utilized solar panels for an active design that produces energy within the building itself and employed flexible solar modules to maximize the energy generation efficiency. In a flexible solar module, the installation angle of the solar panel changes to increase the energy generation efficiency according to the movement trajectory of the sun, which changes monthly during the year. These flexible solar panels can maximize energy generation compared with existing fixed solar panels. They have the potential to be applied to the exterior of buildings as a “kinetic façade” and be used as an important element of architectural design. The solar modules were installed according to the optimal tilt angle for each month to achieve the optimal energy generation. The monthly optimal tilt angle value is calculated using the Calabrò function (1) [40]. In Equation (1), β is the optimal tilt angle value, and a1 and a2 are coefficients derived from the solar declination value.
β = a1 + a2φ
The monthly optimal tilt angle value (β) is derived from the coefficients a1 and a2 from January to December. The device supporting the solar module was designed to move 90° relative to the south-facing central axis of the panel. The solar modules were placed according to the optimal tilt angle for each month using a lightweight metal device that could move in response to sunlight (Figure 3).
The study was conducted assuming that the shading structure was installed in Seoul, the capital of Korea (37.5° N, 126.9° E). By substituting the latitude of Seoul (𝜑=37.5) and the coefficients a1 and a2 from January to December into Equation (1), the optimal tilt angle values are derived (Table 1).

5. Parametric Modeling and Simulation

5.1. Building Algorithms for Parametric Modeling

The aforementioned shading structure implemented in a virtual space using Revit software was composed of solar-panel-integrated modules of a certain size. In addition, the modules moved according to the optimal tilt angle every month to maximize the renewable energy generation. An energy simulation for the proposed shading structure was conducted using the size of the solar-panel-integrated module and the optimal tilt angle at which the module was installed as variables. Parametric modeling is the process of designing through the definition of an algorithm that integrates these variables. This study implemented parametric modeling using Dynamo [41], a plug-in program for the Revit software used for the implementation of the shading structure.
Dynamo is a programming language that allows the development of Revit programs. This tool can develop functions based on Revit to suit the user’s environment [42]. Through the language system built with Dynamo, simple repetitive tasks owing to various environmental changes are shortened, and large amounts of input data are easily processed. In addition, Dynamo is a visual graphic programming tool that makes it easy to understand the flow of parametric modeling, because it is a programming language that connects nodes for executing commands and nodes for inputting variables. This parametric modeling process involves building an algorithm. The schematic of the algorithm for this study is described as follows. First, the solar panel is selected from among the various architectural elements that constitute the shading structure. A specific solar panel module can be selected from several solar panels. Second, the size of the solar panel module is determined. Finally, the solar panel module is placed at the desired installation angle (Figure 4).

5.2. Simulation for Solar Energy Generation

The simulation for renewable energy generation was conducted using the Revit plug-in the Insight program [43]. The Insight program was developed to simulate solar energy generation in buildings using Revit. The input variables for running the Insight program include information about the site where the building will be constructed. When the name of a city is entered, the program automatically recognizes its latitude and longitude. Second, a solar panel attached to a building was selected for the simulation. We could select the type of solar panel to be installed on the exterior wall, and we could also select all or a few solar panels. Third, the simulation period was set. Solar panel modules were placed according to the monthly optimal tilt angle from January to December 2023 derived using the Calabrò function in Section 4.2. Subsequently, a solar energy simulation was conducted by setting sunrise and sunset times from 6 am to 8 pm (Figure 5).
Table 2 presents the amount of energy generated from the 57 solar panel modules (total panel area, 20 m−2) that constitute the shading structure. Based on the energy simulations, the months with the highest and lowest solar energy production were June and December, respectively. In June, a total of 3,474 kWh·month−1 was generated from solar panels installed at an optimal tilt angle of 13.4°. On the other hand, in December, a total of 1,963 kWh·month−1 was generated from solar panels installed at an optimal tilt angle of 59.1°. The total amount of energy generated from the solar panels during the year from January to December 2023 was 31,570 kWh·year−1.

6. Results and Discussion

This study aimed to conduct empirical research to increase energy independence in the field of architecture. A shading structure composed of solar panel modules was selected as the research subject because, first, the shading structure itself is light and can be easily installed in an external space. As the structure is easy to install, various shading structure designs that utilize natural environments, such as trees, can be proposed. In addition, solar panels of various colors created through advancements in solar panel materials have the potential to be used as creative design elements for shaded structures (Figure 6). Second, the shading structure is directly exposed to sunlight; therefore, it is the optimal architecture to apply an active energy design that produces renewable energy from sunlight.
The shaded structure was constructed using a parametric design process. Parametric design is a process wherein a design is completed by inputting limited data into an algorithm built by a designer. Parametric design is evolving with the development of various software programs. In this study, a shading structure was implemented in a virtual space using Autodesk Revit. The Revit program is a preliminary step in applying parametric design, and ensures that all the elements that constitute a building are implemented in a three-dimensional space. After the shading structure was built using the Revit program, an algorithm for the parametric design was built using Dynamo, Revit’s plug-in software. The Dynamo algorithm was designed with the inputs of the size and installation angle of the solar panel module to be applied to the shading structure. A parametric design was conducted by inputting the optimal tilt angle information from January to December for 57 solar panel modules with a width of 0.5 m and a length of 0.7 m. After the physical form of the shading structure was determined using the Dynamo algorithm, an energy simulation was performed using the Revit plug-in software, the Insight program. The Insight program produces solar-based renewable energy upon inputting the location information of the shading structure and the period for energy simulation. In this study, an energy simulation was conducted for one year, from January to December 2023, assuming Seoul to be the location where the shading structure will be installed. Consequently, the energy generation was the highest in June (3,474 kWh·month−1), and the lowest in December (1,963 kWh·month−1). The total energy produced through the solar panels in 2023 was 31,570 kWh·year−1. Assuming that LED street lights (100 W·h−1) installed in outdoor spaces operate for 12 h every day, the amount of generated energy (31,570 kWh·year−1) derived from this study is sufficient to supply power to 72 LED street lights. These results demonstrate that parametric design in the architectural field is highly efficient in terms of construction and renewable energy generation.

7. Conclusions

Since the onset of the COVID-19 pandemic, various external activities have been undertaken. This study was conducted with the objective of planning architectural spaces that serve as rest areas for various outdoor activities and increase the energy independence of architecture. A shading structure was used as the research object to provide the resting space necessary for outdoor activities, and an integrated solar panel module was used as the main structure of the shading structure. The novelty of the structure proposed herein is that, rather than being passive, where existing solar panels are fixed and installed on the roof or façade of a building, this structure was designed to move actively according to the optimal tilt angle for optimal solar energy generation every month. The advantages of these “kinetic solar panels” are, first, that renewable energy generation increases compared with existing fixed solar panels. When installing fixed solar panels in Seoul, the subject of this study, the optimal solar panel angle was 50° [44]. When the shading structure proposed herein was installed at a fixed angle of 50° and energy simulation was performed using Insight software for one year in 2023, a total of 28,444 kWh·year−1 was derived. The energy generation of 28,444 kWh·year−1 from solar panels fixed at 50° is equivalent to 90% of the energy (31,570 kWh·year−1) generated by the kinetic solar panels proposed in this study. Second, by using moving solar panels, the scale and shape of the shading structure can be varied by varying the size and combination of various panel modules. Ultimately, the kinetic solar-panel-based shading structure proposed herein can increase energy generation compared with fixed solar panels and supply power to several external streetlights around the shading structure. Additionally, in terms of design, kinetic solar panels can be applied not only to simple lightweight structures, such as shading structures, but also to the exteriors of various buildings, and can be applied as an important element of architectural design.
The proposed kinetic solar panel was designed in a virtual space. Assuming that a shaded structure is built in a real space, this study has the limitation of not having a specific plan regarding the mechanism of the device for installing solar panels on the structure. Future research will aim to develop a solar panel system that moves independently according to the monthly optimal tilt angle. In particular, analyzing the power consumption required to move solar panels is an important research topic that determines the energy efficiency of kinetic solar panels. This study has the potential to initiate new convergence research through a collaboration between computer and electrical energy engineering for the design of kinetic solar panels, focusing on the field of architectural design.

Funding

This study was supported by a National Research Foundation of Korea (NRF) grant funded by the Korean Government, Ministry of Science, and ICT (MSIT) (No. 2022R1F1A1065442).

Conflicts of Interest

The authors declare no potential conflicts of interest regarding the research, authorship, and/or publication of this article.

References

  1. International Energy Agency. Final energy consumption of buildings relative to other sectors, 2022. Available online: https://www.iea.org/data-and-statistics/charts/final-energy-consumption-of-buildings-relative-to-other-sectors-2022 (accessed on 11 August 2023).
  2. Hu, S.; Zhou, X.; Yan, D.; Guo, F.; Hong, T.; Jiang, Y. A systematic review of building energy sufficiency towards energy and climate targets. Renew. Sustain. Energy Rev. 2023, 181, 113316. [Google Scholar] [CrossRef]
  3. Park, D.J.; Yu, K.H.; Yoon, Y.S.; Kim, K.H.; Kim, S.S. Analysis of a building energy efficiency certification system in Korea. Sustainability 2015, 7(12), 16086–16107. [Google Scholar] [CrossRef]
  4. Ma, H.; Zhou, W.; Lu, X.; Ding, Z.; Cao, Y. Application of low cost active and passive energy saving technologies in an ultra-low energy consumption building. Energy Procedia 2016, 88, 807–813. [Google Scholar] [CrossRef]
  5. de Gracia, A.; Navarro, L.; Coma, J.; Serrano, S.; Romaní, J.; Pérez, G.; Cabeza, L.F. Experimental set-up for testing active and passive systems for energy savings in buildings–lessons learnt. Renew. Sustain. Energy Rev. 2018, 82, 1014–1026. [Google Scholar] [CrossRef]
  6. Omrany, H.; Ghaffarianhoseini, A.; Ghaffarianhoseini, A.; Raahemifar, K.; Tookey, J. Application of passive wall systems for improving the energy efficiency in buildings: A comprehensive review. Renew. Sustain. Energy Rev. 2016, 62, 1252–1269. [Google Scholar] [CrossRef]
  7. Benaddi, F.Z.; Boukhattem, L.; Ait Nouh, F.; Cesar Tabares-Velasco, P.; Benhamou, B. Energy-saving potential assessment of a classroom building envelope through sensitivity analysis and multi-objective optimization under different climate types. Build. Serv. Eng. Res. Technol. 2023, 44(3), 309–332. [Google Scholar] [CrossRef]
  8. Wu, Z.; Shi, X.; Fang, F.; Wen, G.; Mi, Y. Co-optimization of building energy systems with renewable generations combining active and passive energy-saving. Appl. Energy 2023, 351, 121514. [Google Scholar] [CrossRef]
  9. Shukla, A.K.; Yadav, A.K.; Prakash, R. Active and passive methods for cooling load reduction in a tropical building: A case study. Energy Conv. Manag. 2023, 293, 117490. [Google Scholar] [CrossRef]
  10. Yu, S.; Liu, X.; Yang, J.; Han, F.; Wei, J. The optimization research on the coupled of active and passive energy supplying in public institutions in China. Energy Built Environ. 2024, 5(2), 288–299. [Google Scholar] [CrossRef]
  11. Díaz-López, C.; Serrano-Jiménez, A.; Lizana, J.; Lopez-Garcia, E.; Molina-Huelva, M.; Barrios-Padura, A. Passive action strategies in schools: A scientific mapping towards eco-efficiency in educational buildings. J. Build. Eng. 2022, 45, 103598. [Google Scholar] [CrossRef]
  12. Taherian, H.; Peters, R.W. Advanced Active and Passive Methods in Residential Energy Efficiency. Energies 2023, 16(9), 3905. [Google Scholar] [CrossRef]
  13. Almehmadi, F.A.; Alqaed, S.; Mustafa, J.; Jamil, B.; Sharifpur, M.; Cheraghian, G. Combining an active method and a passive method in cooling lithium-ion batteries and using the generated heat in heating a residential unit. J. Energy Storage 2022, 49, 104181. [Google Scholar] [CrossRef]
  14. McEvoy, A.; Markvart, T.; Castaner, L. Practical Handbook of Photovoltaics, 2nd ed.; Academic Press: Cambridge, Massachusetts, USA, 2011; p. 15. [Google Scholar]
  15. Marques Lameirinhas, R.A.; Torres, J.P.N.; de Melo Cunha, J.P. A photovoltaic technology review: history, fundamentals and applications. Energies 2022, 15(5), 1823. [Google Scholar] [CrossRef]
  16. Barber, D.A. A House in the Sun: Modern Architecture and Solar Energy in the Cold War; Oxford University Press: Oxford, UK, 2016; p. 53. [Google Scholar]
  17. Kasaeian, A.; Nouri, G.; Ranjbaran, P.; Wen, D. Solar collectors and photovoltaics as combined heat and power systems: A critical review. Energy Conv. Manag. 2018, 156, 688–705. [Google Scholar] [CrossRef]
  18. Nayak, P.K.; Mahesh, S.; Snaith, H.J.; Cahen, D. Photovoltaic solar cell technologies: analysing the state of the art. Nat. Rev. Mater. 2019, 4(4), 269–285. [Google Scholar] [CrossRef]
  19. Al Dakheel, J.; Tabet Aoul, K. Building Applications, opportunities and challenges of active shading systems: A state-of-the-art review. Energies 2017, 10(10), 1672. [Google Scholar] [CrossRef]
  20. Unguresan, P.V.; Porumb, R.A.; Petreus, D.; Pocola, A.G.; Pop, O.G.; Balan, M.C. Orientation of facades for active solar energy applications in different climatic conditions. J. Energy Eng. 2017, 143(6), 04017059. [Google Scholar] [CrossRef]
  21. Luo, Y.; Zhang, L.; Bozlar, M.; Liu, Z.; Guo, H.; Meggers, F. Active building envelope systems toward renewable and sustainable energy. Renew. Sustain. Energy Rev. 2019, 104, 470–491. [Google Scholar] [CrossRef]
  22. Musameh, H.; Alrashidi, H.; Al-Neami, F.; Issa, W. Energy performance analytical review of semi-transparent photovoltaics glazing in the United Kingdom. J. Build. Eng. 2022, 54, 104686. [Google Scholar] [CrossRef]
  23. Li, D.H.; Aghimien, E.I.; Alshaibani, K. An Analysis of Real-Time Measured Solar Radiation and Daylight and Its Energy Implications for Semi-Transparent Building-Integrated Photovoltaic Façades. Buildings 2023, 13(2), 386. [Google Scholar] [CrossRef]
  24. Ioan nidis, Z.; Rounis, E.-D.; Athienitis, A.; Stathopoulos, T. Double skin façade integrating semi-transparent photovoltaics: Experimental study on forced convection and heat recovery. Appl. Energy 2020, 278, 115647. [Google Scholar] [CrossRef]
  25. Haselsteiner, E. Robust Architecture. Low Tech Design; DETAIL: Munich, Germany, 2023; pp. 68–71. [Google Scholar]
  26. Vassiliades, C.; Agathokleous, R.; Barone, G.; Forzano, C.; Giuzio, G.; Palombo, A.; Buonomano, A.; Kalogirou, S. Building integration of active solar energy systems: A review of geometrical and architectural characteristics. Renew. Sustain. Energy Rev. 2022, 164, 112482. [Google Scholar] [CrossRef]
  27. Rostagni, C. Luigi Moretti 1907–1973; Mondadori Electa: Milano, Italy, 2008; p. 18. [Google Scholar]
  28. Jabi, W. Parametric design for architecture; Hachette: London, UK, 2013; pp. 9–11. [Google Scholar]
  29. Sutherland, I.E. Sketchpad: A man-machine graphical communication system. In Proceedings of the Spring Joint Computer Conference, Cambridge, UK, 21–23 May 1963. [Google Scholar]
  30. Schumacher, P. Parametricism: A new global style for architecture and urban design. Archit. Des. 2009, 79(4), 14–23. [Google Scholar] [CrossRef]
  31. Assai, R. Parametric Design, A Historical and Theoretical Overview. In Proceedings of the International Conference on Emerging Technologies in Architectural Design (ICETAD2019), Toronto, Canada, 17–18 October 2019. [Google Scholar]
  32. Eltaweel, A.; Yuehong, S. Parametric design and daylighting: A literature review. Renew. Sustain. Energy Rev. 2017, 73, 1086–1103. [Google Scholar] [CrossRef]
  33. Di Paola, F.; Mercurio, A. Parametric Experiments in Architecture; Springer: Cham, Switzerland, 2023; p. 3. [Google Scholar]
  34. Ramzy, N. Sustainable spaces with psychological values: Historical architecture as reference book for biomimetic models with biophilic qualities. ArchNet-IJAR 2015, 9(2), 248–267. [Google Scholar] [CrossRef]
  35. Sackmann, E. Biological membranes architecture and function. Structure and dynamics of membranes 1995, 1, 1–63. [Google Scholar]
  36. Carl, T.; Stepper, F.; Schein, M. Solar Spline. Computing for a better tomorrow 2018, 149. [Google Scholar]
  37. Smith, P. BIM implementation–global strategies. Procedia Eng. 2014, 85, 482–492. [Google Scholar] [CrossRef]
  38. Revit Software. Available online: https://www.autodesk.com/products/revit/overview?plc=RVT&term=1-YEAR&support=ADVANCED&quantity=1 (accessed on (accessed on 14 April 2023).
  39. Hanwha Q CELLS’. Available online: https://qcells.com/kr/get-started/complete-energy-solution/solar-panel-detail?slrPnlId=SRPL211201071943005 (accessed on 28 October 2023).
  40. Calabrò, E. An algorithm to determine the optimum tilt angle of a solar panel from global horizontal solar radiation. J. Renew. Energy 2013, 2013. [Google Scholar] [CrossRef]
  41. Dynamo Software. Available online: https://primer.dynamobim.org/en/02_Hello-Dynamo/2-1_launching_dynamo.html (accessed on 20 April 2023).
  42. Thabet, W.; Lucas, J.; Srinivasan, S. Linking life cycle BIM data to a facility management system using Revit Dynamo. Organ. Technol. Manag. Constr. 2022, 14(1), 2539–2558. [Google Scholar] [CrossRef]
  43. Insight Software. Available online: https://www.autodesk.com/products/insight/overview (accessed on 2 May 2023).
  44. Yoo, S.H. Simulation for an optimal application of BIPV through parameter variation. Sol. Energy 2011, 85(7), 1291–1301. [Google Scholar] [CrossRef]
Figure 1. Flowchart of methodology.
Figure 1. Flowchart of methodology.
Preprints 95456 g001
Figure 2. Layout of solar-panel-integrated modules.
Figure 2. Layout of solar-panel-integrated modules.
Preprints 95456 g002
Figure 3. Principle of flexible solar-panel-integrated module.
Figure 3. Principle of flexible solar-panel-integrated module.
Preprints 95456 g003
Figure 4. Schematic of the algorithm, with the width set to 500 mm and the length set to 700 mm for solar panel “Module 1” and an optimal tilt angle of 15.5° given as input.
Figure 4. Schematic of the algorithm, with the width set to 500 mm and the length set to 700 mm for solar panel “Module 1” and an optimal tilt angle of 15.5° given as input.
Preprints 95456 g004
Figure 5. Solar panel module simulation generated by entering the optimal tilt angle of 35.3° corresponding to September 2023 into the Insight software
Figure 5. Solar panel module simulation generated by entering the optimal tilt angle of 35.3° corresponding to September 2023 into the Insight software
Preprints 95456 g005
Figure 6. Virtual image of a shading structure with colored solar panels.
Figure 6. Virtual image of a shading structure with colored solar panels.
Preprints 95456 g006
Table 1. Optimal tilt angle from January to December for Seoul (37.5° N, 126.9° E).
Table 1. Optimal tilt angle from January to December for Seoul (37.5° N, 126.9° E).
Month Coefficients Optimal tilt angle (deg)
𝑎1𝑎2 β
January 31.33 0.68 56.8°
February 16.25 0.86 48.5°
March 6.80 0.84 38.3°
April -6.07 0.87 26.6°
May -14.95 0.87 17.7°
June -19.27 0.87 13.4°
July -15.65 0.83 15.5°
August -4.23 0.75 23.9°
September 6.42 0.77 35.3°
October 15.84 0.83 47.0°
November 23.61 0.84 55.1°
December 30.56 0.76 59.1°
Table 2. Solar energy generation according to the optimal tilt angle from January to December
Table 2. Solar energy generation according to the optimal tilt angle from January to December
Month Total area of solar modules Optimal tilt angle (deg) Energy generation
m−2 β kWh·month−1
January 20 56.8° 2,112
February 20 48.5° 2,442
March 20 38.3° 3,169
April 20 26.6° 2,654
May 20 17.7° 3,173
June 20 13.4° 3,474
July 20 15.5° 1,979
August 20 23.9° 2,877
September 20 35.3° 2,899
October 20 47.0° 2,713
November 20 55.1° 2,115
December 20 59.1° 1,963
Total energy generation 31,570 kWh·year−1
Disclaimer/Publisher’s Note: The statements, opinions and data contained in all publications are solely those of the individual author(s) and contributor(s) and not of MDPI and/or the editor(s). MDPI and/or the editor(s) disclaim responsibility for any injury to people or property resulting from any ideas, methods, instructions or products referred to in the content.
Copyright: This open access article is published under a Creative Commons CC BY 4.0 license, which permit the free download, distribution, and reuse, provided that the author and preprint are cited in any reuse.
Prerpints.org logo

Preprints.org is a free preprint server supported by MDPI in Basel, Switzerland.

Subscribe

Disclaimer

Terms of Use

Privacy Policy

Privacy Settings

© 2026 MDPI (Basel, Switzerland) unless otherwise stated