Submitted:
29 September 2023
Posted:
29 September 2023
You are already at the latest version
Abstract
Keywords:
1. Introduction
2. Materials and Methods
2.1. Material
2.2. Preparation of Amber Specimen
2.3. Techniques of Investigation
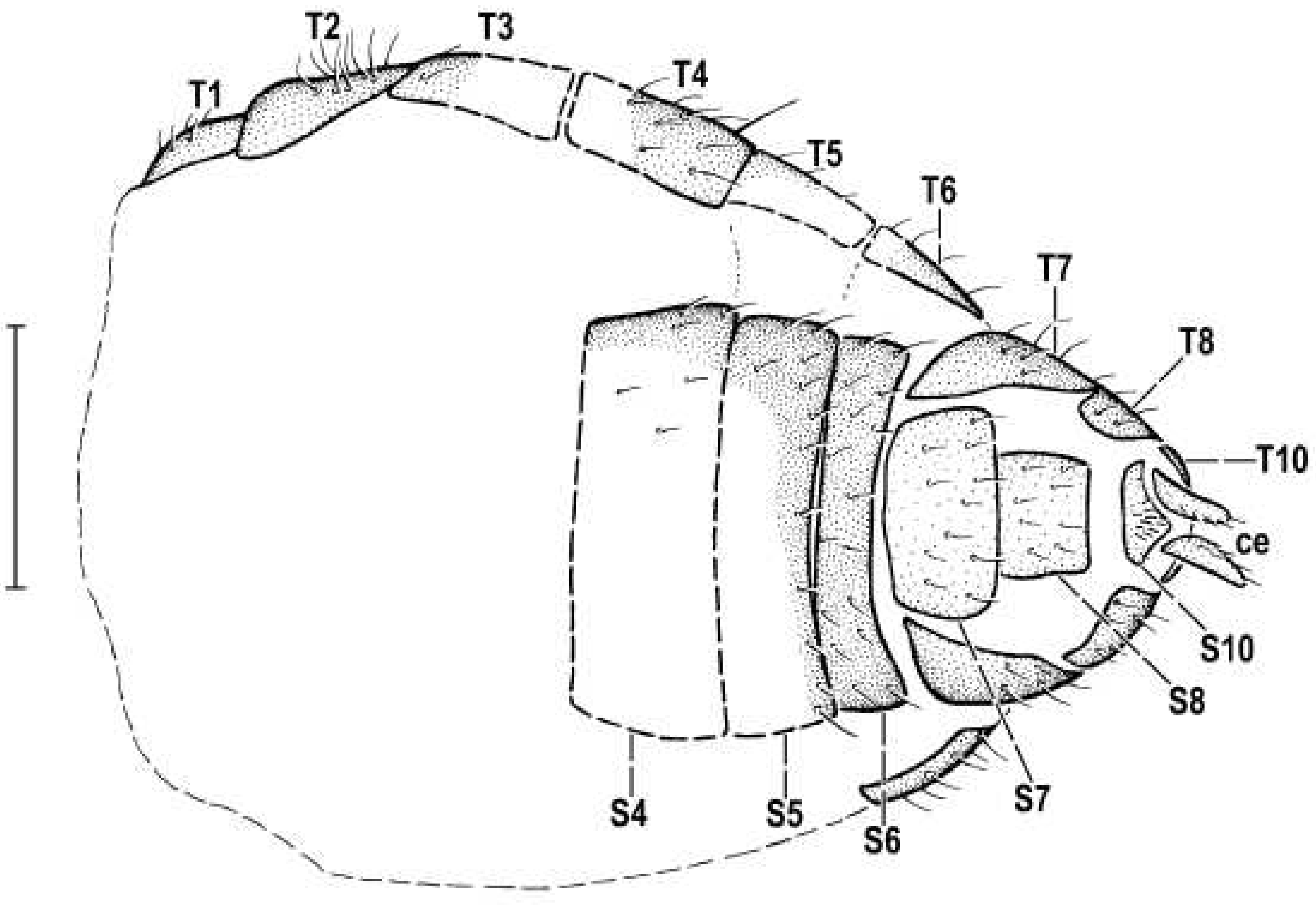
2.4. Morphological Terminology
3. Results
3.1. Systematic Palaeontology
3.2. Hemilauxania parvula sp. nov. (Figure 1 and Figure 3–8)
4. Discussion
4.1. Relationships and classification of Hemilauxania
4.2. Palaeohabitat and palaeobiology of Hemilauxania
4.3. Age of Hemilauxania and other oldest fossils in Schizophora
Author Contributions
Funding
Data Availability Statement
Acknowledgments
Conflicts of Interest
References
- Gaimari, S.D.; Miller, R.M. Lauxaniidae (Lauxaniidae Flies). In Manual of Afrotropical Diptera; Kirk-Spriggs, A.H, Sinclair, B.J., Eds.; South African National Biodiversity Institute: Pretoria, South Africa, 2021; Volume 3, Brachycera–Cyclorrhapha, pp. 1757–1781.
- Hennig, W. Die Acalyptratae des Baltischen Bernsteins und ihre Bedeutung für die Erforschung der phylogenetischen Entwicklung dieser Dipteren-Gruppe. Stuttg. Beiträge Nat. 1965, 145, 1–215.
- Von Tschirnhaus, M.; Hoffeins, C. Fossil flies in Baltic amber—Insight in the diversity of Tertiary Acalyptratae (Diptera, Schizophora), with new morphological characters and a key based on 1000 collected inclusions. Denisia 2009, 26, 171–212.
- Hoffeins, C. (Hamburg, Germany). Personal communication, 2023.
- Hong, Y.-C. Eocene fossil Diptera Insecta in amber of Fushun coalfield. Geological Publishing House: Beijing, China, 1981; pp. 1–166 + plates 1–27 (in Chinese only).
- Hong, Y.-C. Amber insects of China. Huayu Nature Book Trade Co. Ltd: Beijing, China, 2002, pp. 1–653 + plates 1–48 (in Chinese only).
- Hong, Y.-C. Atlas of amber insects of China. Henan Scientific and Technological Publishing House: Zhengzhou, China, 2002, pp. 1–394 (in Chinese only).
- Melander, A.L. A report on some Miocene Diptera from Florissant, Colorado. Am. Mus. Novit. 1949, 1407, 1–63. http://npshistory.com/publications/flfo/amn-n1407-1949.pdf.
- Scudder, S.H. The insects of the Tertiary beds at Quesnel (British Columbia). Rep. Prog. Geol. Surv. Terr. 1877, 1875–1876, 266–280. https://publications.gc.ca/collections/collection_2019/rncan-nrcan/M41-1-1-1876-eng.pdf.
- Shewell, G.E.; 87. Lauxaniidae. In Manual of Nearctic Diptera. McAlpine J. F., Peterson, B.V., Shewell, G.E., Teskey, H.J., Vockeroth, J.R., Wood, D.M., Eds.; Minister of Supply and Services: Ottawa, Canada; Volume 2, Agriculture Canada Monograph No. 28, pp. 993–1006.
- Evenhuis, N.L. Catalogue of the fossil flies of the world (Insecta: Diptera). Backhuys Publisher: Leiden, The Netherlands, pp. 1–600.
- Brasero, N.; Nel, A.; Michez, D. Insects from the Early Eocene amber of Oise (France): diversity and palaeontological significance. Denisia 2009, 26, 41–52.
- Doitteau, G.; Nel, A. Chironomid midges from early Eocene amber of France (Diptera: Chironomidae). Zootaxa 2007, 1404, 1–66.
- Blagoderov, V.; Hippa, H.; Nel, A. Parisognoriste, a new genus of Lygistorrhinidae (Diptera, Sciaroidea) from the Oise amber with redescription of Palaeognoriste Meunier. ZooKeys 2010, 50, 79–90. [CrossRef]
- Myskowiak, J.; Nel, A. A new genus and species of ibis fly in the Lowermost Eocene amber of Oise (France) (Diptera: Athericidae). Zootaxa 2014, 3869(4): 372–382. [CrossRef]
- Garrouste, R.; Azar, D.; Nel, A. The oldest accurate record of Scenopinidae in the Lowermost Eocene amber of France (Diptera: Brachycera). Zootaxa 2016, 4093(3): 444–450. [CrossRef]
- Nel, A.; Perreau, Z.; Doitteau, G. The oldest representative of the modern snipe fly genus Symphoromyia (Diptera: Rhagionidae). Zootaxa 2016, 4196(1), 144–150. [CrossRef]
- Bramuzzo, S.; Coty, D.; Nel, A. A new species of Ferneiella from the Eocene French amber (Diptera: Scatopsidae). Zootaxa 2017, 4350(1), 177–184. [CrossRef]
- Bramuzzo, S.; Nel, A. Youngest representative of the extinct genus Microphorites in the Eocene amber of France (Diptera: Dolichopodidae: Microphorinae). Zootaxa 2017, 4231(4), 590–594. [CrossRef]
- Myskowiak, J.; Garrouste, R.; Nel, A. Eodromyia pumilio gen. et sp. nov., a new empidoid fly from the Earliest Eocene amber of France (Diptera: Hybotidae: Tachydromiinae). Zootaxa 2018, 4379(2): 279–286. [CrossRef]
- Camier, M.; Nel, A. First Mycetobiinae of the lowermost Eocene Oise amber (France) (Diptera: Anisopodidae). Palaeoentomology 2019, 2(3), 245–250. [CrossRef]
- Camier, M.; Nel, A. The oldest fungus gnat of the tribe Exechiini in the lowermost Eocene Oise amber (Diptera: Mycetophilidae). Zootaxa 2020, 4722(1): 91–98. [CrossRef]
- Roháček, J.; Hoffeins, C. Clusiomitidae, a new family of Eocene fossil Acalyptratae, with revision of Acartophthalmites Hennig and Clusiomites gen. nov. (Diptera). Insects 2021, 12(12) 1123: 1–52. [CrossRef]
- Grimaldi, D.A.; Singh, H. The extinct genus Pareuthychaeta in Eocene ambers (Diptera: Schizophora: Ephydroidea). Can. Entomologist 2012, 144(1): 17–28.
- Rust, J.; Singh, H.; Rana, R.S.; McCanna, T.; Singh, L.; Anderson, K.; Sarkare, N.; Nascimbene, P.C.; Stebner, F.; Thomas, J.C.; Solorzano Kraemer, M.; Williams, C.J.; Engel, M.S.; Sahni, A.; Grimaldi, D. Biogeographic and evolutionary implications of a diverse paleobiota in amber from the early Eocene of India. Proc. Natn. Acad. Sci. U. S. Am. 2010, 107, 18360–18365.
- Roháček, J.; Hammel, J.U.; Baranov, V. Christelenkidae, a new extinct family based on a new taxon from Eocene Baltic amber (Diptera: Acalyptratae), with X-ray synchrotron microtomography imaging of its structures. Arthropod Syst. Phyl., 2023, 81, 475–498. [CrossRef]
- Nel, A.; Garrouste, R.; Engel, M.S. The earliest Pupipara (Diptera: Hippoboscoidea): A new genus and species from the lower Eocene of the Green River Formation. Palaeoentomology 2023, 6(1): 58–63. [CrossRef]
- Ohlhoff, R. Bernstein aus Frankreich. In Bernstein Magazin, Ausgabe 2022; Ribbecke, H.-W., Ed.; Verein zur Förderung des Geologisch-Paläontologischen Museums der Universität Hamburg e.V. „Arbeitskreis Bernstein“: Hamburg, Germany, 2022; pp. 40–41.
- Hoffeins, H.W. On the preparation and conservation of amber inclusions in artificial resin. Pol. Pismo Entomol. 2001, 70, 215–219.
- Roháček, J. New amber fossil Anthomyzidae (Diptera): An unexpected Eocene diversity. J. Syst. Palaeontol. 2013, 11, 431–473. [CrossRef]
- Cumming, J.M.; Wood, D.M. 2. Adult morphology and terminology. In Manual of Afrotropical Diptera. Introductory chapters and Keys to Diptera Families; Kirk-Spriggs, A.H., Sinclair, B.J., Eds.; Suricata 4—South African National Biodiversity Institute: Pretoria, South Africa, 2017; Volume 1, pp. 89–133.
- Hennig, W. Neue Übersicht über die aus dem Baltischen Bernstein bekannten Acalyptratae (Diptera: Cyclorrhapha). Stuttg. Beiträge Nat. 1969, 209, 1–42.
- Hennig, W. Neue Untersuchungen über die Familien der Diptera Schizophora. Stuttg. Beiträge Nat. 1971, 226, 1–76.
- Papp, L.; Shatalkin, A.I. 3.37. Family Lauxaniidae. In Contribution to a manual of Palaearctic Diptera; Papp, L., Darvas, B., Eds.; Science Herald: Budapest, 1998; Volume 3, pp. 383–400.
- Semelbauer, M. Lauxaniidae – tieňovkovité (Diptrera, Cyclorrhapha). Veda: Bratislava, Slovakia, 2016, pp. 1–183 (in Slovak).
- Gaimari, S.D.; Silva, V.C. 71. Lauxaniidae (Lauxaniid flies). In Manual of Central American Diptera; Brown, B.V.; Borkent, A.; Cumming, J.M.; Wood, D.M.; Woodley, N.E.; Zumbado, M.A., Eds.; NRC Research Press: Ottawa, Canada, 2010; Volume 2, pp. 971–995.
- Miller, R.M. Ecology of Lauxaniidae (Diptera: Acalyptratae) I. Old and new rearing records with biological notes and discussion. Annls Natal Mus. 1977, 23(1), 215–238.
- Alekseev, V.I.; Alekseev, P.I. New approaches for reconstruction of the ecosystem of an Eocene amber forest. Biology Bulletin, 2016, 43, 75–86. https://link.springer.com/article/10.1134/S1062359016010027.
- Szwedo, J. Life in the Eocene forests. In World Amber Council Seminar. Gdańsk the World Amber Capital, Gdańsk (Poland), May 18-19.2012; Pytlos, R., Szadziewski, R., Zbierska, E., Adamska, G., Dmowska, A., Eds.; Mayor’s Office for City Promotion, City Hall of Gdańsk, Gdańsk, Poland, 2012; pp. 56–70.
- Słodkowska, B.; Kramarska, R.; Kasiński, J.R. The Eocene Climatic Optimum and the formation of the Baltic amber deposits. In The international amber researcher symposium Amber. Deposits–collections–the market. Gdańsk (Poland), 22–23.03.2013; Kosmowska-Ceranowicz, B., Gierlowski, W., Sontag, E., Eds.; Gdańsk International Fair Co. Amberif: Gdańsk, Poland, 2013; pp. 28–32.
- Sadowski. E.-M.; Schmidt, A.R.; Denk, T. Staminate inflorescences with in situ pollen from Eocene Baltic amber reveal high diversity in Fagaceae (oak family). Willdenowia 2020, 50, 405–517. [CrossRef]
- Nel, A; Brasero, N. Oise Amber. In Biodiversity of fossils in amber from the major world deposits; Penney, D., Ed.; Siri Scientific Press: Manchester, U.K., 2010; pp. 137–148.
- Nohra, Y.; Perrichot, V.; Jeanneau, L.; Le Pollès; L.; Azar, D. Chemical characterization and botanical origin of French ambers. J. Nat. Products 2015, 78, 1284–1293. [CrossRef]
- Ritzkowski, S.: Das geologische Alter der bernsteinführenden Sedimente in Sambia (Bezirk Kaliningrad), bei Bitterfeld (Sachsen-Anhalt) und bei Helmstedt (SE-Niedersachsen). In Investigations into amber. Proceedings of the International Interdisciplinary Symposium: Baltic amber and other fossil resins, 2-6 September 1997; Kosmowska-Ceranowicz, B., Paner, H., Eds.; The Archaeological Museum in Gdansk, Museum of the Earth, Polish Academy of Sciences: Gdańsk, Poland, 1999; pp. 33–40.
- Wolfe, A.P.; McKellar, R.C.; Tappert, R.; Sodhi, R.N.S.; Muehlenbachs, K. Bitterfeld amber is not Baltic amber: three geochemical tests and further constraints on the botanical affinities of succinite. Rev. Palaeobot. Palynol. 2016, 225, 21–32.
- Grimaldi, D.; Engel M.S. Evolution of the Insects. Cambridge University Press: New York, USA, 2005; pp. 1–755.
- Renne, P.R; Deino, A.L.; Hilgen, F.J.; Kuiper, K.F.; Mark, D.F.; Mitchell III, W.S.; Morgan, L.E.; Mundil, R.; Smit J. Time Scales of Critical Events Around the Cretaceous-Paleogene Boundary. Science, 2013, 339(6120), 684–687. [CrossRef]
- Wiegmann, B.M.; Trautwein, M.D.; Winkler, I.S.; Barr, N.B.; Kim, J.-W.; Lambkin, C.; Bertone, M.A.; Cassel, B.K.; Bayless, K.M.; Heimberg, A.M.; Wheeler, B.M.; Peterson, K.J.; Pape, T.; Sinclair, B.J.; Skevington, J.H.; Blagoderov, V.; Caravas, J.; Kutty, S.N.; Schmidt-Ott, U.; Kampmeier, G.E.; Thompson, F.C.; Grimaldi, D.A.; Beckenbach, A.T.; Courtney, G.W.; Friedrich, M.; Meier, R.; Yeates, D.K. Episodic radiations in the fly tree of life. Proc. Natn. Acad. Sci. U. S. Am. 2011, 108 (14), 5690-5695. [CrossRef]








Disclaimer/Publisher’s Note: The statements, opinions and data contained in all publications are solely those of the individual author(s) and contributor(s) and not of MDPI and/or the editor(s). MDPI and/or the editor(s) disclaim responsibility for any injury to people or property resulting from any ideas, methods, instructions or products referred to in the content. |
© 2023 by the authors. Licensee MDPI, Basel, Switzerland. This article is an open access article distributed under the terms and conditions of the Creative Commons Attribution (CC BY) license (http://creativecommons.org/licenses/by/4.0/).
