Preprint
Article

This version is not peer-reviewed.

The Structural Properties of (2,6)-Fullerenes

A peer-reviewed article of this preprint also exists.

Submitted:

20 September 2023

Posted:

25 September 2023

You are already at the latest version

Abstract
A (2,6)-fullerene F is a 2-connected cubic planar graph whose faces are only 2-length and 6-length. Furthermore, it consists of exactly three 2-length faces by Euler's formula. The (2,6)-fullerene comes from Do\v{s}li\'{c}'s (k,6)-fullerene, a 2-connected 3-regular plane graph with only k-length faces and hexagons. Do\v{s}li\'{c} showed that the (k,6)-fullerenes only exist for k = 2, 3, 4 or 5, and some of the structural properties of (k,6)-fullerene for k = 3, 4 or 5 are studied. In this paper, we study the properties of (2,6)-fullerene. We obtain that the edge-connectivity of (2,6)-fullerenes is 2. Every (2,6)-fullerene is 1-extendable, but not 2-extendable. F is said to be k- resonant (k>0) if the deleting of any i (0=< i<= k) disjoint even faces of F results in a graph with at least one perfect matching. We have that every (2,6)-fullerene is 1-resonant. An edge set S of F is called an anti-Kekule set if F-S is connected and has no perfect matchings, where F-S denotes the subgraph obtained by deleting all edges in S from F. The anti-Kekule number of F, denoted by ak(F), is the cardinality of a smallest anti-Kekule set of F. We have that every (2,6)-fullerene F with |V(F)|>6 has anti-Kekule number 4. Further we mainly prove that there exists a (2,6)-fullerene F having f_{F} hexagonal faces, where f_{F} is related to the two parameters n, m.
Keywords: 
;  ;  ;  ;  ;  

1. Introduction

A ( k , 6 ) - fullerene is a 2-connected cubic planar graph whose faces are only k - length and 6-length. Došlić showed that all ( k , 6 ) - fullerenes only exist for k = 2 , 3, 4 or 5 and are 1-extendable [1]. A ( 5 , 6 ) - fullerene is the usual fullerene as the molecular graph of a sphere carbon fullerene. A ( 4 , 6 ) - fullerene is the molecular graph of a boron-nitrogen fullerene. The structural properties, such as connectivity, extendability, resonance, anti-Kekulé number, are very useful for studying the number of perfect matchings in a graph[2,3]. And the number of perfect matchings is closely related to the stability of molecular graphs[4,5,6,7,8]. Therefore, many articles have studied the structural properties of graphs in both mathematics and chemistry [9,10,11]. Fullerene graphs are bicritical, cyclically 5-edge-connected, 2-extendable and 1-resonant [12,13,14,15]; Boron-nitrogen fullerene graphs are bipartite, 3-connected, 1-extendable, 2-resonant, and have the forcing number at least two [16,17]; A ( 3 , 6 ) - fullerene is 1-extendable, 1-resonant and has the connectivity 2 or 3 [18,19]. This paper is mainly concerned with the structural properties of ( 2 , 6 ) - fullerenes.
A ( 2 , 6 ) - fullerene F is a cubic planar graph such that every face is either 2 - length or 6 - length. A graph with two vertices and n parallel edges joining them is denoted by n × K 2 . The smallest ( 2 , 6 ) - fullerene is 3 × K 2 . A p l a n e g r a p h is a graph that can be embedded in the plane such that its edges intersect only at their ends. Any such embedding divides the plane into connected regions called f a c e s . Two different faces f 1 ,   f 2 are a d j a c e n t if their boundaries have an edge in common. A face is said to be i n c i d e n t w i t h the vertices and edges in its boundary, and vice versa. An edge is said to be i n c i d e n t w i t h the ends of the edge, and vice versa. Two vertices which are incident with a common edge are a d j a c e n t , and two distinct adjacent vertices are n e i g h b o u r s . If S is a set of vertices in a graph F, the set of all neighbours of the vertices in S is denoted by N ( S ) , and | N ( S ) | denotes the number of neighbours of S.
Let F be a ( 2 , 6 ) - fullerene graph with vertex-set V ( F ) and edge-set E ( F ) . We denote the number of vertices and edges in F by | V ( F ) | and | E ( F ) | . For H H , we let F H be the subgraph of F obtained from F by removing the elements in H. A m a t c h i n g of F is a set of disjoint edges M of F. A perfect matching of F is a matching M that covers all vertices of F. A perfect matching of a graph coincides with a Kekulé structure of some molecular graph in organic chemistry. A set H of disjoint even faces of a graph F is a r e s o n a n t p a t t e r n if F has a perfect matching M such that the boundary of each face in H is an M - alternating cycle. F is said to be k-resonant ( k 1 ) if any i ( 0 i k ) disjoint even faces of F form a resonant pattern. Moreover, F is called n - e x t e n d a b l e ( | V ( F ) | 2 n + 2 ) if any matching of n edges is contained in a perfect matching of F. F is b i c r i t i c a l if F contains an edge and F u v contains a perfect matching, for every pair of distinct vertices u , v V ( F ) . In this paper, we show that every ( 2 , 6 ) - fullerene is 1-extendable, 1-resonant but not 2-extendable, bicritical.
The anti-Kekulé set of a ( 2 , 6 ) - fullerene F with perfect matchings is an edge set S E ( F ) such that F S is connected and has no perfect matchings. The anti-Kekulé number of F, denoted by a k ( F ) , is the cardinality of a smallest anti-Kekulé set of F. It is NP-complete to find the smallest anti-Kekulé set of a graph. Moreover, it has been shown that the anti-Kekulé set of a graph significantly affects the whole molecule structure by the valence bond theory. We have known the ( 5 , 6 ) , ( 4 , 6 ) , and ( 3 , 6 ) - fullerenes have the anti-Kekulé numbers 4, 4 and 3 respectively. In this paper, We show that every ( 2 , 6 ) - fullerene F has the anti-Kekulé number 4 with | V ( F ) | > 6 .

2. Main results

An edge-cut of F is a subset of edges E E ( F ) such that F E is disconnected. An k - e d g e - c u t is an edge-cut with k edges. The e d g e - c o n n e c t i v i t y of F, denoted by κ ( F ) , is equal to the minimum cardinality of edge-cuts. F is k - e d g e - c o n n e c t e d if F cannot be separated into at least two components by removing less than k edges.
Lemma 1.
The ( 2 , 6 ) - fullerene F has edge-connectivity 2, where | V ( F ) | > 2 .
Proof. 
Since every edge of F is incident with a 2-length face or a 6-length face, there is no cut edge in F. Therefore, F is 2-edge-connected. For one 2-length face C in F, denoted by C = x y x . Then either F 3 × K 2 or the two edges incident with x and y respectively other than x y form an 2-edge-cut of F. Therefore, κ ( F ) = 2 , where | V ( F ) | > 2 . □
We call an edge e is i n c i d e n t t o a subgraph H if | V ( e ) V ( H ) | = 1 .
Lemma 2.
Every 2-edge-cut of a ( 2 , 6 ) - fullerene isolates a 2-length face.
Proof. 
Let F be a ( 2 , 6 ) - fullerene. If | V ( F ) | = 2 , then F 3 × K 2 , and the conclusion holds as F has no 2-edge-cut. So next we suppose | V ( F ) | > 2 . By Lemma 1, F has an 2-edge-cut. Let E = { e 1 , e 2 } be an 2-edge-cut whose deletion separates F into two components, F , F . Then E is a matching of F as F is 3-regular and has edge-connectivity 2. Let every edge e i has one endpoint, say x i , on F , the other endpoint, say y i , on F , i = 1 , 2 . Suppose the outer face of F is exactly the outer face of F, thus F lies in some inner face of F . Then there are two hexagons, denoted by f 1 , f 2 , such that both f 1 and f 2 are incident with x 1 , x 2 , y 1 , y 2 . If one of F and F contains a cut edge, without losing generality, assume that F contains a cut edge e = u v , then F e has two connected components, say F 1 , F 2 . Then both e 1 and e 2 cannot be incident to the same component F i ( i = 1 , 2 ), otherwise, there exists a cut edge e in F, a contradiction. Then V ( f 1 ) = { u , v , x 1 , y 1 , x 2 , y 2 } , V ( f 2 ) = { u , v , x 1 , y 1 , x 2 , y 2 } . That is, all of F 1 , F 2 and F are 2-length faces and we get a ( 2 , 6 ) - fullerene with six vertices, thus the conclusion holds. If both F and F contain cut edges, then there is a face with length more than 6, a contradiction. If neither F nor F has a cut edge, then F and F are 2-edge-connected, and in each of them there is only one face that is not 2-length or 6-length, and we denote these two boundaries of the exceptional faces by C and C , respectively. Let v , e , and f be the number of vertices, edges and faces in F , respectively. Let l be the length of C , and f 2 , f 6 be the number of 2-length faces, 6-length faces in F , respectively. By Euler’s formula and the structure of F , it follows that
3 v = 2 e + 2 v e + f 2 + f 6 = 1 2 f 2 + 6 f 6 + l = 2 e .
By (1), we obtain that
l = 4 f 2 2 .
Since F has no face with length more than 6, the two faces f 1 , f 2 each has at most two additional vertices on C . Hence 2 l 6 . By (2), we can get 1 f 2 2 . If f 2 = 1 , we have l = 2 , which means that F is a 2-length face, thus the conclusion holds. If f 2 = 2 , then l = 6 and there are no additional vertices on C , which implies that F is a 2-length face, thus the conclusion holds. Therefore, every 2-edge-cut of a ( 2 , 6 ) - fullerene isolates a 2-length face.
In [1], Došlić proved that the ( k , 6 ) - fullerene is 1-extendable for k = 3 , 4 , 5 . In fact, we may observe that the conclusions remain valid for k = 2 .
Lemma 3
([1]). Let F be a ( 2 , 6 ) - fullerene graph. Then F is 1-extendable.
The resonance of faces of a plane bipartite graph is closely related to 1-extendable property. It was revealed that every face (including the infinite one) of a plane bipartite graph G is resonant if and only if G is 1-extendable [20]. Combing with Lemma 3, we can know every ( 2 , 6 ) - fullerene is 1-resonant.
Corollary 1.
Every ( 2 , 6 ) - fullerene is 1-resonant.
Moreover, we can know no ( 2 , 6 ) - fullerene is 2-extendable.
Theorem 1.
No ( 2 , 6 ) - fullerene is 2-extendable.
Proof. 
Let F be a ( 2 , 6 ) - fullerene graph. Let f be a 2-length face of F with the boundary v 1 v 2 v 1 . By the definition of extendability, we know that | V ( F ) | 4 . Then there exist two vertices u 1 , u 2 of F which are different from v 1 , v 2 such that u 1 v 1 E ( F ) and u 2 v 2 E ( F ) . Since the four vertices u 1 , u 2 , v 1 , v 2 must be contained in the same hexagon of F, there is a vertex u 3 u 1 , u 3 v 2 of F such that u 2 u 3 E ( F ) . Obviously, u 1 v 1 , u 2 u 3 is a matching and cannot be contained in a perfect matching of F. Thus no ( 2 , 6 ) - fullerene is 2-extendable.
Similarly, we can show no ( 2 , 6 ) - fullerene is bicritical.
Theorem 2.
No ( 2 , 6 ) - fullerene is bicritical.
Proof. 
Let F be a ( 2 , 6 ) - fullerene graph. Let f be a 2-length face of F with the boundary v 1 v 2 v 1 . When F 3 × K 2 , then F v 1 v 2 has no perfect matchings. When F 3 × K 2 , then there exists a vertex u of F which is different from v 2 such that u v 1 E ( F ) . Then F u v 2 has a single vertex v 1 as a component. So F u v 2 has no perfect matchings. That is, F is not bicritical.
Theorem 3
(Tutte’s Theorem [21]). A graph G has a perfect matching if and only if c o ( G U ) | U | for any U V ( G ) , where c o ( G U ) is the number of odd components of G U .
Theorem 4
(Hall’s Theorem [21]). Let F be a bipartite graph with bipartition W and B. Then F has a perfect matching if and only if | W | = | B | and for any U W , | N ( U ) | | U | holds.
For the connected cubic simple bipartite graph, we can know its anti-Kekulé number is 4 [22].
Theorem 5
([22]). If G is a connected cubic simple bipartite graph, then a k ( F ) = 4 .
The above result can be used to determine the anti-Kekulé numbers of some interesting graphs, such as, ( 4 , 6 ) - fullerenes [22], toroidal fullerenes [22] etc. Theorem 5 is also valid for ( 2 , 6 ) - fullerene when | V ( F ) | > 6 .
Theorem 6.
Let F be a ( 2 , 6 ) - fullerene graph with | V ( F ) | > 6 . Then a k ( F ) = 4 .
Proof. 
Let F be a ( 2 , 6 ) - fullerene. For any vertex u in F, if | N ( u ) | = 1 , then F 3 × K 2 (see Figure 1(a) the graph 3 × K 2 ). For any vertex u in F, if | N ( u ) | = 2 , then F F 6 (see Figure 1(b) the graph F 6 ). We can easily know that both 3 × K 2 and F 6 cannot exist anti-Kekulé set. On the other hand, if we let n and f 6 be the number of vertices and the hexagons of F, respectively, then by the Euler’s formula and the formula of degree sum, we can get n = 2 f 6 + 2 . Thus if f 6 = 0 , then n = 2 and F 3 × K 2 . If f 6 = 1 , then n = 4 , which is impossible as every hexagonal face must contain six vertices. If f 6 = 2 , then n = 6 and F F 6 (see Figure 1(b) the graph F 6 ). Therefore, when | V ( F ) | 6 , there is no anti-Kekulé set in F.
Next, we discuss the anti-Kekulé number of F with | V ( F ) | > 6 . Then there is a vertex u in F and | N ( u ) | = 3 . Let x, y, z be the three neighbors of u. Let e 1 and e 2 be two edges incident with x other than u x , and let e 3 and e 4 be two edges incident with y other than u y . Since every face of F is 2-length or 6-length and F is 2-edge-connected, the four edges e 1 , e 2 , e 3 , e 4 are pairwise different. We claim that { e 1 , e 2 , e 3 , e 4 } is an anti-Kekulé set. It is obvious that F { e 1 , e 2 , e 3 , e 4 } has no perfect matchings as the two vertices x, y cannot be contained in the same perfect matching. If F { e 1 , e 2 , e 3 , e 4 } is no connected, then we obtain a cut edge u z in F, contradicting Lemma 1. Then we find an anti-Kekulé set of size 4 and so a k ( F ) 4 .
In the following, we show a k ( F ) 3 . Let A be an anti-Kekulé set of size a k ( F ) . Then F = F A is connected and has no perfect matchings. According to Theorem 3, there exists S V ( F ) such that c 0 ( F S ) > | S | . If we choose such an S with the maximum size, then F S has no even components. On the contrary, suppose that F S has an even component H. For any vertex v V ( H ) , c 0 ( H v ) 1 . Let S = S { v } , then c 0 ( F S ) c 0 ( F S ) + 1 > | S | + 1 = | S | , which is a contradiction to the choice of S.
Since | V ( F ) | is even, then c 0 ( F S ) | S | + 2 by parity. For any edge e A , adding e to F S will connect at most two odd components, then c o ( F + e S ) c 0 ( F S ) 2 . Since A is the smallest anti-Kekulé set of F, then F + e has a perfect matching for any edge e A . Hence, by Theorem 3, for the above subset S, c o ( F + e S ) | S | . Therefore, | S | c o ( F + e S ) c 0 ( F S ) 2 | S | . We obtain c 0 ( F S ) = | S | + 2 , and the edge e connects exactly two components of F S .
Let F i be the odd components of F S , where 1 i | S | + 2 . For F i F , let d ( F i ) denote the number of the set of edges with one end in F i and the other end in F F i . Denote the number of edges between S and the odd components by N. Since F is cubic, S sends out at most 3 | S | to N. In addition, i = 1 | S | + 2 F i sends out exactly i = 1 | S | + 2 d ( F i ) 2 a k ( F ) edges to N. Hence
N = i = 1 | S | + 2 d ( F i ) 2 a k ( F ) 3 | S | .
Because F is 2-edge-connected, d ( F i ) 2 for every i. On the other hand, since d ( F i ) = 3 | V ( F i ) | 2 | E ( F i ) | , which implies that d ( F i ) and | V ( F i ) | are of the same parity. Every F i sends odd number edges, hence d ( F i ) 3 . Substituting it into (3), we have
3 ( | S | + 2 ) 2 a k ( F ) i = 1 | S | + 2 d ( F i ) 2 a k ( F ) 3 | S | ,
the above inequality gives a k ( F ) 3 .
We find that the anti-Kekulé number of F is either 3 or 4. Suppose by the contrary that a k ( F ) = 3 . Then there exists an anti-Kekulé set A = { e 1 , e 2 , e 3 } of cardinality three in F, such that F A is connected and has no perfect matchings. Assume W and B are the bipartition of F. By Hall’s theorem, there exists U W such that
| N F A ( U ) | | U | 1
where N F A ( U ) means N ( U ) in F A . Moreover, for e i A , since A is the smallest anti-Kekulé set, F A + e i has a perfect matching. Immediately by Theorem 4, for the above subset U,
| U | | N F A + e i ( U ) |
for i = 1 , 2 and 3, where N F A + e i ( U ) means N ( U ) in F A + e i . In addition, the neighbors of U will be increased by at most one if we add an edge e i to F A . Hence
| N F A + e i ( U ) | | N F A ( U ) | + 1 .
Combining inequalities (4), (5) and (6), we have | U | = | N F A ( U ) | + 1 , and e i is incident with the vertices of U and B N F A + e i ( U ) in F A + e i . Thus the edges going out from U V ( F ) either goes into A or goes into the edges going out from N F A ( U ) . Then the number of edges between U and N F A ( U ) is 3 | U | 3 . Since | N F A ( U ) | = | U | 1 , 3 | N F A ( U ) | = 3 ( | N F A ( U ) | + 1 ) 3 = 3 | U | 3 , that is, there is no edge between N F A ( U ) and W U in F A . As a result, A is an edge-cut, which is a contradiction to the definition of anti-Kekulé set.
In [23], Grünbaum and Motzkin showed that (5,6)-fullerene and (4,6)-fullerene having n hexagonal faces exist for every non-negative integer n satisfying n 1 , and gave a similar result for (3,6)-fullerene. Therefore, we consider whether (2,6)-fullerene having n hexagonal faces also exists for any n. We tried to give a positive answer to this question, but we found that the conclusion seems quite elusive. Therefore, in this part, we mainly prove that there exists a ( 2 , 6 ) - fullerene F having f F hexagonal faces where f F is related to the two parameters n, m.
Let F be a ( 2 , 6 ) - fullerene. A f r a g m e n t H of F is a subgraph of F consisting of a cycle together with its interior and every inner face of H is also a face of F. We define ( H ) as the b o u n d a r y of the exterior face of H. A face f of F is a n e i g h b o r i n g f a c e of H if f is not a face of H and f has at least one edge in common with H. A path of length k (the number of edges) is called a k- p a t h . Denote by f H the number of hexagons of H.
Proposition 1.
In all the (2,6)-fullerenes, there exists a fragment, say G n , such that f G n = n 2 + n , n Z .
Proof. 
Let G 0 be a 2-length face and f 11 , f 12 be two neighboring faces of G 0 (see Figure 2(a)). Then f G 0 = 0 . Suppose that f 11 , f 12 are hexagons. Set G 1 = G 0 { f 11 , f 12 } , suppose both f 11 and f 12 are inner faces of G 1 and let f 21 , f 22 , f 23 , f 24 be four neighboring faces of G 1 along the clockwise direction such that f 21 is incident with the two consecutive 2-degree vertices on ( G 1 ) (see Figure 2(b)). Then f G 1 = 2 . Suppose that f 21 , f 22 , f 23 , f 24 are hexagons, pairwise different, and intersecting if and only if f 2 i , f 2 , i + 1 are intersecting at only one edge for i = 1 , 2 , 3 , 4 , f 25 = f 21 . Set G 2 = G 1 { f 21 , f 22 , f 23 , f 24 } . Suppose f 21 , f 22 , f 23 , f 24 are the inner faces of G 2 and let f 31 , f 32 , f 33 , f 34 , f 35 , f 36 be six neighboring faces of G 2 along the clockwise direction such that f 31 is incident with the two consecutive 2-degree vertices on ( G 2 ) (see Figure 2(c)). Then f G 2 = 2 + 4 = 6 .
Suppose that the proposition holds for any integer less than n, where n > 2 . According to the induction hypothesis, f G n 1 = n 2 n and f n 1 , f n 2 , , f n , 2 n be 2 n neighboring faces of G n 1 along the clockwise direction such that f n 1 is incident with the two consecutive 2-degree vertices on ( G n 1 ) . Suppose that f n 1 , , f n , 2 n are hexagons, pairwise different, and intersecting if and only if f n i , f n , i + 1 are intersecting at only one edge for i = 1 , 2 , , 2 n , f n , 2 n + 1 = f n 1 . Set G n = G n 1 { f n 1 , , f n , 2 n } . Suppose f n 1 , , f n , 2 n are all inner faces of G n (see Figure 3). Then f G n = n 2 n + 2 n = n 2 + n , n Z .
Proposition 2.
In all the (2,6)-fullerenes, there exists a fragment, say C n , such that f C n = n , n Z .
Proof. 
Let C 0 be a 3 × K 2 , then f C 0 = 0 . Let d 1 and d 2 be two 2-length faces. Its boundary ( d i ) is labelled v i 1 , v i 2 ( i = 1 , 2 ). Let P i be a path that connects two vertices v 1 i , v 2 i ( i = 1 , 2 ) and V ( P 1 ) V ( P 2 ) = . If both P 1 , P 2 are 2-paths, then as F is 2-connected, there is a hexagon, say f 1 , such that f 1 contains the paths P 1 , P 2 and the edges v 11 v 12 , v 21 v 22 . Set C 1 = d 1 d 2 f 1 , without lose of generality, suppose f 1 is the inner face of C 1 (see Figure 4(a)). Thus f C 1 = 1 . If both P 1 , P 2 are 4-paths, then all of whose internal vertices are denoted by x 1 , x 2 , x 3 and y 1 , y 2 , y 3 , respectively, such that P 1 = v 11 x 1 x 2 x 3 v 21 , P 2 = v 12 y 1 y 2 y 3 v 22 . Let x 2 y 2 E ( F ) , then there are 2 hexagons, denoted by f 1 , f 2 , such that ( f 1 ) = v 11 v 12 y 1 y 2 x 2 x 1 v 11 , ( f 2 ) = v 21 x 3 x 2 y 2 y 3 v 22 v 21 . Set C 2 = d 1 d 2 f 1 f 2 , also suppose f 1 , f 2 are two inner faces of C 2 (see Figure 4(b)), then f C 2 = 2 . Suppose P 1 , P 2 are 2 n -paths, n N + . Let P 1 = v 11 x 1 x 2 n 1 v 21 and P 2 = v 12 y 1 y 2 n 1 v 22 . Suppose that x i y i E ( F ) ( i = 2 , 4 , , 2 n 2 ), then there are n hexagons between P 1 and P 2 , denoted by f 1 , f 2 f n . Set C n = d 1 d 2 i = 1 n f i such that f 1 , f 2 f n are the inner faces of C n (see Figure 4(c)). Therefore, C n is a fragment and f C n = n , n N + . Thus there exists a fragment C n such that f C n = n , n Z .
Proposition 3.
In all the (2,6)-fullerenes, there exists a fragment, say L n m , such that f L n m = 2 n 2 + ( m + 3 ) n , n N + , m Z .
Proof. 
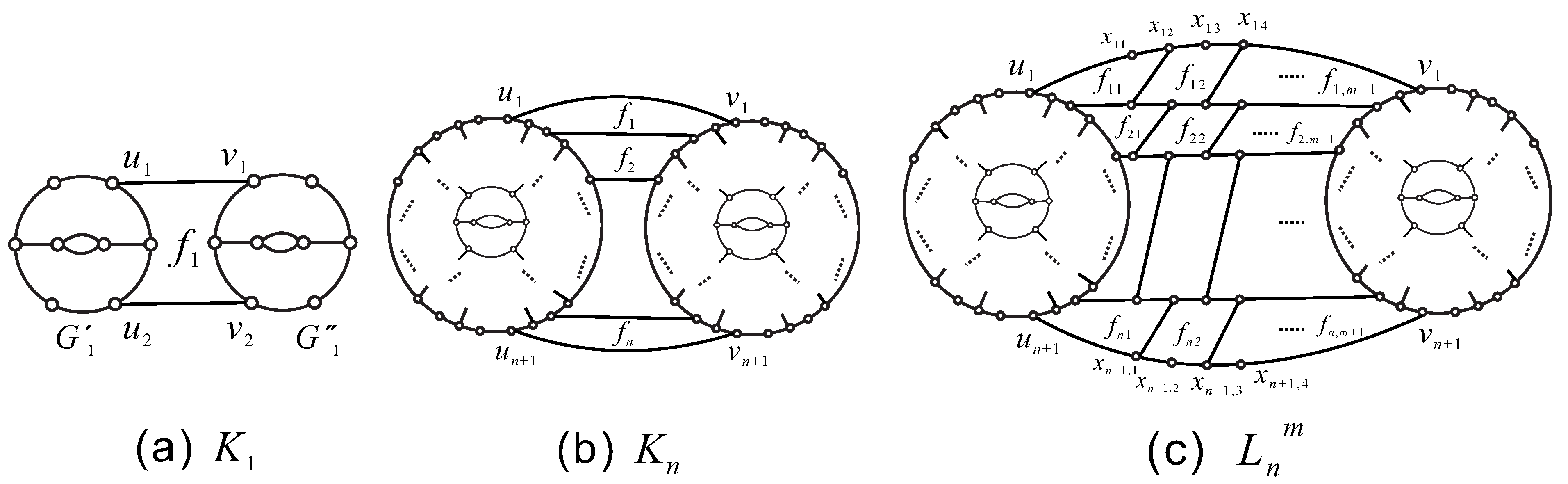
Let G n , G n be two fragments as indicated in Figure 3. By Proposition 1, we know that G n and G n both have n 2 + n hexagons. Suppose n is a positive integer. Since there are 2 n + 2 2-degree vertices on ( G n ) , we can record them clockwise as u 1 , u 2 , , u 2 n + 2 such that u 1 and u 2 n + 2 are adjacent. Similarly, 2 n + 2 2-degree vertices on ( G n ) are denoted by v 1 , v 2 , , v 2 n + 2 along the anticlockwise direction of G n such that v 1 and v 2 n + 2 are adjacent. For G 1 and G 1 . Let e 1 = u 1 v 1 , e 2 = u 2 v 2 , then e 1 and e 2 are contained in the hexagon, say f 1 . Set K 1 = G 1 G 1 f 1 (see Figure 5(a)), then f K 1 = 5 . For G n and G n . Let e i = u i v i , i = 1 , 2 n + 1 , then e i and e i + 1 are contained in the hexagon, say f i , i = 1 , 2 n . Set K n = G n G n i = 1 n f i , suppose all of f 1 f n are the inner faces of K n (see Figure 5(b), the embedding of K n ), then f K n = 2 ( n 2 + n ) + n = 2 n 2 + 3 n .
Next, we construct the fragment L n m from K n as follows. We replace each edge e i = u i v i by a path P i such that P i = u i x i 1 x i 2 x i , 2 m v i , i = 1 , 2 n + 1 , m Z . Suppose that x i 2 x i + 1 , 1 , x i 4 x i + 1 , 3 x i , 2 m x i + 1 , 2 m 1 be the edges of F, i = 1 , 2 n . Therefore, there are m + 1 hexagons between P i and P i + 1 , denoted by f i 1 , f i 2 f i , m + 1 , i = 1 , 2 n . Set L n m = G n G n i = 1 n { f i 1 , f i 2 f i , m + 1 } , m Z (see Figure 5(c), the embedding of L n m ). Therefore, L n m is a fragment and f L n m = 2 ( n 2 + n ) + ( m + 1 ) n = 2 n 2 + ( m + 3 ) n , n N + , m Z .
Proposition 4.
In all the (2,6)-fullerenes, there exists a fragment, say H n , such that f H n = 2 n + 2 , n Z .
Proof. 
Let H 0 F 6 be the ( 2 , 6 ) -fullerene with six vertices. Without lose of generality, suppose the exterior face of H 0 is a 2-length face with the boundary u 1 v 1 u 1 , and the remaining two 2-length faces are connected by an edge u 2 v 2 (see Figure 6(a) the embedding of H 0 and the labelling of u 1 , v 1 , u 2 , v 2 ). Next, we construct the fragment H n from H 0 as follows: we replace the two parallel edges u 1 v 1 and one edge u 2 v 2 by two paths P 1 , P 3 and one path P 2 such that P i = u i x i 1 x i 2 x i , 2 n v i , i = 1 , 2 , and P 3 = u 1 x 31 x 32 x 3 , 2 n v 1 , n N + . Suppose that x i 2 x i + 1 , 1 , x i 4 x i + 1 , 3 x i , 2 n x i + 1 , 2 n 1 be the edges of F, i = 1 , 2 . We construct n + 1 hexagons between P i and P i + 1 , denoted by f i 1 , f i 2 f i , n + 1 , i = 1 , 2 . Set H n = H 0 { u 1 v 1 , u 2 v 2 } i = 1 2 { f i 1 , f i 2 f i , n + 1 } such that f i 1 , f i 2 f i , n + 1 are the inner faces of H n , n N + (see Figure 6(b)). Therefore, H n is a fragment and f H n = 2 ( n + 1 ) = 2 n + 2 , n N + . Thus there exists a fragment H n such that f H n = 2 n + 2 , n Z .
By Propositions 1–4, we can find a ( 2 , 6 ) - fullerene F having f F hexagonal faces which related to the parameters n, m.
Theorem 7.
There exists a ( 2 , 6 ) - fullerene F such that f F = n 2 + 2 n , n Z .
Proof. 
Let G n be a fragment of F as shown in Figure 3. Its boundary ( G n ) is labelled u 1 , u 2 , , u 4 n + 2 along the clockwise direction, where u 1 and u 2 are two consecutive 2-degree vertices. Let C n be a fragment of F as shown in Figure 4(c). Its boundary ( C n ) is labelled v 1 , v 2 , , v 4 n + 2 along the clockwise direction, where v 1 and v 2 are two consecutive 3-degree vertices. Next assume the graphs G n and C n each drawn on a hemisphere, with the boundary as equator. If ( G n ) = ( C n ) , then set F = G n C n . By Propositions 1 and 2, then f F = f G n + f C n = n 2 + 2 n , n Z .
Theorem 8.
There exists a ( 2 , 6 ) - fullerene F such that f F = 3 n 2 + m 2 + 3 m n + 6 n + 3 m + 2 , n N + , m Z .
Proof. 
Let G m + n + 1 be a fragment of F as shown in Figure 3. Its boundary ( G m + n + 1 ) is labelled u 1 , u 2 , , u 4 m + 4 n + 6 along the clockwise direction, where u 1 and u 2 are two consecutive 2-degree vertices. Let L n m be a fragment of F as shown in Figure 5(c). Its boundary ( L n m ) is labelled v 1 , v 2 , , v 4 m + 4 n + 6 along the clockwise direction, where v 1 and v 2 are two consecutive 3-degree vertices. Next assume the graphs G m + n + 1 and L n m each drawn on a hemisphere, with the boundary as equator. If ( G m + n + 1 ) = ( L n m ) , then set F = G m + n + 1 L n m . By Propositions 1 and 3, then f F = f G m + n + 1 + f L n m = 3 n 2 + m 2 + 3 m n + 6 n + 3 m + 2 , n N + , m Z .
Theorem 9.
There exists a ( 2 , 6 ) - fullerene F such that f F = n 2 + 3 n + 2 , n Z .
Proof. 
Let G n be a fragment of F as shown in Figure 3. Its boundary ( G n ) is labelled u 1 , u 2 , , u 4 n + 2 along the clockwise direction, where u 1 and u 2 are two consecutive 2-degree vertices. Let H n be a fragment of F as shown in Figure 6(b). Its boundary ( H n ) is labelled v 1 , v 2 , , v 4 n + 2 along the clockwise direction, where v 1 and v 2 are two consecutive 3-degree vertices. Next assume the graphs G n and H n each drawn on a hemisphere, with the boundary as equator. If ( G n ) = ( H n ) , then set F = G n H n . By Propositions 1 and 4, then f F = f G n + f H n = n 2 + 3 n + 2 , n Z .

3. Conclusion

In this paper, we have obtained that every ( 2 , 6 ) - fullerene F is 1-extendable but not 2-extendable, 1-resonant and has the anti-Kekulé number 4 with | V ( F ) | > 6 . Moreover, every ( 2 , 6 ) - fullerene isn’t bicritical. At last, we prove that there exists a ( 2 , 6 ) - fullerene F having f F hexagonal faces, where f F is related to the two parameters n, m. There are, however, still several important open questions.
Problem 1.
Whether every ( 2 , 6 ) - fullerene is k-resonant ( k 2 ) ?
Problem 2.
Whether for every n 1 there exists a ( 2 , 6 ) - fullerene F such that f F = n ?

Acknowledgment

This work is supported by National Natural Science Foundation of China (grant no.11801148,11801149 and 11626089) and the Foundation for the Doctor of Henan Polytechnic University (grant no.B2014-060).

References

  1. T. Došlić. Cyclical edge-connectivity of fullerene graphs and (k,6)-cages[J]. Journal of Mathematical Chemistry 2003, 33(2), 103–112. [Google Scholar] [CrossRef]
  2. R. Yang, H. Zhang. 2-Resonant fullerenes[J]. European Journal of Combinatorics 2015, 49, 13–24. [Google Scholar] [CrossRef]
  3. R. Yang, H. Jia. Anti-Kekulé number of the {(3, 4), 4}-fullerene[J]. Frontiers in Chemistry 2023, 11. [Google Scholar]
  4. I. Gutman, O. E. Polansky. Mathematical concepts in organic chemistry[M]. Springer, Berlin, 1986. [CrossRef]
  5. X. Liu, D. J. Klein, W. A. Seitz, T. G. Schmalz. Sixty-atom carbon cages[J]. Journal of Mathematical Chemistry 1991, 12, 1265–1269. [Google Scholar] [CrossRef]
  6. N. Trinajstić. Chemical graph theory[M]. CRC Press, Boca Raton, 1992.
  7. B. Afshin, T. Došlić, S. Friedland. Matchings in m-generalized fullerene graphs[J]. ARS Mathematica Contemporanea 2015, 11, 301–313. [Google Scholar] [CrossRef]
  8. M. B. Ahmadi, V. A. Khorasani, E. Farhadi, Saturation number of fullerene and benzenoid graphs[J]. Match-communications in Mathematical and in Computer Chemistry 2017, 77, 737–747. [Google Scholar]
  9. T. Došlić. On some structural properties of fullerene graphs[J]. Journal of Mathematical Chemistry 2002, 31(2), 187–195. [Google Scholar] [CrossRef]
  10. W. C. Shiu, H. Zhang. A complete characterization for k-resonant Klein-bottle polyhexes[J]. Journal of Mathematical Chemistry 2008, 43(1), 45–59. [Google Scholar] [CrossRef]
  11. F. Zhang, L. Wang. k-Resonance of open-ended carbon nanotubes[J]. Journal of Mathematical Chemistry 2004, 35(2), 87–103. [Google Scholar] [CrossRef]
  12. T. Kaiser, M. Stehlik, R. Skrekovski. On the 2-resonance of fullerenes[J]. SIAM Journal on Discrete Mathematics 2011, 25(3-4), 1737–1745. [Google Scholar] [CrossRef]
  13. D. Ye, Z. Qi, H. Zhang. On k-resonant fullerene graphs[J]. SIAM Journal on Discrete Mathematics 2009, 23(2), 1023–1044. [Google Scholar] [CrossRef]
  14. F. Kardoš, R. Škrekovski. Cyclic edge-cuts in fullerene graphs[J]. Journal of Mathematical Chemistry 2008, 44(1). [Google Scholar] [CrossRef]
  15. T. Došlić. On lower bounds of number of perfect matchings in fullerene graphs[J]. Journal of Mathematical Chemistry 1998, 24(4), 359–364. [Google Scholar] [CrossRef]
  16. H. Zhang, S. Liu. 2-Resonance of plane bipartite graphs and its applications to boron-Cnitrogen fullerenes[J]. Discrete Applied Mathematics, 2010, 158(14), 1559–1569. [Google Scholar] [CrossRef]
  17. X. Jiang, H. Zhang. On forcing matching number of boron-Cnitrogen fullerene graphs[J]. Discrete Applied Mathematics 2011, 159(15), 1581–1593. [Google Scholar] [CrossRef]
  18. L. Lovász, M. Plummer. Matching theory[M]. New York: North-Holland Press, 1986.
  19. R. Yang, H. Zhang. Hexagonal resonance of (3,6)-fullerenes[J]. Journal of Mathematical Chemistry 2012, 50(1), 261–273. [Google Scholar] [CrossRef]
  20. H. Zhang, F. Zhang. Plane elementary bipartite graphs[J]. Discrete Applied Mathematics 2000, 105(1-3), 291–311. [Google Scholar] [CrossRef]
  21. J. A. Bondy, U. S. R. Murty. Graph theory[M]. New York: Springer,2008.
  22. Q. Li, W. Shiu, P. Sun, et al. On the anti-Kelulé problem of cubic graphs[J]. arXiv 2017, arXiv:1711.05398. [Google Scholar]
  23. B. Grünbaum, T. Motzkin. The number of hexagons and the simplicity of geodesics on certain polyhedra[J]. Canadian Journal of Mathematics 1963(15), 744–751. [Google Scholar] [CrossRef]
Figure 1. The (2,6)-fullerenes 3 × K 2 (a), F 6 (b).
Figure 1. The (2,6)-fullerenes 3 × K 2 (a), F 6 (b).
Preprints 85671 g001
Figure 2. The fragments G 0 (a), G 1 (b) and G 2 (c).
Figure 2. The fragments G 0 (a), G 1 (b) and G 2 (c).
Preprints 85671 g002
Figure 3. The fragment G n .
Figure 3. The fragment G n .
Preprints 85671 g003
Figure 4. The fragments C 1 (a), C 2 (b) and C n (c).
Figure 4. The fragments C 1 (a), C 2 (b) and C n (c).
Preprints 85671 g004
Figure 5. The fragments K 1 (a), K n (b) and L n m (c).
Figure 5. The fragments K 1 (a), K n (b) and L n m (c).
Preprints 85671 g005
Figure 6. The fragments H 0 (a), H n (b).
Figure 6. The fragments H 0 (a), H n (b).
Preprints 85671 g006
Disclaimer/Publisher’s Note: The statements, opinions and data contained in all publications are solely those of the individual author(s) and contributor(s) and not of MDPI and/or the editor(s). MDPI and/or the editor(s) disclaim responsibility for any injury to people or property resulting from any ideas, methods, instructions or products referred to in the content.
Copyright: This open access article is published under a Creative Commons CC BY 4.0 license, which permit the free download, distribution, and reuse, provided that the author and preprint are cited in any reuse.
Prerpints.org logo

Preprints.org is a free preprint server supported by MDPI in Basel, Switzerland.

Subscribe

Disclaimer

Terms of Use

Privacy Policy

Privacy Settings

© 2026 MDPI (Basel, Switzerland) unless otherwise stated