Submitted:
20 May 2025
Posted:
22 May 2025
Read the latest preprint version here
Abstract
Keywords:
1. Introduction
Research Question 1: What Made the Glock the Most Successful Handgun in the World Today?
Research Question 2: How Was the Glock Developed?
Research Question 3: What Broader Insights Can Be Drawn from the Development of the Glock Pistol?
2. Methods and Materials
3. Key Factors of the Glock Pistol in Defining the Dominant Design for Handguns
3.1. Resolution of a Long-Standing Key Usability Contradiction
- The striker spring – stores the energy required to ignite the primer when fully compressed.
- The trigger spring – assists in reducing the force needed to pull the trigger.
- (1)
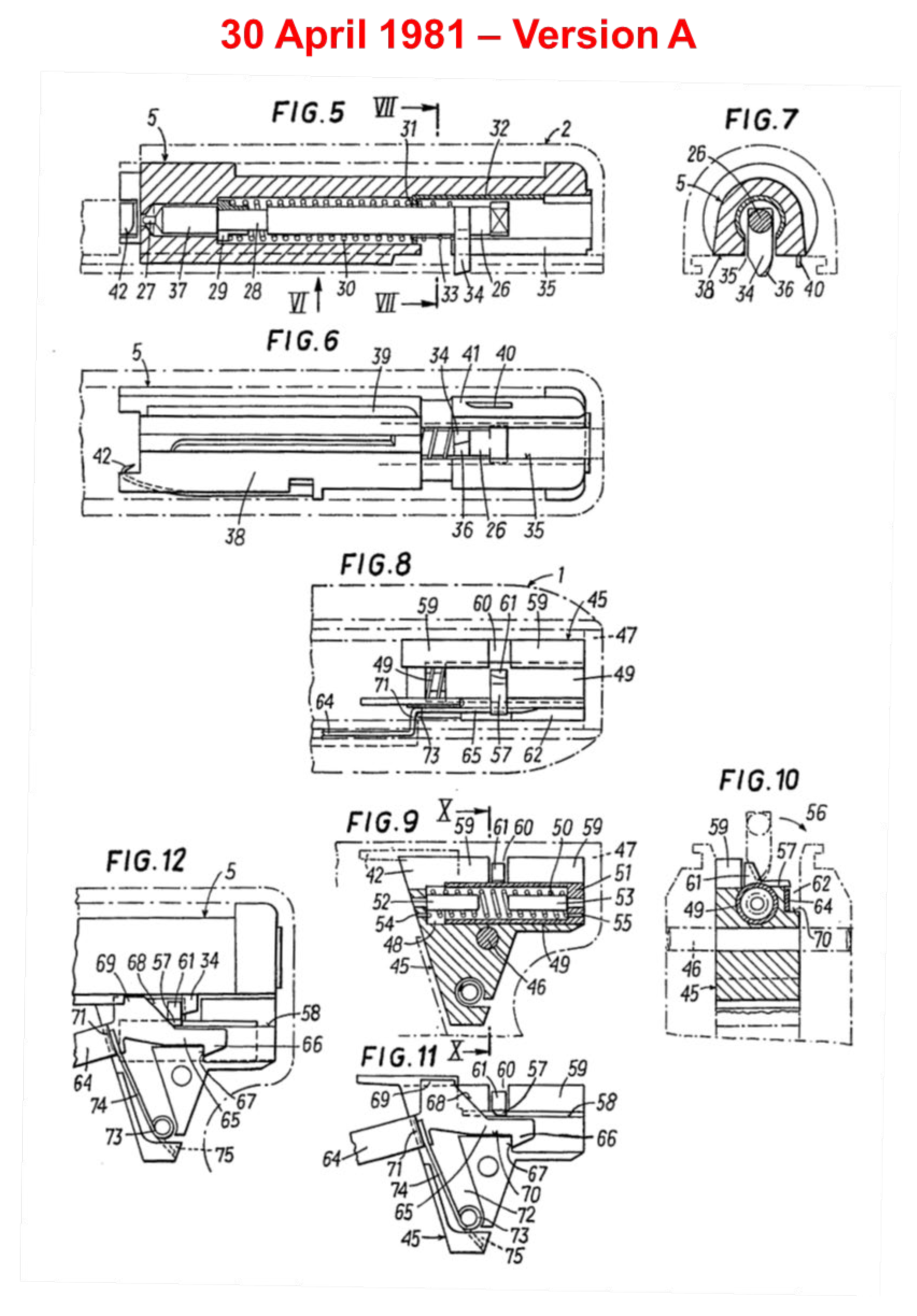
- Drop/Jar Safety: This mechanism prevents forward and downward movement of the trigger bar, thereby blocking release of the firing pin, which is retained by the rear end of the trigger bar. This is achieved by securing the left arm of the cruciform sear plate within a cutout in the trigger mechanism housing, which also serves as the forward stop for the trigger bar (Figure 7).
- (2)
- Trigger Safety5: This mechanism inhibits rearward movement of the trigger bar induced by inertial forces, i.e., the same motion that occurs during an intentional trigger pull. It also prevents accidental discharge resulting from lateral pressure on the trigger.
- (3)
- Firing Pin Safety: This mechanism consists of a spring-loaded plunger positioned in front of the firing pin, preventing forward movement of the firing pin (Figure 9) (see also Section 4.3, stage 3 of patenting).
3.2. Reciprocal Enablers – Innovation Emergence Through Synergistic Linkages
3.3. The Formal Aesthetics of the Glock Pistol
4. The Development Process of the Glock
4.1. The Key Person: Gaston Glock
4.2. User-Centered Problem Space Exploration
- Benchmarking and Reverse Engineering
- Patent Analysis
- Expert Interviews
- Analysis of Firearms Accident Reports
- Incorporation of the Lead User Method
- Elements of Design Thinking
- Empathy-Building with Future Users
4.3. Agile Development with Co-Evolution of Problem and Solution Space
4.3.1. Evolution of the Trigger System
-
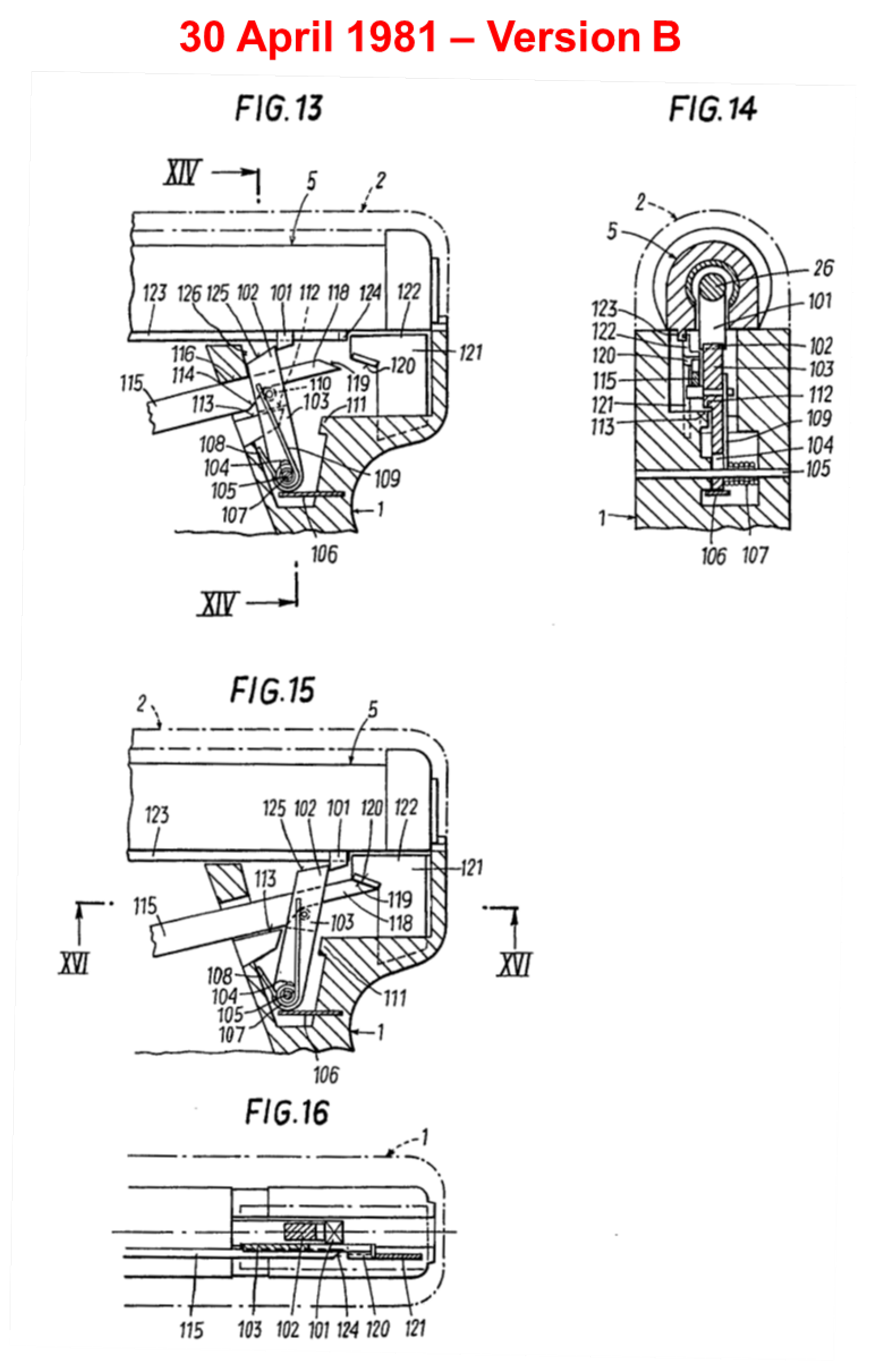
Stage 1: April 30, 1981Austrian patents: No. 368 807, No. 374 001, and No. 374 002
-
Stage 2: April 29, 1982European patents: No. 0 077 790 B1 and No. 0 154 356 A2U.S. patent: No. 4,539,889
-
Stage 3: April 8, 1983Austrian patent: AT 395 909 BStage 1: April 30, 1981 - Austrian patents: No. 368 807, No. 374 001, and No. 374 002
4.3.2. Results from Prototype Testing by the Austrian Military in 1981
4.3.3. Official Tender for Procurement and Adoption of the Glock Pistol as the New Service Weapon
5. Dominant Design and Disruptive Innovation: A New Model of Product Evolution
- ☐
- Effectiveness, which is the accuracy and completeness with which users achieve the specified goals, i.e., the intended effects of the human-product interaction system.
- ☐
- Efficiency, which is the relation between resources expended and effectiveness.
- ☐
- Satisfaction, which is “the users’ comfort with and positive attitudes toward the use” (Frøkjær et al., 2000) of the product.
- (1)
- Assessment: The creative entity must determine whether the increased usability necessitated by evolving environmental conditions can be achieved through an advancement of the existing embodiment design based on the dominant conceptual design, or whether a completely new conceptual design is required.
- (2)
- Solution Development: The appropriate solution must then be conceived and realized. If a new conceptual design is necessary, its development constitutes a significant act of creative innovation – one marked by high complexity and considerable challenges in successful implementation.
6. Summary and Conclusion
References
- Abernathy, W.J. and Utterback, J.M. (1978), “Patterns of Industrial Innovation”, Technology Review, Vol. 80 No. 7, pp. 41–47.
- Anderson, P. and Tushman, M.L. (1990), “Technological Discontinuities and Dominant Designs: A Cyclical Model of Technological Change”, Administrative Science Quarterly, Vol. 35 No. 4, pp. 604–633. [CrossRef]
- Barrett, P.M. (2012), Glock: The rise of America’s gun, 1. ed., Crown Publishers, New York.
- Barzun, J. and Graff, H.F. (2004), The modern researcher, 6. ed., Thomson/Wadsworth, Belmont, CA.
- Bayerischer Landtag (2019), Drucksache 18/4146.
- Botkin, I. (2023), “The History and FUTURE of Glock”, available at: https://www.youtube.com/watch?v=DIg6tay24YA.
- Brauer, J.M. (2013), The US firearms industry: production and supply, Working Paper, Small Arms Survey, Geneva.
- Brown, R.B. and Bartlett, R. (2023), “Are Canadian Street Cops Outgunned?”: The Debate over Police Handguns in the 1990s”, Canadian Journal of Law and Society / Revue Canadienne Droit et Société, Vol. 38 No. 2, pp. 245–265. [CrossRef]
- Creighton, K., “The Wonder of the Wonder Nine. The Wonder Nine: The Day The Future Began”, available at: https://www.ammoman.com/blog/the-wonder-of-the-wonder-nine/ (accessed 18 March 2025).
- Dickey, P. (1986), “The Glock 17 Pistol”, American Rifleman, Vol. 134 No. 5, 22–25, 77.
- Dosi, G. (1982), “Technological paradigms and technological trajectories”, Research Policy, Vol. 11 No. 3, pp. 147–162. [CrossRef]
- Eisenhardt, K.M. (1989), “Building Theories from Case Study Research”, The Academy of Management Review, Vol. 14 No. 4, p. 532. [CrossRef]
- Evans, W.N., Garthwaite, C. and Moore, T.J. (2022), “Guns and violence: The enduring impact of crack cocaine markets on young black males”, Journal of Public Economics, Vol. 206, p. 104581. [CrossRef]
- Flemisch, T., Lehmann, H., Matzner, M.V.D., Pohl, D. and Tröbs, L. (2023), “80.000 Songs analysiert. So erobern Glock-Pistolen die weltweite Popmusik”, Tagesspiegel, 23 May, available at: https://interaktiv.tagesspiegel.de/waffen/80-000-songs-analysiert-so-erobern-glock-pistolen-die-weltweite-popmusik/ (accessed 17 July 2023).
- Flynn, B.W. (2014), “Sometimes a gun is not just a gun”, Psychiatry: Interpersonal and Biological Processes, Vol. 77 No. 2, pp. 209–214. [CrossRef]
- Frøkjær, E., Hertzum, M. and Hornbæk, K. (2000), “Measuring usability”, In: Turner, T. and Szwillus, G. (Eds.), Proceedings of the SIGCHI conference on Human Factors in Computing Systems, The Hague The Netherlands, 01 04 2000 06 04 2000, ACM, New York, NY, USA, pp. 345–352. [CrossRef]
- Glock, G. (1977a), Übungshandgranate: Austrian Patent No. 354310.
- Glock, G. (1977b), Messer od.dgl.: Austrian Patent No. 356537.
- Glock, G. (1981a), Pistole: Austrian Patent No. 368 807.
- Glock, G. (1981b), Pistole: Austrian Patent No. 374 001.
- Glock, G. (1981c), Pistole: Austrian Patent No. 374 002.
- Glock, G. (1982a), Automatic Pistol with Counteracting Spring Control Mechanism: United States Patent No. 4,539,889.
- Glock, G. (1982b), Pistole: European Patent No. 0 077 790 B1.
- Glock, G. (1982c), Pistole: European Patent No. 0 154 356 A2.
- Glock, G. (1983), Pistole: Austrian Patent No. AT 395 909 B.
- Glock, G. and Kovarik, F. (1953), Sicherheitsventil für Dampfdruckkochtöpfe: Austrian Patent No. 180666.
- Glock Inc. (2018), GLOCK Armorer’s Manual, Smyrna, GA, USA.
- Grogger, J. and Willis, M. (2000), “The Emergence of Crack Cocaine and the Rise in Urban Crime Rates”, Review of Economics and Statistics, Vol. 82 No. 4, pp. 519–529. [CrossRef]
- Gummesson, E. (2017), Case theory in business and management: reinventing case study research, SAGE, Los Angeles, CA, USA.
- Howell, J.C. (2015), The history of street gangs in the United States: Their origins and transformations, Lexington Books, Lanham.
- Howell, J.C. and Decker, S.H. (1999), “The Youth Gangs, Drugs, and Violence Connection”, In: Office of Juvenile Justice and Delinquency Prevention (Ed.), Juvenile Justice Bulletin.
- ISO 9241-11 (2018), Ergonomics of human-system interaction - Part 11: Usability: Definitions and concepts.
- Joe-Laidler, K. and Hunt, G.P. (2012), “Moving beyond the gang-drug-violence connection”, Drugs (Abingdon, England), Vol. 19 No. 6, pp. 442–452. [CrossRef]
- Kaplan, S. and Tripsas, M. (2008), “Thinking about technology: Applying a cognitive lens to technical change”, Research Policy, Vol. 37 No. 5, pp. 790–805. [CrossRef]
- Kasler, P.A. (1992), Glock: The new wave in combat handguns, Paladin Press, Boulder, Col.
- Kersten, W. and Koppenhagen, F. (2002), “Systematische Ableitung modularer Produktarchitekturen”, PPS-Management, Vol. 7 No. 1, pp. 9–13.
- Kersten, W., Koppenhagen, F. and Meyer, C.M. (2004), “Strategisches Komplexitätsmanagement durch Modularisierung in der Produktentwicklung”, In: Spath, D. (Ed.), Forschungs- und Technologiemanagement: Potenziale nutzen - Zukunft gestalten, Hanser, München, Wien.
- Koppenhagen, F. (2011), “Verzahnte Produktentwicklung”, Industrie Management, Vol. 27 No. 5, pp. 13–16.
- Koppenhagen, F., Blümel, T., Held, T. and Wecht, C. (2021a), “Zeitliche und inhaltliche Konvergenz der Lösungsfindung als zentrale Herausforderung in hybriden Produktentwicklungsprozessen - eine empirische Analyse von Stanfords ME310-Prozessmodell”, In: Entwerfen Entwickeln Erleben in Produktentwicklung und Design 2021, 17.-18.06.2021, Prof. Dr.-Ing. habil Ralph H. Stelzer, Prof. Dr.-Ing. Jens Krzywinski, pp. 137–154. [CrossRef]
- Koppenhagen, F., Blümel, T., Held, T., Wecht, C. and Kollmer, P.D. (2021b), “THE CHALLENGING COMBINATION OF AGILITY AND CONVERGENCE IN HYBRID PRODUCT DEVELOPMENT PROCESSES: AN EMPIRICAL ANALYSIS OF STANFORD’S ME310 PROCESS MODEL”, Proceedings of the Design Society, Vol. 1, pp. 2991–3000. [CrossRef]
- Koppenhagen, F., Blümel, T., Held, T., Wecht, C.H. and Kollmer, P.D. (2024a), “Hybrid development of physical products based on systems engineering and design thinking: towards a new process model”, J. of Design Research, Vol. 21 No. 3/4, pp. 210–261. [CrossRef]
- Koppenhagen, F., Wecht, C.H. and Held, T. (2024b), “Disruptive Product Innovations: A New Definition and Seven Theses”, American Journal of Mechanical and Industrial Engineering, Vol. 9 No. 2, pp. 19–27. [CrossRef]
- Lidwell, W. and Manacsa, G. (2011), Deconstructing product design: Exploring the form, function, usability, sustainability, and commercial success of 100 amazing products, Rockport Publishers, Beverly, Mass.
- Machan, D. (2003), “Top Gun. Inside the secret and violent world of Gaston Glock, maker of the most popular firearm in U.S. law enforcement.”, Forbes business and finance, 31 March, pp. 64–67, available at: https://www.forbes.com/global/2003/0331/020.html.
- Manning, R. (2019), Glock reference guide, 2nd edition, Gun Digest Books, Appleton, WI.
- McNab, C. (2015), Glock: The world’s handgun, Amber, London.
- Messler, R.W. (2014), Reverse engineering: mechanisms, structures, systems, and materials, McGraw-Hill Education, New York.
- Mötz, J. and Schuy, J. (2013), Die Weiterentwicklung der Selbstladepistole I: Selbstladepistolen in Österreich-Ungarn bzw. Österreich 1914 bis heute, Österreichische Pistolen / Josef Mötz Joschi Schuy, Bd. 2, Mag. Mötz; Schuy, Laxenburg, Braunau am Inn.
- Novak, F. (2022), “Glock-Pistole: Der Mythos aus Deutsch-Wagram”, available at: https://noe.orf.at/magazin/stories/3162310/ (accessed 5 April 2025).
- Ofner, F. and Hausberger, E. (2018), Weapon of Choice: A dark trail of power, money, violence and politics.
- Österreichisches Bundesministerium für Landesverteidigung (1982), Einsparung von Erprobungskosten - Weitere Vorgehensweise No. BMLV Zl. 61/065/00-00/82-4.4.
- Otto, K.N. and Wood, K.L. (2001), Product design: techniques in reverse engineering and new product development, Prentice Hall, Upper Saddle River, N.J.
- Pahl, G., Beitz, W. and Wallace, K. (1996), Engineering Design, Springer London, London. [CrossRef]
- Phillips, S.W. (2021), “A historical examination of police firearms”, The Police Journal: Theory, Practice and Principles, Vol. 94 No. 2, pp. 122–137. [CrossRef]
- Recchia, C. (2022), “Disruptive Innovation and the Dominant Design”, available at: https://www.qad.com/blog/2022/06/disruptive-innovation-and-the-dominant-design (accessed 10 April 2025).
- Rittman, M. (2020), “How a Glock works”, available at: https://www.youtube.com/watch?v=V2RDitgCaD0 (accessed 5 May 2025).
- Roth, G. (1897a), Automatic Firearm: US Patent No. 616260.
- Roth, G. (1897b), Recoil-Operated Firearm: US Patent No. 616261.
- Sadowski, R.A. (2015), 50 Guns That Changed the World: Iconic Firearms That Altered the Course of History, Skyhorse Publishing Company Incorporated, New York.
- Sadowski, R.A. (2018), Book of Glock: A Comprehensive Guide to America’s Most Popular Handgun, Skyhorse Publishing Company Incorporated, New York.
- Sahal, D. (1981), Patterns of technological innovation, Addison-Wesley, Reading, Massachusetts, USA.
- Sodofsky, C. (2023), “The Rise Of The “Wonder Nine”. There was a time when 9mm semi-automatic pistols were not the default option for concealed carry.”, available at: https://www.shootingillustrated.com/content/the-rise-of-the-wonder-nine/ (accessed 18 March 2025).
- Srinivasan, R., Lilien, G.L. and Rangaswamy, A. (2006), “The Emergence of Dominant Designs”, Journal of Marketing, Vol. 70 No. 2, pp. 1–17. [CrossRef]
- Stake, R.E. (2010), The art of case study research, Sage Publ, Thousand Oaks, Calif.
- Stiefel, D. (1984), “Kunststoff und Stahl - die Glock 17”, Deutsches Waffen Journal, 20 Jg No. 8, pp. 964–969.
- Stretesky, P.B. and Pogrebin, M.R. (2007), “Gang-Related Gun Violence”, Journal of Contemporary Ethnography, Vol. 36 No. 1, pp. 85–114. [CrossRef]
- Sweeney, P. (2008), The Gun Digest Book of the Glock, 2nd ed., Gun Digest Books, Ioalo, WI, USA.
- Sweeney, P. (2013), Glock Deconstructed, Gun Digest Media, Iola, WI, USA.
- Tushman, M.L. and Rosenkopf, L. (1992), “Organizational Determinants of Technological Change: Toward a Sociology of Technological Evolution”, Research in Organizational Behavior, Vol. 14, pp. 311–347.
- Utterback, J.M. (1974), “Innovation in industry and the diffusion of technology”, Science, Vol. 183 No. 4125, pp. 620–626.
- Yin, R.K. (2018), Case study research and applications: design and methods, Sixth edition, SAGE, Los Angeles London New Delhi Singapore Washington DC Melbourne.
| 1 | A detailed discussion of the limitations of Christensen’s original definition of disruptive innovation, as well as the development of our own definition specific to physical products, which is used in this paper, can be found in Koppenhagen et al. (2024b). |
| 2 | According to official information from the Glock company when introducing their pistol, the trigger pull weight was adjustable between 2 kg and 4 kg (cf. Mötz and Schuy (2013). |
| 3 | The described cycle applies to Glock generations 1–4. In generation 5, however, the trigger spring, facilitating trigger movement, was redesigned as a compression spring guided by a rod (Glock Inc. (2018)). This modification was implemented because the hooks required for force application in tension springs represent potential weak points that can lead to fatigue fractures. The complex stress state at the hooks of tension springs does not allow for a reliable fatigue resistant design. Thus, tension springs should not be subjected to dynamic loads. In addition, compression springs require less installation space due to the absence of hooks. Despite this design change, the basic operating principle remains unchanged. |
| 4 | For a dynamic visualization of the Glock’s operating principle, see Rittman (2020). |
| 5 | The trigger safety was added shortly before the start of series production and is therefore absent from all three patenting stages discussed below. Notably, even the first official Glock information sheet on the new pistol did not include this feature (cf. Mötz and Schuy (2013, p. 533)). |
| 6 | Modifying the inclination of the connector’s cam surface provides an additional means of adjusting the force required to fire a shot during the second stage of the trigger pull. |
| 7 | The teniferation of the slide and the barrel was introduced in 1984. Starting with the 4th generation of the Glock, this process was replaced with gas nitriding. |
| 8 | Sources differ on whether the Glock consists of 33 or 34 parts, depending on varying definitions of what constitutes a distinct component. |
| 9 | The patent also mentions another version of the trigger system, in which the lever (103) from version B can be moved laterally out of the path of the firing pin’s downward extension. Since this version is essentially a combination of the two striker fired trigger mechanisms described, it is not explicitly detailed in the patent. |
| 10 | One contributing factor to this phenomenon was the type of ammunition used: due to multiple slide breakages during shooting with the Walther P38, only a 9 mm cartridge with reduced gas pressure was authorized for use with this firearm. As the Austrian Armed Forces maintained substantial stocks of this lower-pressure ammunition, one requirement for the new service pistol was that it should operate reliably with this cartridge as well. |
| 11 | For physical products, dominant designs and disruptive innovations are inextricably linked, as a novel dominant design disrupts the old one. Cf. Recchia (2022): “To talk about disruption, we must begin with what is being disrupted, the dominant design.” |
| 12 | Like the Glock, these pistols typically feature multiple, independently operating automatic safeties. From the perspective of systems theory, however, the trigger system of the Glock is inherently safer, as it stores only subcritical energy in the firing pin spring. |






























Disclaimer/Publisher’s Note: The statements, opinions and data contained in all publications are solely those of the individual author(s) and contributor(s) and not of MDPI and/or the editor(s). MDPI and/or the editor(s) disclaim responsibility for any injury to people or property resulting from any ideas, methods, instructions or products referred to in the content. |
© 2025 by the authors. Licensee MDPI, Basel, Switzerland. This article is an open access article distributed under the terms and conditions of the Creative Commons Attribution (CC BY) license (http://creativecommons.org/licenses/by/4.0/).